SDC LRFA1R Falcon DOR-O-MATIC REX Switch Kit Instruction Manual
Inductions
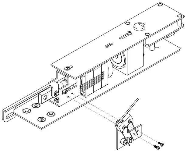
Attach the switch assembly to the ELR unit with the supplied screws as shown.
Route wires through the cable tie, along the side of the ELR and out.
WIRING SPECIFICATION
WHT= COM
YEL= N/C
ORG= N/O
5AMP @ 125VAC RESISTIVE
Support
Any suggestions or comments to this instruction or product are welcome. Please contact us through our website or email [email protected]
SECURITY DOOR CONTROLS
WWW.SDCSECURITY.COM
[t] 800.413.8783
805.494.0622
E-mail: [email protected]
801 Avenida Acaso, Camarillo, CA 93012
PO Box 3670, Camarillo, CA 93011



















