MOVE High-Speed Modular Microscope
User Manual
VERSION: 1.1
FIRMWARE 6.14

INTENDED USE
The product is a digital magnifying system consisting of a camera unit, Powerbox, mechanical parts, and power supplies. The product is intended for marketing worldwide and is designed for manual visual inspection.
WARNINGS
Read all safety information before you use the product.
Please pay attention when you see a warning label on the product.
This product is for indoor use only.
You must not discard this electrical/electronic product in domestic household waste.
Please dispose at your local recycling center.
- Read the manual before you use the product
- Use the product only as specified, or the protection supplied by the product can be compromised
- Do not position the equipment so that it is difficult to operate the disconnecting device (appliance inlet of external power supply, equipment input connector)
- If fluids are spilled on the product, turn the system off immediately by pulling the power supply out of the electrical outlet
- In case of fire close to the product, please turn off and disconnect the system
- Avoid subjecting the lens to sharp or hard objects
- Please do not connect the product, if visible damages appear
- Do not dismantle any parts of the product, except where noted in the manual
- Never disassemble or clean internal optical surfaces
- Use only the power supply provided by TAGARNO
- Always turn off the system before unplugging, when possible
TIPS
- When applicable, use both hands to move the XY Table
- When applicable, use both hands to adjust the height of the product
- Avoid touching the lens
LASER POINTER WARNING
This product is equipped with a red laser pointer to enable easy alignment of the camera and areas of interest during the inspection process.
This product is a Class 2 laser product that complies with the IEC60825-1 international standard for lasers.
CAUTION
Follow these safety instructions when using the product.
- Never look directly into the laser aperture
- Do not point towards anyone deliberately
- Leave the laser on only when necessary
- Always turn off the power during service and maintenance
- Service may only be performed by trained personnel appointed by TAGARNO
These labels appear visible on the product:
This label is placed near the laser aperture
The label below is placed on the camera head

YOU HAVE RECEIVED
DELIVERY (1/2)
Please note that the content of your delivery will vary depending on whether you have purchased a complete MOVE microscope or a MOVE Upgrade kit to an existing ZAP microscope.
RECEIVED WHEN PURCHASING MOVE AS A COMPLETE MICROSCOPE

DELIVERY (2/2)
RECEIVED WHEN PURCHASING A MOVE UPGRADE KIT

ASSEMBLING – MOVE
ASSEMBLING | MOVE (1/3)
NB: If you are purchasing a MOVE Upgrade kit for an existing ZAP, we refer to the next section.
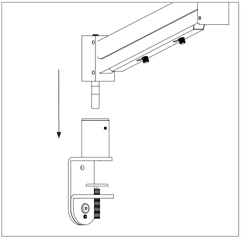
Mount the table mount using the table clam. Assemble the bottom of the flex arm and the table mount.
NB: For maximum stability at all magnfication levels, make sure to mount the microscope on a sturdy table.
Mount the height adjustment wheels to the camera head with two of the four provided screws. Then, adjust the position of the height adjustment wheels and secure them to the camera head with the two remaining screws.
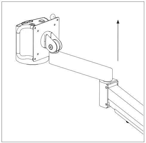
Mount the microscope to the top of the flex arm using the VESA bracket, screws, and handles.
Assemble the flex arm by slotting the two arms together.
Press the cables into place in the slot on the flex arm and secure them by screwing the cable holder into place on top.
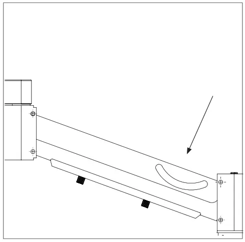
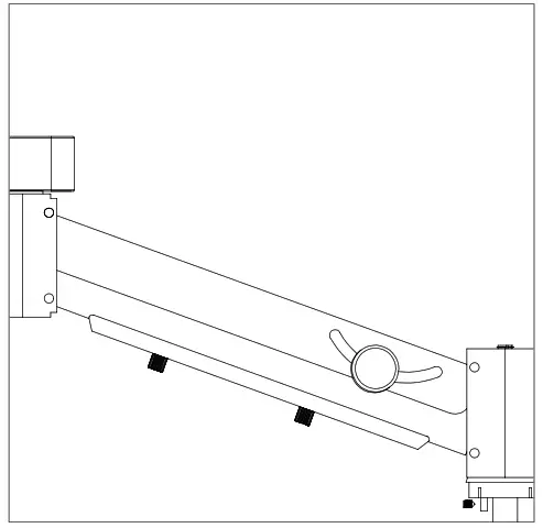
To increase stability, adjust the flex arm weight with the included Allen key. Turn it clockwise to decrease stability or counterclockwise to increase stability.
For extra stability in locked positions, remove the rubber covering on the side of the flex arm.
Then, use the included finger screw to lock vertical movement.
For further stability, tighten screws in numbered areas.
IMPORTANT U.S.-only information: Laser beam attenuator mounted.
Unmount the lens protection cap when using this microscope.
ASSEMBLING – MOVE UPGRADE KIT
Release the cables from the flex arm by unscrewing the cable holder.
Disassemble the flex arm by pulling the two arms apart.
Unmount the microscope from the flex arm by unscrewing the four screws on the back of the flex arm head. This will also unmount the handles.
Unmount the camera head from the VESA bracket by unscrewing the four screws on the back of the VESA bracket.
Mount the height adjustment wheels to the camera head with two of the four provided screws. Then, adjust the position of the height adjustment wheels and secure them to the camera head with the two remaining screws.
Mount the microscope to the top of the flex arm using the VESA bracket, screws, and handles.
Assemble the flex arm by slotting the two arms together.
Press the cables into place in the slot on the flex arm and secure them by screwing the cable holder into place on top.
CONNECTING

| Wire | Description | Type | Connect to | Specification |
| 1 | Power supply (DC) | DC Jack | Power socket | Input: Protection class I Overvoltage category II Input: 100-240V |
| 2 | Control box | D-SUB 9-Pin Female | Control box | Output: 3.3V |
| 3 | Ethernet | RJ-45 | Ethernet wall socket | Ethernet LAN, 100BASE-TX/1000BASE-T |
| 4 | USB 3.0 output | Type A | Camera head | Output: 5V |
| 5 | Output option #1 | HDMI Standard Type A | Monitor | HDMI Out 1080p60 |
| 6 | Output option #2 | DisplayPort Full Size | Monitor | DisplayPort Out 1080p60 |

OPERATION
Place the camera arm at the appropriate height according to the lens you are using.
Distance from table mount to camera focus point ranges from 623mm with Lens +3 to 668mm with Lens +10.
Rotate the camera sideways or up and down to secure the best view of your sample. The camera can be angled +/- 180 degrees in all directions.
NB: Adjust rotation tension by adjusting the screws highlighted and numbered in the Flex arm assembly section.
Turn off/on
Laser on/off
(WARNING! Laser radiation when turned on)
Power on/off.
XPLUS FHD Control box for TAGARNO FHD functions.
Do only connect equipment distributed by TAGARNO.
Dimensions
H: 45mm/1.8″ | W: 120mm/4.7″ | D: 150mm/5.9″.
On-screen display (OSD)
The on-screen display provides you with the relevant information when you push a button on the control box or Setup menu.
For instance, if you change the level of magnification, the white balance, iris, etc. In this way, you always know which function you are activating and which parameters you are using.
Zoom
+Push this button on the control box to zoom in.
– Push this button on the control box to zoom out.
The magnification level will show via On Screen Display.
NB: It’s also possible to zoom in/out by using Ctrl + the plus or minus key on a keyboard.
Manual and Auto exposure mode
Open the current exposure mode menu with key arrows up and down in standard magnification mode or any active application. Then, navigate the menu with arrows up and
down and adjust each setting with key arrows left and right.
Switch between Manual and Auto exposure modes with a short press of the round center button.
In Manual exposure mode, you can manually adjust the iris, gain, and exposure time with key arrows left and right.
Activate advanced camera settings in the microscope camera settings to also enable contrast, saturation, sharpness, and noise reduction adjustment.
These settings will also be activated in Auto exposure mode.
Otherwise, exposure compensation is the only setting visible. Iris, gain, and exposure time will automatically be adjusted to recommended settings and cannot be adjusted in this mode.
Wait a few seconds for the menu to close and save your settings.
Manual focus
Turn autofocus off by pushing both zoom buttons (plus and minus) on the control box at the same time until you hear a beep. You can now adjust focus manually with the help of the zoom buttons.
+ Push this button on the control box to adjust focus if you wish to focus on something very close.
– Push this button on the control box to adjust focus if you wish to focus on something that is farther away.
To turn the autofocus on again, simply push both zoom buttons (plus and minus) at the same time until you hear a beep. The focus values will show via On Screen Display.
NB: It is not possible to adjust Manual focus in the following applications as they are reliant on the Ruler application: DXF overlay, Particle analyzer, Speck counter, Color analyzer, and PNG reference.
Setup menu
Access the Setup menu by pressing the round center button for 1 second. See the separate section regarding the Setup menu.
Snapshot function
To take a picture and transfer it to USB or your microscope’s internal storage, press the image capture button until you hear a beep. Long press on the same button will save an
image with graphics, causing the live image to freeze for a few seconds. This button also turns Auto Snapshot on/off when activated via the Setup menu.
When taking a picture, an information window will appear for a few seconds showing the file name and storage location.
NB: A snapshot can also be captured by using the keyboard shortcut Ctrl + S.
Save image on a USB memory stick
The image will be saved on the inserted USB memory stick.
However, if your USB memory stick is not compatible with your microscope, a pop-up warning will instead ask you to format your USB memory stick (for more information, see section 4 in Setup Menu).
When clicking OK, a second pop-up will ask you to confirm your selection. All files on the USB memory stick will be deleted once formatting begins. Formatting time will vary.
Press the image capture button again to take a new photo and save it directly to your USB memory stick.
Save the image on the microscope
If a USB memory stick is not attached, the image is saved internally on the microscope, provided the share file mode is turned on.
Otherwise, an error message will appear and you are not able to save images.
To access saved files, see the manual section ACCESS SAVED FILES.
Preset Function
To save a favorite setting, press the “P” button.
A Preset Manager menu appears. Here you can choose which of the 10 presets to use/overwrite. This is done by marking and clicking the right-hand icon to save the given
preset. To prevent users from accidentally overwriting a saved preset, lock presets in the microscope general settings.
To use a preset, simply press “P” on the control box and press the center button to choose the preset you want to recall. Alternatively, use key numbers 0-9 on a keyboard or Numpad.
The preset values will show via On Screen Display.
491190 – Folie til XPLUS FHD – 13-06-2017
To rename a preset, choose the given preset in the Preset Manager and press F2. Complete the renaming by pressing “Enter”. Please note that presets can be renamed regardless of whether the presets are locked or not.
Laser pointer (TAGARNO FHD TREND)
Press this button to turn the laser pointer on/off.
You will hear a warning when turning the laser pointer on.
NB! Never look directly into the laser pointer. The laser pointer can only be used with lenses +3, +4, and +5.
If you are using another TAGARNO unit than TAGARNO FHD TREND, a window on the screen will provide you with information.
Light on/off
Press and hold this button to turn the light on/off.
Application shortcut
Program an individual application shortcut by long-pressing the button and choosing a listed application.
You are now able to quickly access this application by short-pressing the button.
Factory default directs to the Ruler application with both horizontal og vertical ruler activated.
Multi-Function Buttons
When the Setup menu is deactivated, you are able to use the Multi-Function Buttons to control the iris, gain, and exposure time.
Press the center button to switch between auto and manual exposure modes.

When using a keyboard, you can use the shortcuts below to operate your digital microscope.
NB: These shortcuts only work when you are not using one of the applications or renaming a photo.
Open the menu and navigate the menu (arrows)
Use the up and down arrows to open the microscope menu. These arrows can also be used to move up and down the menu.
Use the right and left arrows to choose between the different settings in the microscope menu.
Activate an application or submenu by pressing Enter. If you have selected Exit, pressing Enter will close down the menu.
Activate presets (number keys 0-9)
Using number keys 0-9 will activate Preset 1 to 10. Press number key 1 to activate Preset 1, key 2 to activate Preset 2, and so on. Press the number key 0 to activate Preset 10.
Zoom (Ctrl + plus / minus)
Using Ctrl + the plus or minus key on a keyboard will allow you to zoom in or out without using the XPLUS control box.
Snapshot (Ctrl + S)
As an alternative to using the Snapshot funtion on the XPLUS control box to capture an image, use Ctrl + S.
NB: The applications may have app-specific shortcuts as well. To learn more about these, we refer to the application manuals.
CAMERA HEAD CONFIGURATION
To switch between TAGARNO ZAP and TAGARNO MOVE configuration, perform a camera head configuration.
To start the configuration please follow the steps below.
- Make sure that the power box is turned on and connected to TAGARNO ZAP
- Power of TAGARNO ZAP
- Press and hold the four arrow keys on top of the camera head
- While holding the keys, power on the ZAP

- Let go of the arrow keys when a popup window appears on the screen

- In the popup window select the MOVE option
– use the arrow keys and center button on the XPLUS control box to navigate and select - Follow the instructions on the screen and wait until the system has completed the changeREVERT CONFIGURATION
To revert back to the ZAP configuration, follow steps 1 – 5 above and then continue with steps 6 and 7 while selecting the ZAP option in the popup window in step 6.
The setup menu in your TAGARNO FHD microscope provides you with 2 entrances to set up your microscope exactly as you like it.
Access the Setup menu by holding the round center button on the XPLUS FHD control box until the Setup menu appears.
The Setup menu contains 6 submenus:
- Camera settings
- General settings
- Applications
- Files
- Information
- On/off
To navigate in the set-up menu, use the multi-function buttons on the control box.
When applicable, sliding the button to the right will activate the feature. Sliding the button left will deactivate the function.
Exit setup menu
You can always exit the setup menu by pressing the center button on the control box for 1 second or by choosing Exit in the Setup menu.
The same procedure is valid regardless of the menu option accessed.
CAMERA SETTINGS
- White balance calibration
Perform an automatic white balance adjustment in order to get colors displayed correctly on the screen. There must be a white object present in the camera’s field of view when the white balance is being adjusted. White balance calibration is made each time the camera is turned on to adjust to the given light conditions. NB: If the camera’s field of view does not contain a white object, when the unit is turned on, the white balance will be incorrect and it will be necessary to perform the white balance adjustment process as described previously. - Optimal working distance
This setup works in 2 steps and needs to be carried out on a flat surface. Follow the on-screen directions to find the optimal working distance. The magnification settings prior to the performance will be restored. - Close-up Lens
Indicate which lens is mounted on your TAGARNO microscope, to get the right magnification levels displayed in the On Screen Display when zooming in and out. - Start magnification
Choose the start magnification level you want your TAGARNO microscope to automatically set when turning your system on. - Lock magnification
Lock your magnification level, so your microscope is always working at your start magnification level and you are not able to manually zoom in/out. - Advanced camera settings
When activated, the advanced camera settings can be modified in detail for optimum visual inspection result. Deactivated by default. - Wide dynamic range
When this option is selected and auto exposure mode is active, the camera uses individual exposure settings for dark and light areas. This option can be useful to reduce glare when inspecting reflective objects.
NB: If the camera live image is grainy, increase Exposure compensation in Auto exposure mode. - Picture flip
Select if you want to display your image on the screen as placed below the camera or flip it 180 degrees. - IR filter
Turn the Infrared filter off when using the Infrared ring light.
To use regular ring lights turn the Infrared filter on. - White balance calibration at LED light change
Switch on if you want an automatic white balance calibration to be performed when the LED light is changed. Deactivated by default.
Switch off if you do not want an automatic white balance calibration to be performed when the LED light is changed. - Image format
Choose between different image formats when saving an image.
Available formats are TIFF, PNG, JPG, or BMP.
NB: The following EXIF data are included when saving images in .jpg format: Brand and model of the microscope, creation date, serial number, and field of view. Any annotations added in the Measurement application are also included here. - Image prefix
Replace the default image prefix (img_) preceding the date and time stamp in the filenames of captured images. This feature requires an attached keyboard. - Assign image name
When this setting is active, the microscope will prompt for an image name before storing a captured image.
NB! When using an attached scanner to name captured images on this microscope we advise that the scanner is connected directly to one of the two USB ports on the microscope.
It is not recommended to connect the scanner to an attached USB Hub unless it has been thoroughly tested. The communication through some hubs can unfortunately introduce data loss resulting in one or more random characters missing in the scanned image name. - Image preview
This feature allows users to quickly inspect and capture images of new samples. When an image is captured the default behavior is to preview the image at the center of the display for 5 seconds. Image preview can now be disabled, which will display a more discrete text box for 3 seconds.
GENERAL SETTINGS

- Ruler color
Set the ruler color to your preferred color choice to separate it from your displayed object. Choose between 6 different colors: Yellow, Blue, Red, Black, White, and Green. The chosen color will also be used in the Verification Lines app (see section 3, APPLICATIONS). - Auto power off
Choose when the microscope should automatically shut down after a period of inactivity. Select between: Never, 1 hour, and 3 hours. - Lock presets
When this feature is enabled, users are prevented from accidentally overwriting presets in the Preset manager.
The XPLUS control box can therefore simply be removed. The operator can instead use an attached numerical USB keyboard to operate the digital microscope. - File share mode
Activate File share mode to save images to the internal storage of the microscope. The images can then be accessed via computers on the same network as the microscope.
To access photos saved on the internal storage, see section ACCESS
SAVED FILES.
NB: To minimize security risk, it is highly recommended to disable SMB 1.0 support on any Windows-based operating system on your corporate network. You do this by accessing Programmes and Features in your Control Panel. v - Auto capture mode
To automatically capture images at a certain interval, activate the auto image capture mode. - Auto interval
Set the function to automatically capture images at a certain interval.
Intervals start from 2 seconds and up. Start/stop the interval capturing by pressing the image button on the control box. - Monitor auto detect
Turn off to manually set monitor width - Monitor width
Manually set your monitor width, if you do not wish to use the automatic monitor auto-detect, which is enabled by default. This automatically changes the magnification level shown in the OSD. Please note that manually changing the Monitor width while Monitor auto-detect is enabled, will disable the Monitor auto-detect function. - System units
Choose to display metric or imperial units when using the microscope. - Numeric format
Here you can select the numeric format based on your preference.
Choose between 1,234.56, 1.234,56 or 1 234,56. - System language
The following languages are available as system languages:
Chinese, Danish, English, French, German, Hungarian, Italian, Japanese, Korean, Polish, Romanian, Russian and Spanish. - Keyboard layout
Select your horizontal language by pressing buttons left or right on the XPLUS control box. The available languages are listed alphabetically.
The microscope is by default set to GB. The available languages are:
AF, AL, AT, BE, BR, BW, CA, CD, CZ, DE, DK, EE, ES, FI, FR, GB, HR, HU, IS, IT, LT, LV, ME, MT, NL, NO, PH, PK, PL, PT, RO, RU, SE, SI, SK, SN, TZ, US,
VN and ZA. - Footswitch configuration
With this function, you can choose between Zoom Only and Zoom/ Focus on the foot switch.
Zoom/Focus is the default configuration. Setting the option to Zoom Only allows you to zoom in/out with the foot switch, even if the microscope is set in Manual focus mode by the control box. - Scale bar
The scale bar indicates the size of an inspected object. The scale bar will operate in standard magnification and in all activate applications, except for Verification lines and Measurement applications. The scale bar will adjust to match the current magnification level. Activated by default.
NB: The scale is approximate and does not take lens distortion into account. - Time
Set the current time, which will affect the time stamp when saving images. Please also see note below pt. 16. Date. - Date
Set the current date, which will affect the date stamp when saving images.
Note: The real-time clock (time and date as described above) has a limited retention time of approximately 12 hours and is dependent on the main switch not being switched off. If the Powerbox has been without external power for more than 12 hours, it will be necessary to set the time/date correctly again.
To prevent losing the date/time, use only the standby button at the front of the Powerbox or the Power off the menu when switching the unit off.
When the clock is unset, a clock icon will be flashing in the status the window of the screen:
TIP!
Find the application manuals here: www.tagarno.com/productmanuals
APPLICATIONS
30-day trial license
Select any of the unlicensed applications to start your 30-day trial license. This allows you to test the apps for free for a period of 30 days.
You can see the state of the Trial license in the System Information of the microscope.
Once the trial license has ended, only purchased licenses will remain available. You can of course purchase full access to all apps by contacting your distributor.
Manuals and videos
Go to www.tagarno.com/productmanuals to find application manuals and tutorial videos.
- Focus stacking
In the Applications menu point, you are able to turn on the Image Focus Stacking feature, enabling you to stack images with different focuses on top of each other, creating one ultra-sharp image.
For more info, see the manual section STANDARD APPS. - Measurement application
This application enables you to perform precise measurements such as line, radius or angle measurements directly from the microscope. - Ruler
Turn the Ruler application on horizontally, vertically, or in both directions, and get a ruler displayed on top of your live image on the screen.
For more info, see the manual section STANDARD APPS. - Watermark
Create an info field on captured images with an image prefix, time stamp, horizontal field of view, microscope model plus serial number, and/or import and add a custom-defined watermark. The watermark will then appear on all captured images.
For more info, see the manual section STANDARD APPS. - Verification lines
This application provides you with an opportunity to quality check objects based on accurate calibrated measures by placing vertical and/ or horizontal lines as a layer on top of your object, directly from the microscope. - Image analysis
Choose one of the three Image Analysis apps in the drop-down menu when entering this application: Color analyzer, Particle analyzer, and Speck Counter. - Image comparison
The app enables you to compare a sample or live image to a reference image in various ways. - DXF overlay
Import a DXF file and add it as an overlay on top of your live image. You can also search for component names in the DXF file with this app. - PNG reference
Import a PNG file and add it as an overlay on top of your live image. The PNG file can be recalled via the Preset feature.
FILES
File manager
Access files stored on the microscope or a connected USB memory stick directly on the microscope. Rename, search, copy, move (from folder to folder or from USB memory stick to internal storage and vice versa) and delete files, all without using a computer.
Images (captured on or transferred to the microscope) can be viewed in full screen or preview mode. The latter allows the images to be used as a reference for future inspections.
NB: If the DXF overlay app is available, selecting a DXF file will open the DXF overlay app with the selected DXF file.
Changes to preview mode
In preview mode, the entire photo will be visible in a small window. The display scale is visible in the top left corner of the preview window.
Resize the window with the mouse if needed.
Change the display scale of the photo with the scroll wheel on the mouse or right-click on the area of the photo you want to see in scale 1:1. Use scroll bars or drag the photo with the mouse to adjust what is visible. It is also possible to zoom in further by using the scroll wheel again.
Right-click during scale 1:1 display to return to default preview display mode or right-click at scales higher than 1:1 to return to scale 1:1 display.
Navigation
Navigate the File manager menu with the XPLUS control box or with a mouse or keyboard (if connected). For navigation help, press the “P” button on the XPLUS control box or press F1 on the keyboard to open the help window in the bottom left corner of the monitor. Similarly, hover over the menu icons with the mouse to show tooltips.
NB: When File manager is open, it is not possible to change the magnification level or short pressing the Image capture button on the XPLUS control box to save photos without graphics. Long pressing this button to save with graphics is however still supported.- Storage information
When choosing this function, an information window will show the internal storage capacity on the microscope and, if connected, the USB memory stick. - Format USB storage
This TAGARNO FHD device is designed to only support USB storage with a FAT32 formatted file system. If your USB storage does not currently have this file system, use this function to format the USB storage. A second pop-up will ask you to confirm your selection. Please notice that all files on the USB memory stick will be deleted once formatting begins. Formatting time will vary.
INFO
NB: An orange dot next to to the Info menu icon indicates that a new firmware is available and a system update should be performed.
- System information
This enables you to see the model number, serial number, firmware versions, URL path to download the latest firmware and product manuals, state of the Trial license, all permanently installed licenses, and other information about the product. - Check for updates/Install updates
Check for available firmware updates if the microscope is connected to a network. If a new firmware version is available for installation, see the separate section about the System updates for more information.
If the microscope has already detected that a new firmware update is available, the text will change from Check for updates to Install updates and an orange dot will appear next to it. - System update
See the separate section about the System updates. - Restore factory default settings
Restore the system to the factory default settings, all your personal settings will be erased, including calibrations and images.
5. Ruler calibration
Perform a linear calibration of the Ruler app using printable TAGARNO calibration rulers if the mounted lens is not available in the microscope camera settings. If calibration is not performed, the Ruler app will be inaccurate.
Supported lenses are +3, +4, +5 or +10.
NB: Make sure to use the calibration ruler matching the mounted lens as different lenses require different rulers.
NB: The system can only support one +10 lens at a time.
OFF

- Power off
Turn the TAGARNO microscope off.
Menu options, layout, and messages might slightly vary from one version of this microscope to another. Please contact your TAGARNO distributor if you have any questions regarding your TAGARNO microscope.
STANDARD APPS
FOCUS STACKING
With Focus stacking, you can stack images with different focuses on top of each other to create one ultra-sharp image.
- Magnification level
Set the magnification level of choice by using arrows up or down.
The actual magnification level is displayed inside the zoom option and
can also be typed if a keyboard is connected.
Plus/minus buttons on the control box are active as an alternative to
using the onscreen zoom menu point. - Focus 1: Focus setting far
Manually set focus to the part of the object farthest away. - Focus 2: Focus setting near
Manually set focus to the nearest part of the object. - Steps
Choose a number of images to stack between 5 and 50.
Available intervals: 5, 10, 15, 20, 30, 40, 50 - Quality
• Normal: This is the default fast mode with a typical
processing speed of 8 seconds for 15 images.
• High: In this mode, the processing speed is reduced and
15 images can take up to 13 seconds.
By extending the image processing time, visual artifacts are reduced
and the image quality increased. - Start
Press Start to start the process. Wait until the menu displays Done. - Save image
Choose this option to save the image. The image save settings will adapt from the setup chosen from the general camera settings.
To access saved files, see the manual section ACCESS SAVED PHOTOS. - Exit
Close application.
NB: Long pressing the center key on the control box will close the Focus stacking application or cancel an ongoing focus stacking.
All current settings used during Focus stacking, except zoom level, are persisted during power down.
RULER
With Ruler, you can add vertical and/or horizontal rulers in a variety of colors on top of your live image.
Get started with the app
Before using the application, make sure to specify which lens is currently mounted on the microscope in the microscope camera settings.
If the mounted lens is not available in the microscope camera settings, please perform a ruler calibration. For more information, see section 4 in SETUP MENU.
Ruler direction
Turn the Ruler application on in the Applications menu with the left and right arrow buttons on the XPLUS control box. Choose between Horizontal, Vertical, or Both.
Turn off
Turn the ruler off by once again accessing the Ruler option under the Applications menu point and choosing Off.
System units
Choose your preferred system units (metric or imperial) under the General settings menu point in the setup menu.
Ruler color
Set the ruler color to your preferred color to separate it from your displayed object. Go to the Ruler color option under the General settings menu point in the setup menu.
Choose between 6 different colors: Yellow, blue, red, black, white, and green.
Manual focus setting
When the Ruler is chosen, the system will automatically start in a manual focus setting to focus on the part of the object furthest away.
If needed, manually adjust the focus by adjusting the height of the microscope to get the desired object in focus. Then, use the zoom-in and zoom-out buttons to fine adjust the focus.

If encountering problems finding focus, please use “Optimal Working Distance” in the microscope camera settings menu, before using the Ruler app.
Save images with or without graphics
It is also possible to save an image with the Ruler graphics by long pressing the image button on the control box.
Short-pressing the button will save the image without graphics.
To access saved files, see the manual section ACCESS SAVED PHOTOS.
WATERMARK
With Watermark, your saved images will have an info field containing specifications from the time of use (time stamp, horizontal field of view, microscope model, and serial number) and/or a custom-defined watermark (e.g.: logo or CONFIDENTIAL).
When activated, the watermark will appear on all captured images.
Creating a Watermark
To use Watermark, create a PNG file that measures 1920x1080px and give it a file name ending with “.png”. We recommend using GIMP, which is a free graphics editor, or Adobe Photoshop.
Enable or disable all settings
Choose to enable or disable all watermark settings at the same time.- Enable or disable the info field
Enable or disable an info field, automatically stating an image prefix (default or as stated under Camera settings), timestamp, horizontal field of view plus microscope model, and serial number. - Enable or disable a custom watermark
Choose to enable or disable the latest imported custom watermark. - Import a custom watermark
At this stage, you are able to import a custom watermark by inserting a USB memory stick into the microscope containing a watermark file.
It is possible to import only one custom watermark at a time. This means that if you wish to change the current watermark, you need to follow the steps above to import a new watermark.
NB: It is only possible to import watermarks from USB storage with a FAT32 formatted file system. If your USB storage does not currently have this file system, a dialogue box allows you to format the USB storage. A second pop-up will ask you to confirm your selection.
Please notice that all files on the USB memory stick will be deleted once formatting begins. Formatting time will vary.
After importing, you can see a preview of the watermark before closing the dialogue box.
To access saved files, see the manual section ACCESS SAVED PHOTOS.
ACCESS SAVED FILED

Access files directly on the microscope
Use File manager (see Setup menu section) to access files saved on the internal storage of the microscope or a plugged-in USB memory stick without using a computer.
NB: To save images to the internal storage of the microscope, activate File share mode in the microscope setup menu.
Access files on USB memory stick via computer
Unplug the USB memory stick from the microscope and insert it in a computer to access photos saved on the USB memory stick.
Access files on internal storage via computer
To access files saved on the internal storage of the microscope via a computer, the microscope itself must be connected to a network.
Use one of the two methods below:
Method 1
– Connect the cable from the wall socket to the microscope. Then, connect a computer to the same network either by cable or WiFi.
Method 2
– Connect a computer and the microscope to a stand-alone router without internet access to create a closed network. This solution is useful if you cannot connect the microscope to your network Regardless of the method, verify that the IP address of the microscope is displayed in the microscope System information. If no IP address is stated, check that all cables are connected correctly or consult a network administrator.
Afterwards, follow the description below matching your operating system to access the files:
NB: xxxxx denotes the microscope serial number which is available on the product label and via the System information window in the microscope Setup menu.
Access files with Windows operation system:
- Open the File Explorer and type:\\tagarno-snxxxxx
Access files with mac operation system: - Open the Connect to server window and type: smb://tagarno-snxxxxx/
- Press connect
In both cases, a window will appear and you can type: - User name:\public (Windows) or public (mac)
- Password: pub1234
Access EXIF data
The EXIF data on .jpg images can be accessed when transferred to a computer. EXIF data are not available when images are accessed directly on the microscope.
SYSTEM UPDATE
This is a step-by-step guide to performing a system update on your TAGARNO.
A system update can either be performed online or with a USB memory stick. See the Online system update section or Manual system update section for more information on the two processes.
ONLINE SYSTEM UPDATE
To perform an online system update, the microscope must be connected to a network. For more information, see the Connection section.
When a new firmware version is available, an orange dot next to the Info menu icon will appear. The menu option Check for updates will also change to Install updates and an orange dot will also appear here.
To perform the system update, follow this step-by-step guide:
Step 1: Start installation
- Access the Setup menu by holding the round center button on the XPLUS FHD control box until the Setup menu appears. Note that there’s an orange dot next to the Info menu icon. This indicates that new firmware is available and a system update should be performed.
- To navigate in the Setup menu, use the multi-function buttons on the XPLUS FHD control box
- Go to the Info menu icon in the top menu, navigate to Install the update, and choose it by pressing the round center button.

Step 2: Perform installation
Screen dialogues will now guide you through the update process.
- A New update available window appears. Press OK to start the download and installation process.
Note: At this point, the update process can be canceled safely by pressing Cancel.
NB: Do not switch off or disconnect the microscope during a system update. This will damage your device and render it useless. - When the system update is complete, the microscope will automatically restart.
Step 3: Verify installation
- Verify the system update by checking that the Application version (displayed in the Setup menu – Info – System information) matches the recently installed system update.

Step 4: Access the new application
If a new application is available (either through the 30-day trial license or after application installation), a new menu point will appear in the Setup menu under pt. 3 Applications, showing the new application.Note: To activate an application after installation, you need a unique license key generated from the microscope serial number.
See the license activation section for further explanation on how to activate your license.
After activating your license, you are now able to access and use the new application or feature.
Please see the user manual for further information regarding the use of TAGARNO applications.
If you have trouble performing a system update, please contact the TAGARNO distributor from which you have purchased the product or send an e-mail to [email protected].
MANUAL SYSTEM UPDATE
To perform a system update manually, a system update file needs to be installed directly on the microscope.
Note: In some cases, it is necessary to complete more than one system update process, if an update contains substantial improvements and considerable file sizes. The microscope will notify you if this is needed.
Follow the few steps below to perform a system update to your TAGARNO microscope.
Step 1: Download the installation file
- Locate and access the installation file(s) via this link: www.tagarno.com/firmware-download
- Download the installation file(s) to a USB memory stick (FAT32 formatted)

- If the file(s) is in a ZIP folder, unzip the files and make sure that only the correct installation file(s) or previous system update files appear on the memory stick.
Note: File names always have the following format:
tagarno_fhd_system_vx_xx.image
tagarno_fhd_system_vx_xx.system
tagarno_fhd_system_vx_xx.update
(x_xx denoting the system version)
The installation file(s) is identical for TAGARNO FHD TREND/ PRESTIGE/UNO.
Step 2: Plug in the USB memory stick
- Plug the USB memory stick into one of the two USB 2.0 inputs at the back of the microscope.

Step 3: Start installation
- The system update process is initiated in the Setup menu – Info – System Update

A. Access the Setup menu by holding the round center button on the XPLUS FHD control box until the Setup menu appears
B. To navigate in the Setup menu, use the multi-function buttons on the XPLUS FHD control box C. Go to the fourth menu point (Info) in the top menu, navigate to System Update and choose it by pressing the round center button
Step 4: Perform installation
Screen dialogues will now guide you through the update process
- A System Update Warning appears – Read the warning and press OK to start the system update.

Note: At this point, the update process can be canceled safely by pressing Cancel.
NB: Do not switch off or disconnect the microscope during a system update. This will damage your device and render it useless. - When the system update file has been read and validated, information about the new version is shown. Wait for the system to update.

- When the system update is complete, the microscope will automatically restart.
Note: The microscope might switch off after restart. In that case, turn it back on manually. - After restarting the microscope, the system might need to be updated again by following the same procedure as described above entering the system update

Step 5: Verify installation
- Verify the system update by checking that the Application version (displayed in the Setup menu – Info – System information) matches the version of the system update file.

Step 6: Access the application
If a new application is available (either through the 30-day trial license or after application installation), a new menu point will appear in the Setup menu under pt. 3 Applications, showing the new application.
Note: To activate an application after installation, you need a unique license key generated from the microscope serial number.
See the license activation section for further explanation on how to activate your license.
After activating your license, you are now able to access and use the new application or feature.
Please see the user manual for further information regarding the use of TAGARNO applications.
If you have trouble performing a system update, please contact the TAGARNO distributor from which you have purchased the product or send an e-mail to [email protected].
LICENSE ACTIVATION
After purchasing a TAGARNO application, you need to activate it with a unique license key file.
To activate a license key on your TAGARNO microscope, follow the steps below:
Note: The license can only be paired with the microscope which has the serial number stated in your license. The license can not be removed and transfered to another microscope.
STEP 1: DOWNLOAD THE LICENSE KEY FILE
- You will receive an e-mail with a unique license key file after placing an order, receiving an activation code and requesting the license via www.tagarno.com/request-license
Note: If you are missing your license key file, please contact [email protected] to retrieve the file. - Download the license key file to a USB memory stick (FAT32 formatted)
- If the file is in a ZIP folder, unzip the folder and make sure that only the correct license file and no ZIP folders appear on the memory stick. Make sure to also place the license file in the root of the USB.
STEP 2: PLUG IN THE USB MEMORY STICK - Plug the USB memory stick into one of the USB 2.0 inputs at the back of the microscope. Leave the other input empty during license activation.
STEP 3: START ACTIVATION - The activation process is initiated in the Setup menu – Info – System Update
A. Access the Setup menu by pressing the round center button on the XPLUS FHD control box until the Setup menu appears
B. To navigate in the Setup menu, use the multi-function buttons on the XPLUS FHD control box
C. Go to the fourth menu point (Info) in the top menu D. Navigate to System Update and choose it by pressing the round center button
STEP 4: PERFORM ACTIVATION - A System Update Warning appears – Read the warning and press OK to start the system update.

- Press OK and the update will be processed. Please do not press the control box unless the installation menu tells you to.
STEP 5: ACCESS THE APPLICATION
After activating your license you are now able to access and use the new application.
Please see the user manual for further information regarding the use of TAGARNO applications and features.
If you have trouble activating the application, please contact the TAGARNO distributor from which you have purchased the product.
TECHNICAL SPECIFICATIONS

| Dimensions | H: 121 mm / 4.76″ | |
| D: 100 mm / 3.94″ | ||
| Weight | 1.5 kg / 3.3 lbs | |
| Camera resolution | FHD 1080p, 1920x1080p at 59,94/50/29,97/25Hz | |
| HO 720p, 1280x720p at 59,94/50Hz | ||
| Camera zoom | 30x optical | |
| Autofocus | Yes 0 | |
| Work height | Min: 78mm / 3.07″ | Max: 250mm / 9.84″ |
| Work depth | Min: 623mm / 24.53″ | Max: 668mm / 26.29′ |
| Auto Monitor Detect | No | |
| Power requirements | Line voltage | 100 – 240V — ± 10% |
| Line frequency | 50/60Hz | |
| AC current consumption (typ.) | 70mA/100V— 30mA/240V- | |
| DC current consumption (typ.) | 0.5A/12V — | |
| Environmental conditions | Temperature | Storage -5 to 60°C / 23 to 140°F Operation 5 to 40°C / 41 to 104°F |
| Humidity range | Storage 20 to 90% RH non-condensing Operation 20 to 80% RH non-condensing | |
| Altitude | 0 to 2000m / 0 to 6500ft above sea level | |
| Pollution degree | 2 | |

| Dimensions | H: 44 mm / 1.7″ | |
| D:104 mm/ 4.1″ | ||
| W: 214 mm / 8.4″ | ||
| Weight | 1 kg / 2.2 lbs | |
| Power requirements | Line voltage | 100 – 240V ± 10% |
| Line frequency | 50/60Hz | |
| AC current consumption (typ.) | 100mA/100V 45mA/240V | |
| DC current consumption (typ.) | 800mA/12V | |
| Standby power | 0.2W | |
| Environmental conditions | Temperature | Storage -5 to 60°C / 23 to 140°F Operation 5 to 40°C / 41 to 104°F |
| Humidity range | Storage 20 to 90% RH non-condensing Operation 20 to 80% RH non-condensing | |
| Altitude | 0 to 2000m / 0 to 6500ft above sea level | |
| Pollution degree | 2 |
| LENS | Lens-to-object distance | Magnification on 24″ monitor |
| 2 | 500 mm/19.67’’ | 0.8x – 26.2x |
| 3 | 333 mm/13.22” | 1.3x – 40.1x |
| +4 (Included) | 250 mm/9.84” | 1.7x – 53x |
| 5 | 200 mm/7.87” | 2.2x – 66x |
| 10 | 78 mm/3.07” | 4.3x – 133x |
| FIELD OF VIEW | MAXIMUM | MINIMUM | ||
| Lens | X-Direction | 11-Direction | X-Direction | 11-Direction |
| +2 | 600 mm / 23.62′ | 337.50 mm / 13.29″ | 21 mm / 0.83″ | 11.80 mm / 0.46′ |
| +3 | 409 mm / 16.10′ | 230.10 mm / 9.06″ | 13.40 mm / 0.53″ | 7,54 mm / 0,02″ |
| +4 | 290 mm / 11.42″ | 163.10 mm / 6.42″ | 10.50 mm / 0.41″ | 5,91 mm / 0,02″ |
| +5 | 245 mm / 9.65′ | 137.80 mm / 5.43″ | 8 mm / 0.32″ | 4,50 mm / 0.18′ |
| +10 | 87 mm / 3.42″ | 48.94 mm / 1.93″ | 4 mm / 0.16″ | 2,25 mm / 0.089′ |
RECOMMENDED MONITOR FORMAT
| Panel format | 16:9 (Widescreen) |
| How to link | HDMI input |
| Response time | 2 ms |
| Signal format | FHD 1920×1080 |
ACCESSORIES
| Lens +2, +3, +4, +5, and +10 | TAGARNO Ring light White | XY table |
| Magnetic lens ring | TAGARNO Ring light IR | Glass table |
| Foot switch | TAGARNO Ring light UV | Cleaning kit |
| FHD monitors per request | Coaxial light | Angle brackets |
| Flex arms | Circular tilting table | |
| Backlight kit | Height Adjustment Table |
MAINTENANCE
- Store and use the product in a dry, clean and ventilated room.
- Do not place the product in direct sunlight, next to a radiator/heater or someplace where the system may be
subjected to liquids. - All plugs are designed to be used in one way only. Therefore, you should never use force when you connect the system.
- Remember to disconnect all elements if you intend to move the product.
- If you move the product from a cold to a hot room, you must wait at least an hour before you turn it on to avoid short circuits due to condensation.
- Remove the cables by pulling the plug itself – never by pulling the cable.
- If the product needs repairing, never do it yourself, contact your distributor.
- When cleaning the product, please turn off the system and wait untill the system has cooled off.
- Clean the product with a damp cloth. Never use strong cleaning agents or chemicals – these may damage the microscope.
- Clean the lens regularly with isopropyl alcohol and a microfiber cloth or with the TAGARNO cleaning kit.
WARRANTY
Warranty terms for the product shall be as follows:
TAGARNO warrants that the product will correspond with the specification at the time of delivery and will be free from defects in material and workmanship for a period of 24 months
(2 years) from the date of invoice from the Supplier.
This warranty covers:
a. The replacement of defective parts.
b. All labor costs to exchange defective parts in the product.
c. Complete functions test of product before return to end user’s site.
d. Return transport costs of product from TAGARNO to end user’s site.
The warranty only applies if the product is packed, shipped, stored, handled, and maintained correctly.
Failures due to improper packing and transport are not covered.
Failures due to drops and sudden blows are not covered.
Failures due to storage and handling in extremely high or low temperatures are not covered.
Failures due to storage or handling in extremely high humidity are not covered.
LICENSE AGREEMENT
This TAGARNO product contains open-source and third-party components.
www.tagarno.com/license-agreement
ERGONOMIC RECOMMENDATIONS
Please be careful when carrying the product from one place to another.
Always lift the microscope with one hand around the rod and the other hand beneath the base.
Please do not lift the microscope by grabbing the camera arm.
LABELS
All TAGARNO MOVE digital microscopes are marked with the following product labels:
| TAGARNO FHD ZAP Model No.: 690600 Serial No.: xxxxx Supply: 12V TAGARNO A/S – Sandovej 4, DK-8700 Horsens, Denmark. yyyy-mm-dd | TAGARNO MOVE POWER BOX Serial no.: xxxxxx Version: 5.28 Supply: 12V CAN ICES-3(B)/NMB-3(B) This device complies with Part 15 of the FCC Rules. Operation is subject to the following two conditions: (1) this device may not cause harmful interference, and (2) this device must accept any interference received, including interference that may cause undesirable operation TAGARNO A/S – Sandøvej 4, DK-8700 Horsens, Denmark. yyyy-mm-dd |
Values marked with X varies from product to product and are replaced by specific numbers and letters.
TAGARNO MOVE digital microscopes sold in the US are also marked with the following FDA and cMETus labels:
| Manufactured by: TAGARNO AS Sandoevej 4 DK-8700 Horsens Denmark Made in Denmark Manufactured: [Month Year] | ![]() Complies with: UL 61010-1 CSA C22.2 No. 61010-1 E115318 |
DECLARATION OF CONFORMITY
| PRODUCT MODEL ART | TAGARNO MOVE | Type no.: 883100 (U.S.) / 880100 (Rest of world) Inspection camera unit |
MANUFACTURER
| NAME | TAGARNO A/S |
| ADDRESS | Sandøvej |
| ZIPCODE/CITY | Denmark |
| COUNTRY PHONE | 45 76251111 |
DESCRIPTION
TAGARNO A/S hereby declares that the product listed above, consisting of a camera unit, a Powerbox and 12V power supplies, complies with the following European directives:
| 2006/25/EU | Artificial Optical Radiation |
| 2014/30/EU | Electromagnetic Compatibility |
| 2014/35/EU | Low Voltage Directive |
By conforming to the following harmonized standards:
Camera head:
| IEC 60825-1:2014 | Class 2 |
| EN 61326-1:2013 | Class B / Basic Electromagnetic Environment |
| IEC 61010-1:2010 | IECEE CB Scheme Ref. Certif. No. NO104184 |
Power box:
| EN 61326-1:2020 | IECEE CB Scheme Ref. Certif. No. DK-11145-FC |
| IEC 61010-1:2010/AMD1: 2016 | IECEE CB Scheme Ref. Certif. No. DK-11137-FC |
THE DECLARATION IS ISSUED BY
| MANUFACTURER | TAGARNO A/S |
COMPLIANCE STATEMENTS
INDUSTRY CANADA COMPLIANCE STATEMENT
CAN ICES-3 (B)/NMB-3(B)
This Class B digital apparatus meets the requirements of the Canadian Interference-Causing Equipment Regulations.
FCC COMPLIANCE STATEMENT (UNITED STATES)
Federal Communications Commission (FCC) Statement
This equipment has been tested and found to comply with the limits for a Class B digital device, pursuant to part 15 of the FCC Rules.
These limits are designed to provide reasonable protection against harmful interference in a residential installation.
This equipment generates, uses, and can radiate radio frequency energy and, if not installed and used in accordance with the instructions, may cause harmful interference to radio communications. However, there is no guarantee that interference will not occur in a particular installation.
If this equipment does cause harmful interference to radio or television reception, which can be determined by turning the equipment off and on, the user is encouraged to try to correct the interference by one or more of the following measures:
- Reorient or relocate the receiving antenna.
- Increase the separation between the equipment and receiver.
- Connect the equipment to an outlet on a circuit different from that to which the receiver is connected.
- Consult the dealer or an experienced radio/TV technician for help.
TAGARNO A/S
Sandøvej 4
8700 Horsens
Denmark
+45 76251111
[email protected]
www.tagarno.com




File manager
Enable or disable all settings
Note: At this point, the update process can be canceled safely by pressing Cancel.








STEP 5: ACCESS THE APPLICATION


















