JBC T210 Handles TOOL

This manual corresponds to the following references:
Precision Handles:
- T210-A
- T210-PA
- T210-NA
General Purpose Handles:
- T245-A
- T245-GA
- T245-PA
- T245-NA
Heavy Duty Handles:
- T470-A
- T470-SA
- T470-ZA
- T470-FA
- T470-MC
- T470-NA
Packing List
The following items are included:
- Handle ……………………………………………………………………………………………………………………………………… 1 unit

- Green Soft Foam Grips T8658 for T210 + T210N
- Blue Soft Foam Grips T3310 for T210P

- Green Soft Foam Grips T6057 for T245 + T245G
- Blue Soft Foam Grips T1528 for T245P

- Grips for Handles ……………………………………………………………………………………………………………………. 1 unit
- OB1000 for T210

- OB2000 for T245 and T470

- OB1000 for T210
- Sealing Plug for Handles …………………………………………… 1 unit
- Manual ………………………… 1 unit
Features
T210 Precision Handles
T210 handles are suitable for precision soldering jobs with medium power requirements.
Due to their size, they are ideal for conventional or small SMD soldering jobs, even under a microscope.
They come with soft foam grip to ensure a better manual control of the tool and a greater comfort when working.
T210 handles are supplied with 1.5 m cable length and work with C210 cartridges (not included).
- T210 Precision Handle


- Green soft foam grip T8658*
- T210P Blue Grip Precision Handle


- Blue soft foam grip T3310*
T210P ist designed with blue grip handle for easy differentiation from other handles, e.g. when leaded and unleaded solder wire are used.
- Blue soft foam grip T3310*
- T210N Nitrogen Precision Handle
T210N ist designed to work in an oxygen-free atmosphere and so providing better quality soldering. They offer extra heat to the solder joint and help prevent oxidation.
Note: JBC’s GN Nitrogen Generator Module or an external nitrogen feed is needed.
- Green Soft foam grip T8658*
- Nitrogen feed
- Nozzle
The following soft foam grip as replacement are available: green T8658, blue T3310, black T3311.
T245 General Purpose Handles
T245 handles are suitable for both, SMD components and soldering jobs with high power requirements (e.g. ground plane soldering).
Some models come with soft foam grip to ensure a better manual control of the tool and a greater comfort when working and in addition provides thermal insulation.
T245 handles are supplied with 1.5 m cable length and work with C245 cartridges (not included).
- T245 General Purpose Handle


- Green soft foam grip T6057
- T245G General Purpose Handle with Reinforced Cable


- Green soft foam grip T6057*
- T245P Blue Grip Handle
T245P is designed with blue grip handle for easy differentiation from other handles, e.g. when leaded and leadfree solder wire are used.

- Blue soft foam grip T1528*
The following soft foam grip as replacement are available: green T6057, blue T1528, black T1530.
- T245N Nitrogen General Purpose Handle
T245N ist designed to work in an oxygen-free atmosphere and so providing better quality soldering. They offer extra heat to the solder joint and help prevent oxidation.
Note: JBC’s GN Nitrogen Generator Module or an external nitrogen feed is needed.

- Nitrogen feed
T470 Heavy Duty Handles
T470 handles are suitable for intensive soldering jobs requiring high power delivery such as power electronics components soldering, large coax cable soldering, metal sheet soldering, etc.
They are available with grips of several shapes and materials, as well as different cable lengths (see below).
T470 handles feature a set screw to secure the cartridge within the handpiece preventing its rotation.
- T470 Heavy Duty Handle with 1.5 m / 4.9 ft cable
- T470S Heavy Duty Handle with 3 m / 9.8 ft cable


- Green grip
- T470F Thermal Insulator Grip HD Handle with 1.5 m / 4.9 ft cable
- T470M Thermal Insulator Grip HD Handle with 3 m / 9.8 ft cable


- Green soft foam grip
- T470Z Tri-Lobed Grip HD Handle with 1.5 m / 4.9 ft cable


- Green tri-lobed grip for better handling
- T470N Nitrogen HD Handle with 1.5 m / 4.9 ft cable
T470N ist designed to work in an oxygen-free atmosphere and so providing better quality soldering. They offer extra heat to the solder joint and help prevent oxidation.
Note: JBC’s GN Nitrogen Generator Module or an external nitrogen feed is needed.

- Green grip
- Nitrogen feed
Changing Cartridges
T210 and T245 Handles
JBC’s tool stand ADS, for T210 and T245 handles, comes with quick tip changer.
Save time and change cartridges safely without switching the station off.
WARNING:
Be careful, the cartridges may be hot, when placing them in the cartridge holder.
- Removing
Place the cartridge in the extractor and pull the handle to remove it.
- Inserting
Place the handle on top of the new cartridge and press the handle down.
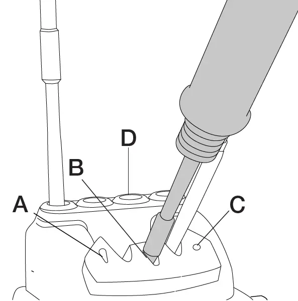
- Fixing
Use the holes to fix the cartridge as follows:- A. For curved C210
- B. For C245
- C. For straight C210
- D. Cartridge Holder

Note: It is essential to insert the cartridge as far as the mark for a proper connection.
- Mark
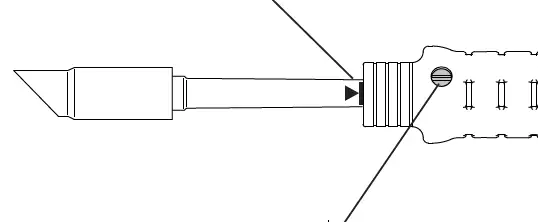
T470 Handles
- Removing
Loosen the handle screw. Place the Soldering Iron with the cartridge in the extractor and pull the handle to remove it.
- Inserting
Place the handle on top of the new cartridge and press the handle down.
- Fixing
Note: After proper cartridge insertion as far as the mark , tighten the handle screw.
- Mark
- Handle Screw
Changing Nitrogen Nozzles
- If the outer cartridge diameter D1 is smaller than the inner nozzle diameter D2, the nozzle can be removed without removing the cartridge.
WARNING: When the nozzle is hot, use pliers to remove the nozzle.
If the outer cartridge diameter D1 is larger than the inner nozzle diameter D2, The cartridges must be removed first before the nozzle can be removed.
For T470 handle loose the screw and remove the cartridges’. Afterwards de nozzle can be removed.
WARNING: When the nozzle is hot, use pliers to remove it.
Cartridge Range
JBC offers for each handle different cartridge types. Find the model that best suits your soldering needs at www.jbctools.com.
T210 handles work with C210 cartridges, T245 handles work C245 cartridges and T470 handles with C470 cartridges.
- Conical

- Chisel

- Conical Bent

- Bevel

- Special Models
Changing Grips*
Replace the soft foam grips easily using the slip-on tabs.
Note:
Choose the correct grip depending on your handle model.
Handles | Green grips | Blue grips | Black grips |
| T210, T210P, T210N | T8658 | T3310 | T3311 |
T245, T245G, T245P | T6057 | T1528 | T1530 |
- Inserting Tabs

Put the slide-on tabs into the new grip.
- Inserting Handle

Push the grip with the tabs onto the handle.
- Removing Tabs

Hold the grip and pull the tab. Use pliers if necessary.
Replacing Sealing Plugs
The sealing plug prevents undesirable flux vapors or particles from entering inside the tool. Its usage is highly recommended for intensive applications when soldering is exposed to FOD environments or for applications where the soldering iron works close to vertical position.
Note:
Choose the correct sealing plug depending on your handle model.
- Before replacing the sealing plug, unplug the power supply and make sure the device is not hot.

- Removing Sealing Plug
Enter, not deeper than 8mm, a small shaft or screwdriver, lift and pull the sealing plug. Never use a cartridge to do this operation.
- Mounting Position

Note
The chamfered side has to be positioned towards the handle. - Inserting Sealing Plug
Push the sealing plug inside the handle until the sealing plug and handle edges are aligned.
Accessories
Fume extractor
Clips can be easily removed for quick maintenance.
Cable collector
Keeps the work area free of cable.
Compatibility
| Compact Stations | Modular System | ||||||
| Handle | Cartridge Range | CD | Stand | DIU | DDU | DMU | HDU |
| T210 | C210 |
ADS | |||||
| T210P | |||||||
| T245 | C245 | ||||||
| T245G | |||||||
| T245P | |||||||
| T470 | C245 | ADS | |||||
| C470 | HDS | ||||||
| T470S | C245 | ADS | |||||
| C470 | HDS | ||||||
| T470F | C245 | ADS | |||||
| C470 | HDS | ||||||
| T470M | C245 | ADS | |||||
| C470 | HDS | ||||||
| T470Z | C245 | ADS | |||||
| C470 | HDS | ||||||
| T210N* | C210 |
DNS | |||||
| T245N* | C245 | ||||||
| T470N* | C245 | ||||||
| C470 | |||||||
- The MNE Nitrogen Flow Regulator is required. Use the proper nozzle according to the cartridge.
Maintenance
- Before carrying out maintenance, always unplug the stand and the tool.
- Check periodically that the metal parts of the tool and the stand are clean to ensure detection of the tool when it is in the stand. Use a damp cloth or alcohol.
- Periodically check all cables and tubes connections.
- Replace any defective or damaged pieces. Use original JBC spare parts only.
- Repairs should only be performed by a JBC authorized technical service.
Safety
- It is imperative to follow safety guidelines to prevent electric shock, injury, fire or explosion.
- Do not use the units for any purpose other than soldering or rework. Incorrect use may cause fire.
- Do not work on electrically live parts.
- The tool should be placed in the stand when not in use in order to activate the sleep mode. The soldering tip, the metal part of the tool and the stand may still be hot after the station
is turned off. Handle with care, including when adjusting the stand position. - Do not leave the appliance unattended when it is on.
- Avoid flux coming into contact with skin or eyes to prevent irritation
- Be careful with the fumes produced when soldering.
- Keep your workplace clean and tidy. Wear appropriate protection glasses and gloves when working to avoid personal harm.
- Utmost care must be taken with liquid tin waste which can cause burns.
- This appliance can be used by children over the age of eight as well as persons with reduced physical, sensory or mental capabilities or lacking experience provided that they have been given adequate supervision or instruction concerning use of the appliance and understand the hazards involved. Children must not play with the appliance.
- Maintenance must not be carried out by children unless supervised.
Specifications

Warranty
JBC’s 2 year warranty covers this equipment against all manufacturing defects, including the replacement of defective parts and labour. Warranty does not cover product wear or misuse In order for the warranty to be valid, equipment must be returned, postage paid, to the dealer where it was purchased.








































Push the sealing plug inside the handle until the sealing plug and handle edges are aligned.














