JBC NT115 Nano Handle

Packing List
The following items are included:

Nano Handle ………………………………………. 1 unit

Manual ………………………………………………… 1 unit Ref. 0029825
Connections

Changing Soft Foam Grips
Soft foam grips for nano handles ensure a better manual control of the handle and greater comfort when working.
Soft Foam Grips are in 3 different colors available:
- 8662 green
Ref. 0018662 (incl. 4x grips) - N3308 blue
Ref. 0023308 (incl. 4x grips) - N3309 black
Ref. 0023309 (incl. 4x grips)
Replace the grips easily using the included fitters like shown in the following pictures
Inserting Fitters
Insert the fitters into the new grip.
Assembling Grip
Push the grip with the fitters onto the Nano handle.
Removing Fitters
To remove the fitters, hold the grip and pull the fitters out. Use pliers if necessary.
Changing Rubber Grips
N6079 Rubber Gips for Nano Tools offer a pleasant and comfortable feel and facilitate the handling of any small or microscopic SMD component.
Removing
Make a length-ways cut. Be careful not to damage the handle.
Remove the old grip.
Assembling

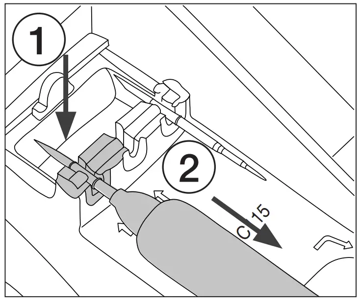
Changing Cartridges
Save time and change cartridges safely without having to switch the station off.
Removing
Place the cartridge into the extractor slot (1) and pull the handle to remove the cartridge (2).
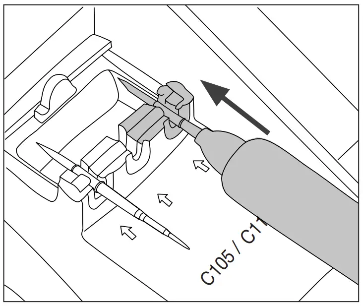
Inserting
Push the new cartridge into the handle until the reference ring*.
Aligning
Use the holes to rotate the cartridges for a proper alignment.
*Important
It is essential to insert the cartridges as far as the reference ring for a proper connection.
Compatible Cartridges
Nano Handle NT115 works with C115 cartridges. Find the model that best suits your soldering needs at www.jbctools.com
Safety
![]() | It is imperative to follow safety guidelines to prevent electric shock, injury, fire or explosion. |
- Do not use the units for any purpose other than soldering or rework. Incorrect use may cause fire.
- The power cord must be plugged into approved bases. Be sure that it is properly grounded before use. When unplugging it, hold the plug, not the wire.
- Do not work on electrically live parts.
- The tool should be placed in the stand when not in use in order to activate the sleep mode. The soldering tip or nozzle, the metal part of the tool and the stand may still be hot even when the station is turned off. Handle with care, including when adjusting the stand position.
- Do not leave the appliance unattended when it is on.
- Do not cover the ventilation grills. Heat can cause inflammable products to ignite.
- Avoid flux coming into contact with skin or eyes to prevent irritation.
- Be careful with the fumes produced when soldering.
- Keep your workplace clean and tidy. Wear appropriate protection glasses and gloves when working to avoid personal harm.
- Utmost care must be taken with liquid tin waste which can cause burns.
- This appliance can be used by children over the age of eight and also persons with reduced physical, sensory or mental capabilities or lack of experience provided that they have been given adequate supervision or instruction concerning use of the appliance and understand the hazards involved.
- Children must not play with the appliance.
- Maintenance must not be carried out by children unless supervised.
Specifications
NT115
Nano Handle
Ref. NT115-A
Cable length: 120 cm / 47.24 in
Total Net Weigt: 50.6 g / 0.112 lb
Package Dimensions/Weight: 237 x 42 x 42 mm / 94.5 g
(L x W x H) 9.33 x 1.65 x 1.65 in / 0.208 lb
Complies with CE standards. ESD safe.
Warranty
JBC’s 2 year warranty covers this equipment against all manufacturing defects, including the replacement of defective parts and labour. Warranty does not cover product wear or misuse.
In order for the warranty to be valid, equipment must be returned, postage paid, to the dealer where it was purchased.
Get 1 extra year JBC warranty by registering here: https://www.jbctools.com/productregistration/ within 30 days of purchase.
This product should not be thrown in the garbage.
In accordance with the European directive 2012/19/EU, electronic equipment at the end of its life must be collected and returned to an authorized recycling facility![]()




















