JBC NAS-2 Nano Rework Station Instruction Manual

Packing List
Control Unit ………………………………………… 1 unit
Ref. NAE-1C (120V)
NAE-2C (230V)
NAE-9C (100V)
Tool Holder ……………………………………….. 2 units
Ref. CC2002
Brass Wool …………………………………………. 1 unit
Ref. CL6210
Metal Brush ……………………………………….. 1 unit
Ref. CL2466
Allen key …………………… 1 unit
Ref. 009848
Power Cable ……………… 1 unit
Ref. 0023714 (230V)
0023715 (120V)
0024092 (100V)
Manual ………………………. 1 unit
Ref. 0022995
Features


* AN115-A / NT115-A are not included.
Assembly the Tool Holder

Replacing the Tool Holder
Loosen the screw and withdraw the Tool Holder
Insert the new Tool Holder and tighten the screw.
Work Screen
The NAE-C offers an intuitive user interface which provides quick access to station parameters.
Default PIN: 0105


Troubleshooting
Station troubleshooting available on the product page at www.jbctools.com
Advanced functionalities
![]() | It provides detailed graphics of tip temperature and power delivery in real time during solder joint formation for analysis purposes. This helps you decide how to adjust your process or which tip to use to obtain the best quality soldering. |
![]() | Designed to avoid thermal shock when soldering Ceramic Chip components like MLCC, this new and unique feature allows controlling the heating ramp up rate of the tool to gradually increase the temperature of the component through all the phases of the soldering process. Up to 25 fully confi gurable soldering profi les can be stored. |
![]() | The fi rst system to optimize traceability in soldering – Get greater quality and control in your production – Manage your whole soldering process remotely in real time |
![]() | Export graphics Insert a USB flash drive into the USB-A connector to save your soldering process in csv format. |
![]() | Station update Download the JBC Update File from www.jbctools.com/software.html Insert the USB flash drive with the file downloadedto the station. |
System notifications
The following icons will be displayed on the screen’s status bar.
![]() | USB flash drive is connected. | ![]() | Station software update. Press INFO to start the process |
![]() | Station is controlled by a PC. | ![]() | Warning. Press INFO for failure description. |
![]() | Station is controlled by a robot. | ![]() | Error. Press INFO for failure description, the type of error and how to proceed. |
Operation
The JBC Exclusive Heating System
Our revolutionary technology is able to recover tip temperature extremely quickly. It means the user can work at a lower temperature and improve the quality of soldering. The tip temperature is further reduced thanks to the Sleep and Hibernation modes which increase the tip life by 5.
1. Work When the tool is lifted from the holder the tip will heat up to the selected temperature. | 2. Hibernation When the tool is in the holder, the power is cut off and the tool cools down to room temperature. |
![]() Tools Menu:
| ![]() Tools Menu:
|
Chip Compoments Rework proces using Tweezers and pedal
The Adjustable Nano Tweezers is the most effective tool for desoldering chip components but also it facilitates its rapid placement and soldering by using the P-405 pedal connected to the station.






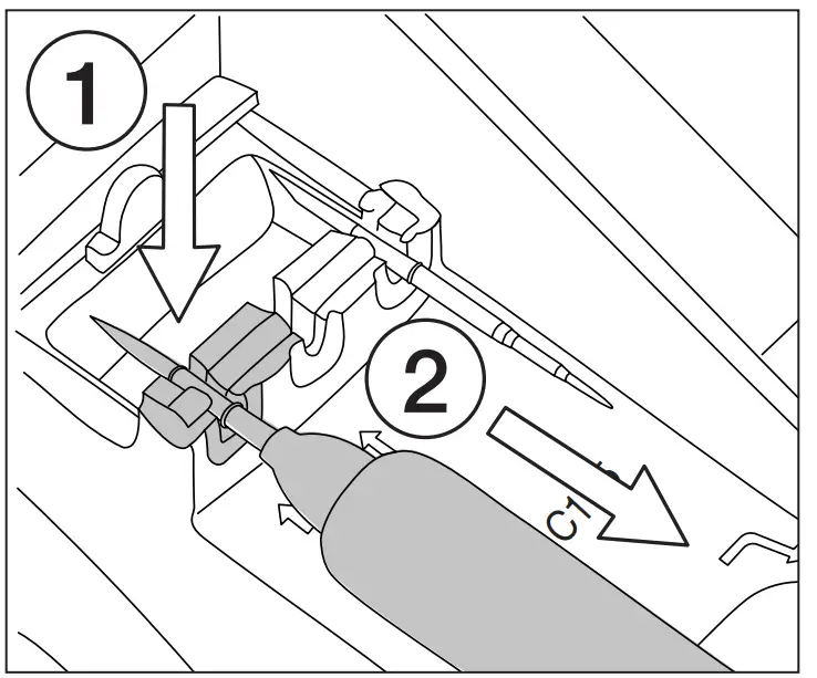
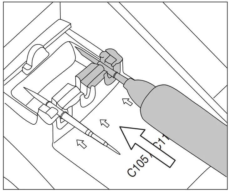
Changing cartridges
Save time and change cartridges safely without having to switch the station off.
Removing
Place the cartridge in the slot as shown and pull the handle to remove it
Inserting
Push the cartridge into the handle to the mark*.
Aligning
Use the holes to rotate the cartridges for a proper alignment.
*Important
It is essential to insert the cartridges as far as the reference for a proper connection.

Compatible cartridges
The NT115-A and AN115-A work with C115 cartridges. Find the model that best suits your soldering needs on www.jbctools.com

Changing grips
- Push the grip with the tabs onto thehandle.

- To remove the tabs, hold the grip and pull them out.
Use a pliers if necessary.
Changing the tip cleaning system

Maintenance
Before carrying out maintenance or storage, always allow the equipment to cool.
- Clean the station screen with a glass cleaner or a damp cloth.
- Use a damp cloth to clean the casing and the tool. Alcohol can only be used to clean the metal parts.
- Periodically check that the metal parts of the tool and stand are clean so that the station can detect the tool status.
- Maintain tip surface clean and tinned prior to storage in order to avoid tip oxidation. Rusty and dirty surfaces reduce heat transfer to the solder joint.
- Periodically check all cables and tubes.
- Replace a blown fuse as follows:

- Pull off the fuse holder and remove the fuse. If necessary use a tool to lever it off.

- Press the new fuse into the fuse holder and replace it in the station.

- Replace any defective or damaged pieces. Use original JBC spare parts only.
- Repairs should only be performed by a JBC authorized technical service.
Safety
![]() | It is imperative to follow safety guidelines to prevent electric shock, injury, fire or explosion. |
- Do not use the units for any purpose other than soldering or rework. Incorrect use may cause fire.
- The power cord must be plugged into approved bases. Be sure that it is properly grounded before use. When unplugging it, hold the plug, not the wire.
- Do not work on electrically live parts.
- The tool should be placed in the stand when not in use in order to activate the sleep mode.
The soldering tip, the metal part of the tool and the stand may still be hot even when the station is turned off. Handle with care. - Do not leave the appliance unattended when it is on.
- Do not cover the ventilation grills. Heat can cause inflamable products to ignite.
- Avoid the contact of flux with skin or eyes to prevent irritation.
- Be careful with the fumes produced when soldering.
- Keep your workplace clean and tidy. Wear appropriate protective glasses and gloves when working to avoid personal harm.
- Utmost care must be taken with liquid tin waste which can cause burns.
- This appliance can be used by children over the age of eight and also persons with reduced physical, sensory or mental capabilities or lack of experience provided that they have been given adequate supervision or instruction concerning use of the appliance and understand the hazards involved. Children must not play with the appliance.
- Maintenance must not be carried out by children unless supervised.
Specifications
| NAE-1C 120V 50/60Hz. Input fuse: 0.5A. Output: 8.5V NAE-2C 230V 50/60Hz. Input fuse: 0.2A. Output: 8.5V NAE-9C 100V 50/60Hz. Input fuse: 0.5A. Output: 8.5V – Output Peak Power: 14W per tool Complies with CE standards |
Warranty
JBC’s 2 year warranty covers this equipment against all manufacturing defects, including the replacement of defective parts and labour.
Warranty does not cover product wear or misuse.
In order for the warranty to be valid, equipment must be returned, postage paid, to the dealer where it was purchased.
Get 1 extra year JBC warranty by registering here: https://www.jbctools.com/productregistration/ within 30 days of purchase.
![]() | This product should not be thrown in the garbage. In accordance with the European directive 2012/19/EU, electronic equipment at the end of its life must be collected and returned to an authorized recycling facility. |












When the tool is lifted from the holder the tip will heat up to the selected temperature.
When the tool is in the holder, the power is cut off and the tool cools down to room temperature.


























