JBC NAN 2 Tool Nano Soldering Station

This manual corresponds to the following references:
– NANE-9C (100V)
– NANE-1C (120V)
– NANE-2C (230V)
Packing List
The following items are included:
2-Tool Nano Control Unit ………………. 1 unit
Nano Handle …………… 2 units Ref. NT115-A

Cabel Collector and Stand ……………….. 2 units Ref. CC2002
Brass Wool ……………….. 1 unit Ref. CL6210
Metal Brush ………………. 1 unit Ref. CL2466
Power Cable ……………… 1 unit Ref. 0024092 (100V) 0023715 (120V) 0023714 (230V)
Cartridge
dispenser Case ………. 2 units Ref. 0020952 / Ref. 0020953
Allen key …………………… 1 unit Ref. 0009848
Pedal.…………………………. 1 unit Ref. P-405
Manual ………………………. 1 unit Ref. 0029451
Features and Connections


Tool Stand Assembly

Tool Stand Replacement
Loosen the screw (1) and withdraw the tool stand (2) .
Insert the new tool stand (3) and tighten the screw (4).
Work Screen
The work screen offers an intuitive user interface which provides quick access to station parameters. Default PIN: 0105

Advanced Functionalities
![]() | Station update Download the JBC Update File from www.jbctools.com/software.html Insert the USB flash drive with the file downloaded to the station. |
![]() | Station update Download the JBC Update File from www.jbctools.com/software.html Insert the USB flash drive with the file downloaded to the station. |
![]() | Export graphics Insert a USB flash drive into the USB-A connector to save your soldering process in csv format |
![]() | Station update Download the JBC Update File from www.jbctools.com/software.html Insert the USB flash drive with the file downloaded to the station. |

System Notifications
The following icons will be displayed on the screen’s status bar.
![]() | USB fl ash drive is connected. |
![]() | Station is controlled by a PC |
![]() | Station is controlled by a robot. downloaded to the station. |
![]() | Station software update. Press INFO to start the process. |
![]() | Warning. Press INFO for failure description. |
![]() | Error. Press INFO for failure description, the type of error and how to proceed. |
Operation
JBC’s Exclusive Heating System
This revolutionary technology is able to recover tip temperature extremely quickly. This allows the user to work at a lower temperature.
As a result, tip life increases by 5.
- Work

When the tool is lifted from the holder the tip will heat up to the selectedtemperature. - Hibernation

When the tool is in the holder, the power is cut off and the tool cools down to room temperature.

Example:
Chip Compoments Rework Process using Tweezers and Pedal
The Pedal is frequently used to rework components with tweezers.
AN115 JBCs adjustable nano tweezers is the most effective tool for desoldering chip components but also it facilitates its rapid placement and soldering by using P405 pedal connected to JBC´s NAS station.
Connections
Connect pedal P405 to the same port where AN115 nano tweezers are connected.
In the peripherals menu for the “Pedal Activation Mode” choose between “pressed” and “released”.

* “Press Mode” previously selected
Desoldering*
Lift the tool from the holder, press and hold the pedal to activate the tool and desolder the component.
Once the pedal is released the tool enters in hibernation mode and cools down.

Desoldering*
Lift the tool from the holder, press and hold the pedal to activate the tool and desolder the component.
Once the pedal is released the tool enters in hibernation mode and cools down.

Solder Paste Dispensing
Apply the solder paste amount needed to 1solder the new chip component.
The use of JBC´s DPM solder paste dispenser is recommended.

Placing
Do not press the pedal.
Use the tool to position the component on thepreviously tinned pad.
Note:
The inactive tool prevents the component from heating up prematurely

Soldering
Once in position press and hold the pedal to activate the tool and perform the soldering.
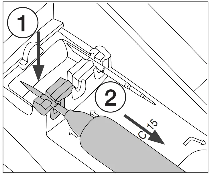
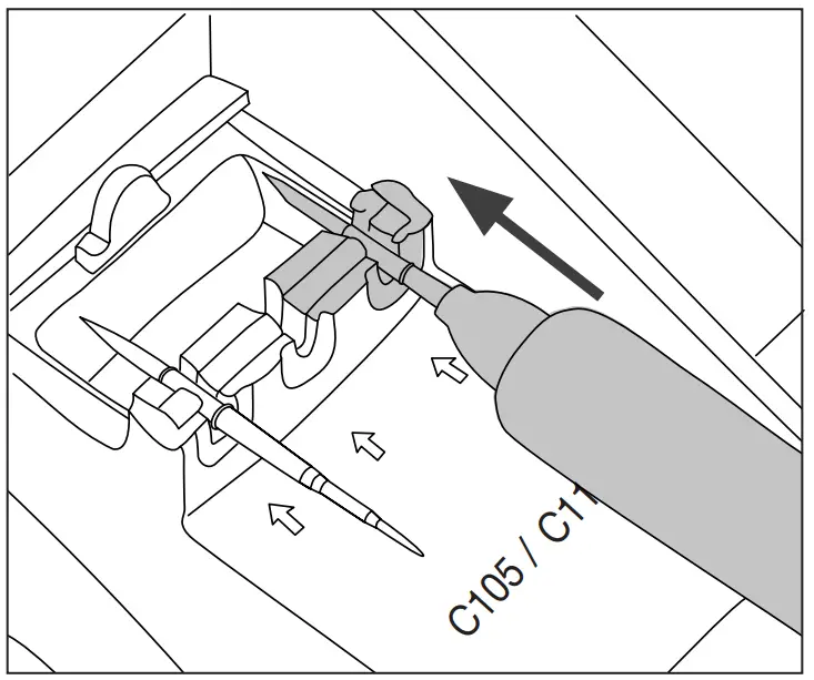
Changing Cartridges
Save time and change cartridges safely without having to switch the station off.
- Removing

Place the cartridge into the extractor slot (1) and pull the handle to remove them (2). - Inserting

Push the cartridge into the handle until the mark*. - Aligning

Use the holes to rotate the cartridges for a proper alignment.
*Important
It is essential to insert the cartridges as far as the reference ring for a proper connection.
Compatible Cartridges
The Nano Handle NT115 and the Ajustable Nano Tweezers AN115 work with C115 cartridges. Find the model that best suits your soldering needs on www.jbctools.com
Changing Grips
- Inserting
First put the slide-on tabs into the new grip, then push the grip with the tabs onto the handle
- Removing Tabs
Hold the grip and pull the tab. Use a pliers if necessary
Changing the Tip Cleaning System
Press back the tap (1) to remove the cleaning system (2).
Remove the drawer from the splashguard.
Maintenance
Before carrying out maintenance, always switch the device off and disconnect it from the mains. Allow the equipment to cool down.
- Clean the station screen with a glass cleaner or a damp cloth.
- Use a damp cloth to clean the casing and the tool. Alcohol can only be used to clean the metal parts.
- Periodically check that the metal parts of the tool and stand are clean so that the station can detect the tool status.
- Maintain tip surface clean and tinned prior to storage in order to avoid tip oxidation. Rusty and dirty surfaces reduce heat transfer to the solder joint.
- Periodically check all cables and tubes.
- Replace any defective or damaged pieces. Use original JBC spare parts only.
- Replace a blown fuse as follows:

- Pull off the fuse holder and remove the fuse. If necessary use a tool to lever it off.

- Press the new fuse into the fuse holder and replace it in the station.

– Repairs should only be performed by a JBC authorized technical service.
Safety
![]() | It is imperative to follow safety guidelines to prevent electric shock, injury, fire or explosion. |
- Do not use the units for any purpose other than soldering or rework. Incorrect use may cause fire.
- The power cord must be plugged into approved bases. Be sure that it is properly grounded before use. When unplugging it, hold the plug, not the wire.
- Do not work on electrically live parts.
- The tool should be placed in the stand when not in use in order to activate the sleep mode. The soldering tip or nozzle, the metal part of the tool and the stand may still be hot even when the station is turned off. Handle with care, including when adjusting the stand position.
- Do not leave the appliance unattended when it is on.
- Do not cover the ventilation grills. Heat can cause inflamable products to ignite.
- Avoid flux coming into contact with skin or eyes to prevent irritation.
- Be careful with the fumes produced when soldering.
- Keep your workplace clean and tidy. Wear appropriate protection glasses and gloves when working to avoid personal harm.
- Utmost care must be taken with liquid tin waste which can cause burns.
- This appliance can be used by children over the age of eight and also persons with reduced physical, sensory or mental capabilities or lack of experience provided that they have been given adequate supervision or instruction concerning use of the appliance and understand the hazards involved.
- Children must not play with the appliance.
- Maintenance must not be carried out by children unless supervised.
Specifications
NAN
2-Tool Nano Soldering Station
Ref.: NANE-9C 100V 50/60Hz. Input fuse: 0.5A. Output: 8.5V
Ref.: NANE-1C 120V 50/60Hz. Input fuse: 0.5A. Output: 8.5V
Ref.: NANE-2C 230V 50/60Hz. Input fuse: 0.2A. Output: 8.5V
| – Output Peak Power: | 14W per tool |
| – Temperature Range: | 90 – 450 °C / 190 – 840 ºF |
| – Idle Temp. Stability (still air): | ±1.5 ºC / ±3 ºF (meets and exceed IPC J-STD-001F) |
| – Temp Accuracy: | ±3% (using reference cartridge) |
| – Temp Adjustment: | ±50ºC / ±90ºF (through station menu setting) |
| – Tip to Ground Voltage/Resistant: | Meets and exceed ANSI/ESD S20.20-2014 IPC J-STD-001F |
| – Connections: | USB-A / USB-B / Pedal connectors RJ12 connector for Robot |
| – Ambient Operating Temp: | 10 – 50 ºC / 50 – 122 ºF |
| – Control Unit Dimensions: (L x W x H) | 140 x 170 x 125 mm 5.51 x 6.69 x 4.92 in |
| – Total Net Weight: | 2.45 kg / 5.40 lb |
| – Total Package Dimensions/Weight: (L x W x H) | 280 x 280 x 164 mm / 2.94 kg 11.02 x 11.02 x 6.46 in / 6.48 lb |
Warranty
JBC’s 2 year warranty covers this equipment against all manufacturing defects, including the replacement of defective parts and labour
Warranty does not cover product wear or misuse. In order for the warranty to be valid, equipment must be returned, postage paid, to the dealer where it was purchased.
Get 1 extra year JBC warranty by registering here:
https://www.jbctools.com/productregistration/ within 30 days of purchase.
This product should not be thrown in the garbage.
In accordance with the European directive 2012/19/EU, electronic equipment at the end of its life must be collected and returned to an authorized recycling facility.









































