SEALEY TP955.V2 56l/Min Wall Mounting Diesel or Fluid Transfer System with Meter
Thank you for purchasing a Sealey product. Manufactured to a high standard, this product will, if used according to these instructions, and properly maintained, give you years of trouble free performance.
IMPORTANT: PLEASE READ THESE INSTRUCTIONS CAREFULLY. NOTE THE SAFE OPERATIONAL REQUIREMENTS, WARNINGS & CAUTIONS. USE THE PRODUCT CORRECTLY AND WITH CARE FOR THE PURPOSE FOR WHICH IT IS INTENDED. FAILURE TO DO SO MAY CAUSE DAMAGE AND/OR PERSONAL INJURY AND WILL INVALIDATE THE WARRANTY. KEEP THESE INSTRUCTIONS SAFE FOR FUTURE USE.
SAFETY
- WARNING! It is the user’s responsibility to check the following:
Check all electrical equipment and appliances to ensure that they are safe before using. Inspect power supply leads, plugs and
all electrical connections for wear and damage. Sealey recommend that an RCD (Residual Current Device) is used with all electrical products. You may obtain an RCD by contacting your local Sealey stockist.
If the product is used in the course of business duties, it must be maintained in a safe condition and routinely PAT (Portable Appliance Test) tested.
Electrical safety information, it is important that the following information is read and understood.
Ensure that the insulation on all cables and on the appliance is safe before connecting it to the power supply.
Regularly inspect power supply cables and plugs for wear or damage and check all connections to ensure that they are secure. Important: Ensure that the voltage rating on the appliance suits the power supply to be used and that the plug is fitted with the correct fuse – see fuse rating in these instructions. - DO NOT pull or carry the appliance by the power cable.
- DO NOT pull the plug from the socket by the cable.
- DO NOT use worn or damaged cables, plugs or connectors. Ensure that any faulty item is repaired or is
replaced immediately by a qualified electrician.
If the cable or plug is damaged during use, switch off the electricity supply and remove from use.
Ensure that repairs are carried out by a qualified electrician.
Replace a damaged plug with a BS1363/A 13 Amp 3 pin plug. If in doubt contact a qualified electrician.- Connect the GREEN/YELLOW earth wire to the earth terminal ‘E’.
- Connect the BROWN live wire to the live terminal ‘L’.
- Connect the BLUE neutral wire to the neutral terminal ‘N’.
Ensure that the cable outer sheath extends inside the cable restraint and that the restraint is tight.
Sealey recommend that repairs are carried out by a qualified electrician. Recommended fuse rating
- GENERAL SAFETY
WARNING! Ensure Health & Safety, government and local authority regulations relating to the transfer of
diesel are adhered to when using this equipment. Familiarise yourself with the application, limitations and specific hazards peculiar to the pump. - WARNING! Disconnect pump from the mains power before changing accessories, servicing or performing any maintenance.
- DANGER: DO NOT use pump for the transfer of fluid other than diesel fuel of a viscosity from 2 to 5.35 cSt at 37.8OC, with a minimum flash point (PM) of >55OC, or for any other purpose.
- DANGER: Motor is not explosion proof and must not be used where flammable vapours may be present.
- WARNING! On first use or after running out of fuel perform the following:
Switch on power and squeeze and release the trigger to attempt to discharge fuel for max. 2 minutes. If no fuel flows remove
nozzle from dispensing hose and run pump again for max. 2 mins. DO NOT allow pump to run for more than 2 minutes if no fuel flows out – refer to instruction manual. RUNNING PUMP WITH NO FUEL FLOW FOR OVER MINS. CAUSES INTERNAL DAMAGE. - Filters (if fitted) should be changed regularly to ensure unrestricted fuel flow.
- Maintain pump in good condition (use authorised service agent). Drain meter and pipes before dismantling.
- Ensure unit is correctly calibrated before use, and after having been dismantling for maintenance.
- Maintain correct balance and footing. Ensure the floor is not slippery and wear non-slip shoes.
- Ensure the transfer area is free of clutter and has adequate lighting.
- The motor is equipped with a thermal cut-out which will shut the motor off should the unit over heat. If this happens, turn the unit off and allow to cool, by which time the cut-out will automatically reset.
- Keep children and unauthorised persons away from the working area.
- Replace/repair damaged parts. Use genuine parts. Unauthorised parts are dangerous and will invalidate warranty.
- Installation site must protect the unit from the weather.
- Retain manual with the unit for reference for any new user.
- DO NOT use the pump without the delivery nozzle attached.
- DO NOT start or stop the pump by switching on or off at the mains power supply.
- DO NOT use to dispense: petrol, inflammable liquieds, water, food liquids, liquids with viscosity>20 cSt, corrosive chemical products, solvents.
- DO NOT operate the unit with wet hands. We recommend the use of diesel resistant gloves and goggles.
- DO NOT use with a motor other than that built into the unit (incorrect flow pressure will distort pump accuracy).
IMPORTANT: It is installer’s responsibility to ensure all supply pipes, fixtures and fittings are adequate for the safe flow of diesel fuel.
INTRODUCTION
Self-priming, rotary vane pump with bypass valve. Direct drive 230V motor fitted with overload protector. Volumetric, nutating disc, resettable meter with large 3-digit display. Supplied with Model No. TP109 Automatic Delivery Nozzle and 4m of reinforced 3/4” hose. Unit is suitable for wall, tank or pedestal installation. Flow rate 56L/min.
SPECIFICATION
Model no:……………………………………………………….TP955.V2
Current:…………………………………………………………………….3A
Flow Rate:…………………………………………………………56L/min
Pressure:……………………………………………………..29psi(2bar)
Protection:………………………………………………………………..No
Speed:…………………………………………………………….2900rpm
CONTENTS/FEATURES
INSTALLATION
- The CUBE dispenser can be installed outside. Nevertheless, it is advisable to locate it under the shelter of a roof to ensure the dispenser’s longevity and provide greater comfort during refuelling in the event of bad weather. The installation of the dispenser must be carried out by skilled personnel and performed according to the instructions provided in this manual.

- MECHANICAL INSTALLATION fig.1
Before beginning the installation, verify that no packing material has been trapped in the tubing.
Prepare suitable stilts or fixing brackets depending on the fixing position of the unit. The tube coming from the tank must be aligned to the threaded inlet of the pump filter which is located under the unit. - HYDRAULIC CONNECTIONS
WARNING! Remove the protective caps from the threads. The hydraulic connections can be made with flexible or rigid tubes with adequate joints, as long as they are done by skilled personnel, in a workmanlike manner, with respect for the regulations in effect in the country of installation.- Maximum length of hydraulic tubing
Suction is affected by the length and diameter of the tubing and the difference in height between the tank and the height of the pump. A back pressure must not be created greater than 0.6bar.
The back pressure progressively increases by 0.08 bar for every meter increase in the static height of the pump with respect to the level of the diesel fuel in the tank. - Recommendations and Warnings!
- The suction tubing must resist a pressure of at least 10 bar and must be of a diameter NOT LOWER than 1’’.
- The tubing must be suitable to function under backpressure.
- Use tubing and accessories suitable for use with diesel fuel.
- Any curves in the suction tubes must be of the widest radius possible to limit the loss of head.
- Make sure that the suction tubing is clean and free of scum.
- Installation of the check valve and filter fig.2
The check valve and a suction filter must be attached to the pick up tube. They must remain immersed at the bottom of the tank. The check valve and the filter are provided as part of the equipment with the unit.
NOTE: Before connecting the tubing to the pump filter, fill the tubing with diesel fuel to help prime the pump. - Connecting the tubing to the unit
Screw the other end of the tubing to the pump filter. - WARNING! DO NOT use conical threaded connectors that could cause damage to the threaded connector on the pump filter.
- Maximum length of hydraulic tubing
- ELECTRICAL CONNECTION
Electrical connection must be carried out by professionals only.- WARNING! the unit is not equipped with circuit breakers.
It is therefore strongly recommended to install on the plug a 30-mA residual current operated circuit breaker.
- WARNING! the unit is not equipped with circuit breakers.
- STARTING
- Filling the pump
The pump provided with the unit is a self-priming pump capable of suctioning an empty tube, nevertheless, the pump should be partially filled with diesel fuel before turning it on for the first time. - Priming the pump
It is advisable to oversee the first priming phase to make sure that it is
happening in a reasonable amount of time.
Depending on the length and fill status of the priming tubes, the priming of the pump can require from several seconds to several minutes.
Recommendations and Warnings!
If priming takes a long time, stop the pump and verify that:- the pump is not running completely dry;
- the suction tubing is air-tight and completely immersed in the fluid to be pumped;
- the suction filter is not clogged;
- the difference in height for priming is not greater than 3 meters refer to fig.1;
- the residual air in the tubes has been evacuated.
- Calibrating the meter
Before using the unit station, check the METER ACCURACY. Proceed as follows:- Take out the nozzle and start the pump as described in the above paragraph.
- Run the fuel into a calibrated container.
Recommendations and Warnings! - To correctly check accuracy:
- Use a precision sample container, featuring a graduated measuring scale, with a capacity of at least 20 litres.
- Before making the check, always make sure you have eliminated all the air from the system and then run the fuel until a full and regular flow is achieved.
- Dispense continuously at maximum flow rate.
- Stop the flow by quickly closing the nozzle.
- Compare the reading provided by the container, with that provided by the unit, after waiting for all the froth to disappear.
- WARNING! Differences of up to 0.2 litres out of every 20 litres fall within the guaranteed accuracy of +/- 1%.
- Turning on the unit

- Filling the pump
OPERATION
Recommendations and Warnings!
- Transfer of fuel must always occur in the presence and under the control of the Operator.
- Keep the dispensing nozzle closed until it is inserted in the container to be filled.
- If the nozzle lever is not completely pressed, the automatic release device will not work.
HOW TO DISPENSE FUEL
- Rotate the reset knob in a counter-clockwise direction to completely zero-out the partial indicator. The total indicator cannot be reset to zero.
- Extract the dispensing nozzle (a) and insert it in the container to be filled.
- Set the starting handle to position ON (b): the pump starts.
- Press the nozzle lever and keep it pressed until you have dispensed the desired quantity.
- When dispensing is finished, set the start handle to OFF (c): the pump stops. Replace the nozzle (d).
- Rehang the tube on the tube support hook, so that it will not be crushed by moving vehicles.
MAINTENANCE
- OPENING AND CLOSING THE CUBE fig.4

Unscrew and remove the three cross-head screws on the left side of the unit ( A).
Unscrew and remove the three cross-head screws on the right side of the unit (B).
Lift off the top cover.
To reclose it, perform these steps in reverse order. - PERIODIC INSPECTIONS
Weekly checks:- keep the pump body, tubing and flanges clean to promptly reveal any leaks.
- Keep the dispensing nozzle tube clean and especially the hole for the excess pressure probe at the end of the nozzle tube fig 6.

- With equal frequency or at least every time the tank is filled, clean the filter and check valve at the bottom of the tank.
Every three months (or more often in case of doubt) verify the accuracy of the meter.
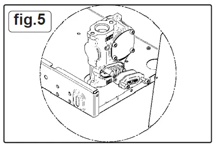
- CLEANING THE PUMP FILTER figs 5 & 7
The pump filter must be cleaned weekly or more often whenever a reduction in flow rate is noticed.
The frequency required depends most of all on the quantity of fuel dispensed, but also on other causes as well, such as dispensing fuel immediately after refilling the tank, which stirs up sediment which normally lies at the bottom.
To gain access to the filter:- Remove the upper part of the unit, by unscrewing the 6 side screws (see Opening and Closing the Cube)
- Screw off the 2 screws on the filter cover.
- To clean it, it is sufficient to wash it and blow through it.

TROUBLESHOOTING
| Problem | Possible causes | Solution |
| Motor not turning | Lack of electric power | Set the starting handle to position ON Reset the external residual current circuit-breaker Check the electrical connections |
| Fuses burned out | Replace the fuses in the electric panel | |
| Faulty switch on the electric panel | Change the switch | |
| Motor problems | If the rotor is jammed, dismount and check for damage and obstructions, then remount Contact the Service Department | |
| Motor will not start with the nozzle closed | Electric voltage too low | Check that the voltage is not more than 5% below the nominal voltage |
| Low or no flow rate | Excessive suction pressure | Lower the CUBE with respect to the tank or increase the diameter of the tubing |
| High loss of head | Use shorter tubing or of greater diameter | |
| Suction tube resting on the bottom of the tank | Raise the suction tube | |
| Low level in the suction tank | Refill the tank | |
| Air entering the suction tube or in the pump | Check the connections seal in the tubing and the level of diesel fuel in the tank | |
| Motor low rotation speed | Check the voltage at the motor. Adjust the voltage and/or use cables of greater cross-section | |
| Check valve blocked | Clean or replace | |
| Tank filter clogged | Clean the filter | |
| Pump filter clogged | Clean the filter | |
| Fluid leaking | Check the seal of the connections and the condition of the rubber tubes | |
| Meter chamber obstructed | Clean the meter chamber | |
| Meter accuracy not sufficient | Air in the suction line | Check the sels of the connections |
| Measuring chamber dirty | Clean the meter measuring chamber |
WEEE REGULATIONS
Dispose of this product at the end of its working life in compliance with the EU Directive on Waste Electrical and Electronic Equipment (WEEE). When the product is no longer required, it must be disposed of in an environmentally protective way. Contact your local solid waste authority for recycling information.
ENVIRONMENT PROTECTION
Recycle unwanted materials instead of disposing of them as waste. All tools, accessories and packaging should be sorted, taken to a recycling centre and disposed of in a manner which is compatible with the environment. When the product becomes completely unserviceable and requires disposal, drain any fluids (if applicable) into approved containers and dispose of the product and fluids according to local regulations.
Note: It is our policy to continually improve products and as such we reserve the right to alter data, specifications and component parts without prior notice. Please note that other versions of this product are available. If you require documentation for alternative versions, please email or call our technical team on [email protected] or 01284 757505.
Important: No Liability is accepted for incorrect use of this product.
Warranty: Guarantee is 12 months from purchase date, proof of which is required for any claim.
Sealey Group, Kempson Way, Suffolk Business Park, Bury St Edmunds, Suffolk. IP32 7AR
- 01284 757500
- 01284 703534
- [email protected]
www.sealey.co.uk























