SEALEY TP6901.V2 Vacuum Oil and Fluid Extractor Manual 9L
Product Overview

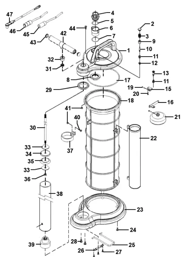
Part List
| Item | Part No. | Description | Item | Part No. | Description | ||
| 1 | TP6901.V2-01 | Cover Housing | 26 | TP6901.V2-26 | Fixed Strip | ||
| 2 | TP6901.V2-02 | Release button | 27 | TP6901.V2-27 | Rd Head S/T Screw M3.6 X 10 | ||
| 3 | TP6901.V2-03 | Spring Dia 11.8mm | 28 | SS816.S | Hex Head Set Screw M8 X 16 Zinc | ||
| 4 | TP6901.V2-04 | Fluid Inlet Coupler | 29 | TP6901.V2-29 | Ring Seal | ||
| 5 | TP6901.V2-05 | O-Ring, (Ex: 29.26 In: 26.64 Cs: 2.62) | 30 | TP6901.V2-30 | Shaft | ||
| 6 | TP6901.V2-06 | Fluid Outlet Housing | 31 | TP6901.V2-31 | Oil Seal | ||
| 7 | TP6901.V2-07 | O-Ring, (Ex: 28.71 In: 25.15 Cs: 1.54) | 32 | TP6901.V2-32 | Holder | ||
| 8 | TP6901.V2-08 | Lock Nut | 33 | TP6901.V2-33 | Flat Washer M8x40 Black | ||
| 9 | TP6901.V2-09 | Locking Bushing | 34 | TP6901.V2-34 | Piston Spacer | ||
| 10 | TP6901.V2-10 | Shaft | 35 | TP6901.V2-35 | Piston | ||
| 11 | TP6901.V2-11 | Spring Conical | 36 | SN8.S | Steel Nut M8 Zinc | ||
| 12 | TP6901.V2-12 | Check Valve | 37 | TP6901.V2-37 | Holder | ||
| 13 | TP6901.V2-13 | Safety Cap | 38 | TP6901.V2-38 | Aluminum Tube | ||
| 15 | TP6901.V2-15 | Bracket base | 39 | TP6901.V2-39 | Aluminum Tube Base | ||
| 16 | TP6901.V2-16 | Arm | 40 | TP6901.V2-40 | Screw M5x16mm | ||
| 17 | TP6901.V2-17 | O-Ring, (Ex: 159.05 In: 151.99 Cs: 3.53) | 41 | SN5.SB | Steel Nut M5 Black | ||
| 18 | TP6901.V2-18 | Reservoir Tank | 42 | TP6901.V2-42 | Handle | ||
| 19 | TP6901.V2-19 | Pin | 43 | TP6901.V2-43 | Cap | ||
| 20 | TP6901.V2-20 | Screw 3.8x10mm | 44 | MSP520.SB | Machine Screw Pan Head Phillips M5x20mm Black | ||
| 21 | TP6901.V2-21 | Float | |||||
| 45 | TP6901.V2-45 | Main Suction Tube (c/w Adaptor)10mm x 1120mm | |||||
| 22 | TP6901.V2-22 | Tube Storage Unit | |||||
| 23 | TP6901.V2-23 | Base | |||||
| 46 | TP6901.V2-46 | Extracting Tube (c/w Adaptor) 6mm x 1120mm | |||||
| 24 | TP6901.V2-24 | Rd Head S/T Screw M6 X 15 | |||||
| 47 | TP6903.V2-37 | Brake Tube (c/w Rubber Fitting) | |||||
| 25 | TP6901.V2-25 | Footboard | |||||
NOTE: It is our policy to continually improve products and as such, we reserve the right to alter data, specifications, and component parts without prior notice. There may be alternative versions of this product, please contact us should you require this information.
IMPORTANT: No liability is accepted for incorrect use of the product. Spare parts must be fitted by a competent person
WARRANTY
Guarantee is 12 months from purchase date, proof of which will be required for any claim.





















