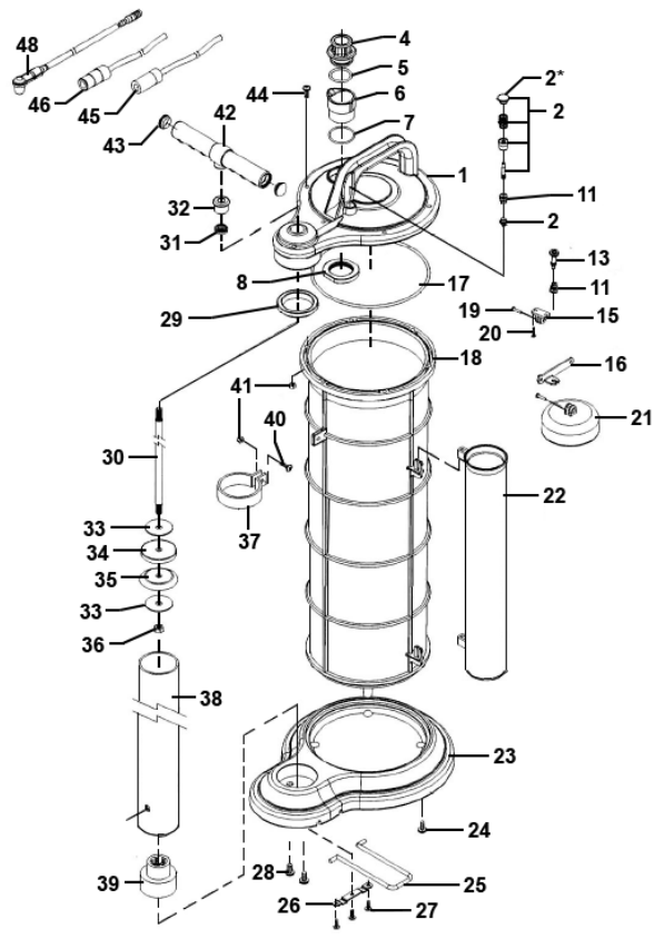
Parts Information:
Vacuum Oil & Fluid Extractor Manual 9ltr
Model No: TP6901
Instruction Manual
TP6901 Vacuum Oil & Fluid Extractor Manual 9ltr
| Item | Part No. | Description |
| 1 | TP6901.V2-01 | Cover housing |
| 2 | PX90-49A | Check Valve Ass’y |
| 2* | TP6901.V2-02 | Release Button |
| 4 | TP6903.V2-04 | Fluid Inlet Coupler |
| 5 | TP6901.V2-05 | O-Ring, (Ex: 29.26 In: 26.64 Cs: 2.62) |
| 6 | TP6901.V2-06 | Fluid Outlet Housing |
| 7 | TP6901.V2-07 | O-Ring, (Ex: 28.71 In: 25.15 Cs: 1.54) |
| 8 | TP6901.V2-08 | Lock Nut |
| 11 | TP6901.V2-11 | Spring Conical |
| 13 | TP6901.V2-13 | Safety Cap |
| 15 | TP6901.V2-15 | Bracket Base |
| 16 | TP6901.V2-16 | Arm |
| 17 | TP6901.V2-17 | O-Ring, (Ex: 159.05 In: 151.99 Cs: 3.53) |
| 18 | TP6901.V2-18 | Reservoir Tank |
| 19 | TP6901.V2-19 | Pin |
| 20 | TP6901.V2-20 | Screw 3.8x10mm |
| 21 | TP6901.V2-21 | Float |
| 22 | TP6901.V2-22 | Tube Storage Unit |
| 23 | TP6901.V2-23 | Base |
| 24 | TP6901.V2-24 | Rd Head S/T Screw M6 X 15 |
| 25 | TP6901.V2-25 | Footboard |
| 26 | TP6901.V2-26 | Fixed strip |
| 27 | TP6901.V2-27 | Rd Head S/T Screw M3.6 X 10 |
| 28 | SS816.S | Hex Head Set Screw M8 X 16 Zinc |
| 29 | TP6901.V2-29 | Ring Seal |
| 30 | TP6901.V2-30 | Shaft |
| 31 | TP6901.V2-31 | Oil Seal |
| 32 | TP6901.V2-32 | Holder |
| 33 | TP6901.V2-33 | Flat washer m8x40 black |
| 34 | TP6901.V2-34 | Piston spacer |
| 35 | TP6901.V2-35 | Piston |
| 36 | SN8.S | Steel Nut M8 Zinc |
| 37 | TP6901.V2-37 | Holder |
| 38 | TP6901.V2-38 | Aluminum Tube |
| 39 | TP6901.V2-39 | Aluminum Tube Base |
| 40 | TP6901.V2-40 | Screw M5x16mm |
| 41 | SN5.SB | Steel Nut M5 Black |
| 42 | TP6901.V2-42 | Handle |
| 43 | TP6901.V2-43 | Cap |
| 44 | MSP520.SB | Machine Screw Pan Head Phillips M5x20mm Black |
| 45 | TP6901.V2-45 | Main Suction Tube (c/w Adaptor)10mm x 1120mm |
| 46 | TP6901.V2-46 | Extracting Tube (c/w Adaptor) 6mm x 1120mm |
| 48 | TP6903.V2-37 | Brake Tube (c/w Rubber Fitting) |
| — | PX90-68 | Connector (Not Shown) |
NOTE: It is our policy to continually improve products and as such, we reserve the right to alter data, specifications, and component parts without prior notice.
There may be alternative versions of this product, please contact us should you require this information.
IMPORTANT: No liability is accepted for incorrect use of the product. Spare parts must be fitted by a competent person
WARRANTY: Guarantee is 12 months from purchase date, proof of which will be required for any claim.
Sealey Group, Kempson Way, Suffolk Business Park, Bury St Edmunds, Suffolk. IP32 7AR
01284 757500
01284 703534
[email protected]
www.sealey.co.uk
© Jack Sealey Limited


















