
B G Nemesis 12 Sailing Display

Parts included
- A. Display unit
- B. Sun cover
- C. Gasket
- D. 6x Corner caps
- E. Mounting screws
- F. Cable clips

Accessories (sold separately)
- A. Power and Ethernet cable
- B. NMEA 2000® drop cable with 90° connector

Technical Specification

Dimensional drawing
- 9” unit

- 12” unit

Mounting
- The unit can be mounted in portrait orientation or landscape orientation. In landscape orientation the B&G logo will be in the bottom left corner and in portrait orientation the logo will be in the top left corner.
- The unit can be panel mounted or rear mounted. When panel mounted, the unit is mounted in a hole in the surface. When rear mounted, it is mounted on top of the surface.
- Refer to the mounting templates for dimensions and details. Rear mounting templates are available on www.bandg.com.

Wiring
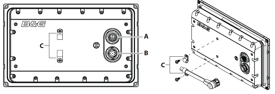
Back connectors
- A. NMEA 2000® connector
- B. Power and Ethernet connector
- C. Cable clips for strain relief

Power and Ethernet wiring
- A. Shield
- B. Ethernet connector (RJ45)
- C. Not used, yellow
- D. +12/24 V DC, red
- E. DC negative, black

Power
The unit is designed to be powered by a 12 or 24 V DC system. It is protected against reverse polarity, under voltage, and over voltage (for a limited duration). A fuse or circuit breaker should be fitted to the positive supply. For recommended fuse rating refer to the technical specifications.
The shield (A) can in most cases be insulated from all other wires. If interference is encountered from other on board electronics, the shield can be connected to a vessel hull ground to help reduce any interference, but it is not generally required.
The yellow wire (B) in the power cable is is not to be used and should be insulated from all other wires.
The unit will turn on when power is applied.
- A. Shield
- B. Not used, yellow
- C. +12/24 V DC, red
- D. DC negative, black
- E. Switch
- F. Fuse

Ethernet
Connect the Ethernet connector to your vessels B&G CPU Ethernet network for transfer of data to the displays.
- A. Ethernet switch with a 5-pin Ethernet socket
- B. B&G CPU or Ethernet switch with a RJ45 Ethernet socket
- C. Ethernet cable plug (RJ45)
- D. Ethernet adapter cable (RJ45 to 5-pin), optional

Examples
Note: Not all cables and necessary accessories are illustrated in the example.
- A. Nemesis™ display
- B. B&G® CPU
- C. Nemesis™ hub
- D. Ethernet switch
- E. Power and Ethernet cable
- F. Power and Ethernet connector with connectors at both ends (sold separately)
NMEA 2000®
Connect the Nemesis™ display to your vessels NMEA 2000® network for transfer of data to the displays.
Example
Note: Not all cables and necessary accessories are illustrated in the example.
- A. Nemesis™ display
- B. Other NMEA 2000® devices
- C. Power and Ethernet cable (used to power the unit)
- D. NMEA 2000® drop cables
- E. NMEA 2000® backbone
Compliance statement
Declarations
The relevant declarations of conformity are available at: www.bandg.com.
Europe
Navigo declares under our sole responsibility that the product conforms with the requirements of:
- CE under RED Directive 2014/53/EU.
United States of America
Navico declare under our sole responsibility that the product conforms with the requirements of:
- Part 15 of the FCC Rules. Operation is subject to the following two conditions:
- this device may not cause harmful interference, and
- this device must accept any interference received, including interference that may cause undesired operation.
Warning: The user is cautioned that any changes or modifications not expressly approved by the party responsible for compliance could void the user’s authority to operate the equipment.
Note: This equipment generates, uses and can radiate radio frequency energy and, if not installed and used in accordance with the instructions, may cause harmful interference to radio communications. However, there is no guarantee that the interference will not occur in a particular installation. If this equipment does cause harmful interference to radio or television reception, which can be determined by turning the equipment off and on, the user is encouraged to try to correct the interference by one or more of the following measures:
- Reorient or relocate the receiving antenna
- Increase the separation between the equipment and receiver
- Connect the equipment into an outlet on a circuit different from that of the receiver is connected
- Consult the dealer or an experienced technician for help
ISED Canada
This device complies with ISED (Innovation, Science and Economic Development) Canada’s license-exempt RSSs.
Operation is subject to the following two conditions:
- This device may not cause interference; and
- This device must accept any interference, including interference that may cause undesired operation of the device.
Australia and New Zealand
Navico declare under our sole responsibility that the product conforms with the requirements of:
- Level 2 devices of the Radiocommunications (Electromagnetic Compatibility) standard 2017
- Radiocommunications (Short Range Devices) Standards 2014
Trademarks
®Reg. U.S. Pat. & Tm. Off, and ™ common law marks. Visit www.navico. com/intellectual property to review the global trademark rights and accreditations for Navico Holding AS and other entities.




























