
ALR 120 120 Inch Projection Screen
Installation Guide

INSTALLATION MANUAL
Ambient Light Reflecting Thin-Bezel Fixed Projection Screens
IMPORTANT: BEFORE YOU BEGIN
- To avoid staining or scratching the screen, wear the included gloves during installation. Wash your hands and clean the work area before starting.
- Do not use knives or sharp objects to open the packing boxes.
- To avoid a serious fire hazard, DO NOT install the screen over an electrical outlet or switch.
Step 1. Unpack the Screen
Layout all parts on a clean, flat surface. To prevent damage, do not unpack the screen material at this time.
NOTE: Quantities below may be greater than needed for assembly.
Package Contents

Step 2. Prepare Frame Sections for Assembly

A. Retention springs are pre-assembled. Please confirm based on the quantity noted on the frame label for the short and long frame sections.
i. The hook on the spring must be nearest the inside frame edge.
B. Sliding nuts are pre-installed into frames, 16 total. Sliding nuts are used to install the thin bezel caps, center stabilizing bar, and wall brackets. Please ensure all 16 sliding nuts are on the frames prior to installing and tightening the corner brackets.
C. Install the corner brackets to the top and bottom slots of the short frame sections.
i. The small bracket goes in the bottom slot, and the large one goes in the top slot.
Step 3. Assemble the Frame

A. Slide the short frame sections into the long frame sections.
B. Insert the 8 frame corner screws into all 4 corners of the frame and loosely tighten to hold the frame together.
C. Hand-tighten all four screws, ensure the corners are square, then tighten the screws completely.
D. Lift up and set aside to prepare screen material for assembly.
Step 4. Prepare the Screen Material

A. Lay the plastic sheet out on the work surface, and clean the plastic surface and work area to avoid staining the screen material.
B. Put on the supplied gloves before handling the screen material.
C. Roll the ALR material out onto the plastic, then lay the frame down onto the material, ensuring the corners of the frame and ALR fabric are properly aligned as shown.
Step 5. Attach the Screen Material to the Frame

A. Align the springs to the holes in the ALR fabric,
B. Using the spring tools, attach the spring in the corners first, then the centers of each side as shown below. Once the corners and center springs are connected, work around the screen and attach the remaining springs, making sure to keep the spring tension balanced.
Step 6. Install Brackets and Frame Bezels
A. Install the center support bar to the frame using the sliding nuts installed in the centers of the long sides of the frame.
B. Turn the frame over and slide the long frame bezels onto the long sides of the frame, and the short sides onto the short sides of the frame.
i. Slots on the back of the thin bezel will line up for a tight fit.
C. Install the bezel brackets to secure the frame bezels to the frame.
i. Line up the brackets and sliding nuts for an easier corner fit.

Installation Tips
Take care to pull material evenly before installing the bezels.
If waves/wrinkles are present, it may be necessary to remove the bezel and pull the material tightly before reattaching the bezel.
Step 7. Attach and Install the Mounting Brackets

A. Screw the retaining plates into the sliding nuts.
B. Loosely secure the two mounting brackets to the sliding nuts in the top frame using the M5 x6mm screws. The brackets should just be able to slide left and right.
C. Loosely secure the circular metal half of the magnets to the lower frame, do not tighten the screws completely, the brackets should just be able to slide left and right.
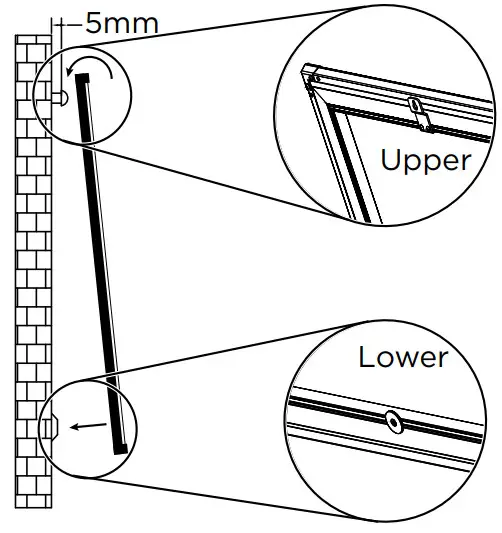
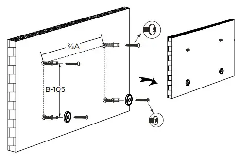
Step 8. Hang the Screen

A. Measure the overall length and height of the screen frame.
B. For Drywall: Drill 4 holes in the wall at the desired height.
The distance of the horizontal holes should be about 2/3 the width of the frame, and the vertical distance of the holes should be the height of the frame minus 4⅛” (105 mm).

C. For Concrete: Drive the concrete anchors into the holes drilled in Step B. Drive 2 M5x40mm Screws into the concrete anchors leaving 5mm to hang the screen. Install the lower 2 magnet pieces using 2 M5x40mm screws. Hang the screen on the upper brackets and attach the lower part of the frame to the wall with the magnets.
Care and Cleaning

Clean the screen with a soft microfiber cloth only. DO NOT use soap, water, harsh detergents, chemicals, distilled spirits or petroleum-based chemicals to clean the screen. Doing so may result in severe damage to the screen or the frame coating.
Use a household vacuum cleaner with a brush or furniture cleaning attachment to clean the felt frame material. Avoid using excessive amounts of water on the felt.
Dimensions (in Inches)

| A | B | C | D | E | F | G |
| 92″ | 45.1 | 80.2 | 45.7 | 80.7 | 1.7 | 1.3 |
| 100″ | 49 | 87.2 | 49.6 | 87.7 | 1.7 | 1.3 |
| 110″ | 53.9 | 95.9 | 54.5 | 96.4 | 1.7 | 1.3 |
| 120″ | 58.8 | 104.6 | 59.4 | 105.1 | 1.7 | 1.3 |
Warranty
Find details of this product’s Lifetime Limited Warranty at snapav.com/warranty, or request a paper copy from Customer Service at (866) 424-4489. Find other legal resources, such as regulatory notices and patent information, at snapav.com/legal.
Technical Support
p.866.838.5052

Copyright ©2021, Wirepath Home Systems, LLC. All rights reserved. Control4 and Snap AV and their respective logos are registered trademarks or trademarks of Wirepath Home Systems, LLC, dba “Control4” and/or dba “SnapAV” in the United States and/or other countries. Dragonfly is also a registered trademark or trademark of Wirepath Home Systems, LLC. Other names and brands may be claimed as the property of their respective owners. All specifications are subject to change without notice.
2021-01-14 TW

















