

ORIGINAL INSTALLATION AND OPERATING MANUAL
Garage door opener
2060 pro+
2080 pro+
2110 pro+
![]()

Limited Lifetime Warranty is contained at the end of the manual.
Dear customer,
Congratulations on your purchase of a product of SOMMER.
This product has been developed and manufactured under high standards of quality. Our passion for the product is just as important to us as the needs and requirements of our customers. We place particular emphasis on the safety and reliability of our products.
Read this installation operating manual carefully and follow all instructions. This will ensure that you can install and operate the product safely and optimally.
If you have any questions, please contact your specialist retailer, installer or contact.
Information on the opener:
Serial No.: See the title page of the installation and operating manual (if applicable warranty label).
Year of manufacture: from 03.2015
Information on the installation and operating manual
Version of the installation and operating manual:
pro-plus_S11903-00024_332019_0-DRE_Rev-A_US-EN
Warranty
The warranty complies with statutory requirements. The contact person for warranties is the qualified dealer. The warranty is only valid in the country in which the opener was purchased. Batteries, fuses and lights are excluded from the warranty.
Contact data
If you require after-sales service, spare parts or accessories, please contact your specialist retailer, installer or contact
Sommer USA, Inc.
1430 West Pointe Drive, Suite Q
Charlotte, NC 28214
United States of America
Tel +1 170-424-5787
Fax +1 704-424-7699
[email protected]
www.sommer-usa.com
Feedback on this installation and operating manual
We have tried to make the Installation and Operating Manual as easy as possible to follow. If you have any suggestions as to how we could improve them or if you think more information is needed, please send your suggestions to us:
Fax +1 704-424-7699
[email protected]
Service
If you require service, please contact us on our service hotline (fee required) or see our web site:
Tel +1 877-766-6607 (Toll Free only USA)
http://www.sommer-usa.com
Copyrights and proprietary rights
The manufacturer retains the copyright for this installation and operating manual. No part of this installation and operating manual may be reproduced in any form without the written permission of SOMMER USA, Inc. or processed, copied, or distributed using electronic systems. Violations of the above stipulations will lead to damage claims. All brands mentioned in these instructions are the property of their respective manufacturer and hereby recognized as such.
About this installation and operating manual
Storage and circulation of the installation and operating manual
Read this installation and operating manual carefully and completely before installation, commissioning and operation and also before removal. Follow all warnings and safety instructions.
Keep this installation and operating manual accessible at all times at the place of use. If your installation and operating manual is damaged or lost, it can be downloaded from
SOMMER USA, Inc.
at: www.sommer.eu
During the transfer or resale of the opener to third parties, the following documents must be passed on to the new owner:
- This installation and operating manual
- Documents recording retrofitting and repairs
- Proof of regular care, maintenance and testing
Important for translations
This original installation and operating manual was written in US-English. The other available languages are translations of the US-English version.
You can get the original installation and operating manual by scanning the QR code: http://some4.me/org-pro-plus-reva
Description of the product type
The opener has been constructed using state-of-the-art technology and according to recognized technical regulations and is subject to the UL325 standards. The opener is fitted with a radio receiver. Optionally available accessories are also described.
Target groups of the installation and operating manual
The installation and operating manual must be read and observed by everyone assigned with one of the following tasks:
- Unloading and in-house transport
- Unpacking and installation
- Initial operation
- Setting
- Usage
- Care and maintenance
- Testing
- Troubleshooting
- Disassembly and disposal
Explanation of warning symbols and instructions in the installation and operating manual
The warnings in this installation and operating manual are structured as follows.
![]()
Hazard symbol
Signal word
Type and source of hazard Consequences of the hazard
- Preventing and avoiding the hazard
The hazard symbol indicates the hazard. The signal word is linked to a hazard symbol. The hazard is classified into three classes depending on its danger:
DANGER
WARNING
CAUTION
There are three different classifications of hazards.
![]()
![]()
Describes an immediate danger that leads to serious injury or death.
Describes the consequences of the danger to you or other persons.
- Follow the instructions for avoiding or preventing the danger.
![]()
![]()
Describes a potential danger of serious injury or death.
Describes the potential consequences of the danger to you or other persons.
![]()
![]()
Describes a potential danger of a hazardous situation
Describes the potential consequences of the danger to you or other persons.
- Follow the instructions for avoiding or preventing the danger.
The following symbols are used for notes and information:
NOTE
Describes additional information and useful notes for correct use of the opener without endangering persons.
If it is not observed, property damage or faults to the opener or door may occur.
INFORMATION
Describes additional information and useful tips.
Functions for optimum usage of the opener are described.
INFORMATION
This symbol indicates that all components that have been taken out of service must not be disposed of with household waste, as they contain hazardous substances. The components must be disposed of correctly at an authorized recycling centre. The local and national regulations must be observed.
INFORMATION
This symbol indicates that all old battery packs and batteries must not be disposed of with household waste. Old battery packs and batteries contain hazardous substances. These must be disposed of properly at municipal collection points or in the containers provided by dealers. The local and national regulations must be observed.
Continue reading the installation and operating manual for more information.
Disconnect the opener from the mains voltage.
Connect the opener to the mains voltage.
Symbol refers to factory settings.
Symbol refers to SOMlink and a WLAN-enabled terminal.
Special warnings, hazard symbols and mandatory signs
To specify the source of danger more precisely, the following symbols are used together with the above-mentioned hazard symbols and signal words. Follow the instructions to prevent a potential
![]()
![]()
Danger due to electric current!
Contact with live parts may result in electric current flowing through the body. Electric shock, burns or death may result.
- Installation, testing and replacement of electrical components may only be carried out by an electrician.
![]()
![]()
Danger of entrapment!
Persons may be trapped inside the garage.
If trapped persons cannot free themselves, severe injury or death may result.
- A second entrance, a release lock for unlocking from the outside must be installed!
![]()
![]()
Danger of falling!
Unsafe or defective ladders may tip and cause serious or fatal accidents.
- Use only a non-slip, stable ladder.
![]()
![]()
Danger due to falling parts!
Parts of the door may become detached and fall. If persons or animals are hit, this may cause serious injury or death.
- The door must not bend, rotate or twist when opening and closing.
![]()
![]()
Danger of entrapment!
Persons or animals in the movement area of the door may be trapped and pulled along with the door. Severe injuries or death may result!
- Keep clear of moving doors.
![]()
![]()
Danger of crushing and shearing!
If the door moves with persons or animals in the movement area, crushing and shearing injuries may be caused by the mechanism and safety edges of the door.
- Never put your hand near the door when it is moving or near moving parts.
![]()
![]()
Danger of tripping and falling!
Unsafely positioned parts such as packaging, opener parts or tools may cause trips or falls.
- Keep unnecessary items away from the installation area.
![]()
![]()
Danger due to optical radiation!
Looking into an LED at short range for an extended period may cause optical glare. This will temporarily reduce vision. This may cause
serious or fatal injury.
- Do not look directly into an LED.
![]()
![]()
Danger due to hot parts!
After frequent operation, parts of the carriage or the control unit may become hot. If the cover is removed and hot parts are touched, they may cause burns.
- Allow the opener to cool before removing the cover.
The following mandatory signs inform the user that actions are required. The requirements described must be complied with.
![]()
![]()
Risk of eye injury!
Chips flying when drilling may cause serious injuries to eyes and hands.
• Wear safety glasses.![]()
![]()
Risk of injury in the head region!
Impact with suspended objects may cause serious abrasions and cuts.
• Wear a safety helmet.![]()
![]()
Risk of injury to hands!
Rough metal parts may cause abrasions and cuts when picked up or touched.
• Wear safety gloves.
Information regarding the depiction of text Stands for directions for an action
⇒ Stands for the results of the action
Lists are shown as a list of actions:
• List 1
• List 2
1, A Number or letter in the figure refers to a number in the text.
1 A Important text items in directions for actions are emphasized in bold type.
References to other chapters are in bold type and set in “quotation marks”.
Intended use of the opener
The opener is intended exclusively to open and close doors. Any other use does not constitute intended use.
The manufacturer accepts no liability for damage resulting from use other than the intended use.
The user bears the sole responsibility for any risk involved. It also voids the warranty.
Any changes to the opener must be made with original
SOMMER accessories only and only to the extent described.
Doors automated with this opener must comply with all valid international and domestic standards, directives and regulations. Examples include UL 325. The regulations valid in the respective country must be observed.
The opener may only be used:
- as specified in this installation and operating manual
- in good technical condition
- with attention to safety and hazards by trained users
Improper use of the opener
Any other use or additional use that has not been described in Chapter “1.8 Intended use of the opener” constitutes improper use.
The user bears the sole responsibility for any risk involved.
The manufacturer’s warranty will be voided by:
- damage caused by other use and improper use
- use with defective parts
- unauthorized modifications to the opener
- modifications and non-approved programming of the opener and its components
The door must not be part of a fire protection system, an evacuation path or an emergency exit that automatically closes the door in the event of fire. Installation of the opener will prevent automatic closing.
Observe the local building regulations.
The opener may not be used in:
- areas with explosion hazard
- very salty air
- aggressive atmosphere, including chlorine
Qualifications of personnel
People under the influence of drugs, alcohol, or medications that can influence their ability to react may not work on the opener. See www.sommer-usa.com for:
- handover protocol for the opener
Qualified specialist for installation, commissioning and disassembly
This installation and operating manual must be read, understood and complied with by a qualified specialist who installs or performs maintenance on the opener. Work on the electrical system and live parts may be performed only by a trained electrician.
The installation, commissioning and disassembly of the opener may only be performed by a qualified specialist.
A qualified specialist is a person commissioned by the installer.
The qualified specialist must instruct the user:
- on the operation of the opener and its dangers
- on the handling of the emergency release
- on regular maintenance which the user can execute
The user must be informed that other users must be instructed on the operation of the opener, its dangers as well as the emergency release.
The user must be informed about which work must only be performed by a qualified specialist:
- installation
- settings
- regular maintenance
- repairs
This installation and operating manual must be given to the user.
User
The user must note that the installation and operating manual for the door system must be given to him/her.
The user is responsible for:
- the intended use of the opener
- its good condition
- operation
- instructing all users how to use the door system and in the associated hazards
- care and maintenance
- inspection and maintenance by a qualified specialist
- troubleshooting in case of faults by a qualified specialist
The user must keep this installation and operating manual ready for consultation in the vicinity of the door system.
The opener must not be used by children or persons with restricted physical, sensory or mental capacity or who lack experience and knowledge. All users must be specially instructed and have read and understood the installation and operating manual.
Children must never play with or use the opener, even under supervision. Children must be kept clear of the opener.
Transmitters or other control devices must never be given to children.
The user will observe the accident prevention regulations and the applicable standards in Germany. In other countries, the user must comply with the applicable national regulations.
The guideline “Technical regulations for workplaces ASR A1.7” of the German committee for workplaces (ASTA) is applicable for commercial use.
The guidelines described must be observed and complied with.
This applies for the use in Germany. In other countries the user must comply with the applicable national regulations´.
General safety instructions
Basic safety instructions for operation
Follow the basic safety instructions listed below.
The opener must not be used by children or persons with restricted physical, sensory or mental capacity or who lack experience and knowledge. All users must be specially instructed and have read and understood the installation and operating manual.
Children must never play with or use the opener, even under supervision. Children must be kept clear of the opener. Transmitters or other control devices must never be given to children.
![]()
![]()
Danger if not observed!
If safety instructions are not observed, serious injury or death may result.
• All safety instructions must be observed to prevent serious injury or death.
![]()
![]()
Danger due to electric current!
Contact with live parts may result in electric current flowing through the body. Electric shock, burns or death may result.
- Installation, testing and replacement of electrical components may only be carried out by an trained electrician.
- The opener must be disconnected from the power supply before working on the opener.
- If a battery pack is used, it must be disconnected.
- Then check that the opener is disconnected from the power supply.
![]()
![]()
Danger due to use of the opener with incorrect setting or when it is in need of repair!
If the opener is used despite incorrect settings or if it is in need of repair, severe injury or death may result.
• The opener may only be used with the required settings and in the proper state.
![]()
![]()
Danger of hazardous substances!
Improper storage, use or disposal of battery packs, batteries and opener components are dangerous for the health of humans and animals. Serious injury or death may result.
- Battery packs and batteries must be stored out of the reach of children and animals.
- Keep batteries and battery packs away from chemical, mechanical and thermal influences.
- Do not recharge batteries.
- Old batteries, old battery packs and opener components may not be disposed of with household waste. They must be disposed of properly.
![]()
![]()
Danger of entrapment!
Persons may be trapped inside the garage.
If trapped persons cannot free themselves, severe injury or death may result.
- Check the function of the emergency release at monthly intervals, particularly from inside in the door CLOSE end position and if necessary, also from outside.
- Faults must be repaired without delay.
![]()
![]()
Danger due to projecting parts!
Door leaves or other parts must not protrude into roads or public pathways. This also applies while the door is moving.
Persons or animals may be seriously injured.
- Parts must not project into roads or public footpaths.
![]()
![]()
Danger due to falling parts of doors!
Actuating the emergency release can lead to uncontrolled door movement if
- springs are weakened or broken.
- the door has not been optimally weight-balanced.
Falling parts may cause a hazard. Severe injuries or death may result. - Check the weight balance of the door at regular intervals.
- Pay attention to the movement of the door when the emergency release is actuated.
- Keep clear of the movement area of the door.
![]()
![]()
Danger of entrapment!
Persons or animals in the movement area of the door may be trapped and pulled along with the door. Severe injuries or death may result.
- Keep clear of the moving door.
![]()
![]()
Danger of crushing and shearing!
If the door moves with persons or animals in the movement area, crushing and shearing injuries may be caused by the mechanism and safety edges of the door.
Only use the opener in direct view of the door.
- Always keep the moving door in sight.
- Persons or animals must not be in the range of movement of the door.
- Never put your hand near the door or moving parts when it is moving. In particular, do not reach into the moving push arm.
- Do not reach into the ceiling mounting unit when the carriage is running along the rail.
- Dot not drive through the door until it has been fully opened.
- Store the transmitter so that accidental operation, e.g., by children or animals, is impossible.
![]()
![]()
Danger due to optical radiation!
Looking into an LED at short range for an extended period may cause optical glare. This may temporarily reduce vision. This may cause serious or fatal accidents.
- Do not look directly into an LED.
NOTE
The carriage is supplied with safety low voltage via the chain and the rail.
The use of oil or grease will greatly reduce the conductivity of the chain, rail and carriage. This may result in faults due to inadequate electrical contact.
The chain and rail are maintenance-free and must not be oiled or greased.
NOTE
Objects in the movement area of the door may be jammed and damaged.
Objects must not be in the range of movement of the door.
Additional safety information for the radio remote control
Follow the basic safety instructions listed below.
![]()
![]()
Danger of crushing and shearing!
The door can be actuated by radio.
If the door moves with persons or animals in the movement area, crushing and shearing injuries may be caused by the mechanism and safety edges of the door.
- The radio remote control may be used only if the door’s movement can be viewed directly.
- Persons or animals must not be in the range of movement of the door.
- Store the transmitter so that accidental operation, e.g., by children or animals, is impossible.
NOTE
If the door is not in view and the radio remote control is actuated, objects in the movement area of the door may be jammed and damaged.
Objects must not be in the range of movement of the door.
The user of the radio system is not protected from faults due to other telecommunications equipment or devices.
This includes radio-controlled systems that are licensed to operate in the same frequency range. If significant interference occurs, please contact your appropriate telecommunications office which has radio interference measuring equipment or radiolocation equipment.
For the Declaration of Conformity for the radio, see: www.sommer-usa.com
Description of function and product
The opener and its mode of operation

Fig. Door structure with opener
Sectional doors and other types of doors can be opened and closed with the electrically powered opener and its available accessories. The operator can be controlled, for example, with a handheld transmitter. The door can be opened and closed, locking and unlocking, with the membrane keypad of the wall control unit.
The rail is mounted on the ceiling and the lintel above the garage door. The carriage is attached to the door by a push arm. The carriage moves along the rail on a springmounted chain and opens or closes the door.
The transmitter can be stored in a holder in the garage or in the vehicle. A plug-in light for the wall control unit (Lumi) is included. It is automatically activated during operation.
For more information on using the opener with different types of doors or accessories, contact your qualified dealer.
Safety equipment
The opener stops and reverses slightly if it encounters an obstacle. This prevents injury and damage to property. The door will be completely opened.
If the power fails, the door can be opened from the inside by an emergency release or from the outside with a Bowden wire or emergency release lock. For more information, ask your qualified dealer.
Product designation

Fig. Carriage with labels (1, 2)
The following labels are attached to the carriage:
Warning label (1)
Type label (2) with the following information:
- exact type designation
- item number
- date of manufacture with month and year
- serial number
In case of questions or service, please supply the exact type designation, the date of manufacture and the serial number.

Fig. Control unit with labels
The label on the wall control unit provides more information about the connections.Explanation of symbols in the installation and operating manual
Tool symbols
These symbols refer to the use of tools required for installation.
| Philips screwdriver | |
| Wood drill 3/16” | |
| concrete drill 1/4” | |
| Wrench 1/2”, 3/8” | |
| Ratchet driver 1/2”, 3/8” |
Other symbols
| Drilling depth | |
| Audible locking noise or click |
Product contents

Fig. Product contents for the opener
- Wall control unit
- Rail, chain and carriage, pre-assembled
2.1) Isolator, pre-assembled on the chain
2.2) Limit stop, pre-assembled on the rail - Connecting sleeve, 2x
- Rail, 2x
- Plug-in unit, pre-assembled
5.1) Plug-in unit, pre-assembled, with control cable, 2-wire, approx. 5 m - Ceiling bracket, 2-parts
- Ceiling bracket hardware
- 2 bolts M8 x 20 (wrench size 1/2″) with 2 self-locking nuts M8 (wrench size 1/2″)
- Door arm
- Curved door arm
- Header bracket and pin with 2 locking c-clips
- 2 screws 8 x 60 mm (wrench size 1/2″) and 2 washers 5/16″ for the attachment to the header
- 2 pins with locking c-clip for door arms
- Emergency release handle
- Door bracket
- 4 self-drilling screws 1/4″ (wrench size 3/8″) for the door bracket
- Transmitter, preprogrammed, with visor clip, packaged separately
- Warning label
- Warning label for emergency release
- Installation and operating manual
Mounting for the wall control unit: - 6 mm wall plugs, 1/4″, 2x
- Washer, 2x
- Screw ∅ 4 x 50 mm, 2x
- Sealing caps, 2x
When unpacking, make sure that all items are included in the packages. If anything is missing, contact your qualified dealer.
The actual content may vary depending on the specifications.
Product contents for safety sensor kit

Fig. Product contents for safety sensor kit
| 1) 2 wires, length 32′ 9″ (10 m) 2) 1 transmitter safety sensor (green sticker) 3) 1 receiver safety sensor (red sticker) 4) 1 mounting bracket left | 5) 1 mounting bracket right 6) 2 wing nuts M6 7) 2 carriage bolts M6 8) 4 screws 3/8” |
Dimensions

Fig. All dimensions are in inches (mm)
Technical data
| 2060 pro+ | 2080 pro+ | 2110 pro+ | |
| Rated voltage | AC 120 V | ||
| Rated frequency | 60 Hz | ||
| Number of programmable remote buttons | 40 | ||
| Duty cycle | 40% | ||
| Emission value according to operating environment | <59 dBA – opener only | ||
| IP code | NEMA1, IP21 | ||
| Protection class | class 2 | ||
| Standard door height | 7′ and 8′ doors (<2,750 mm) | ||
| Max. door height with extensions | 24 ft. (up to 2 x 3.59 ft., 3 x 3.59 ft., 4 x 3.59 ft.) (7.10 m /up to 2 x 1,096 mm, 3 x 1,096 mm, 4 x 1,096 mm) | ||
| Speed* | 9.4 inch/sec. (240 mm/s) | 8.3 inch/sec. (210 mm/s) | 7 inch/sec. (180 mm/s) |
| Max. traction and pressure force | 600 N (0.75 HP) | 800 N (1 HP) | 1,100 N (1.25 HP) |
| Current consumption** | 1.0 A | 1.3 A | 1.5 A |
| Standby | <3 W | ||
* Depending on door and the operating conditions
** Values apply without lighting, Lumi pro+
Information about transmitter
The standard version includes 2 transmitters with batteries.
The radio frequency for the transmitters is 922,5 MHz.
![]()
![]()
Danger due to battery!
If swallowed, it could cause severe injury or death in just 2 hours.
- Store batteries in a safe place.
- Seek medical attention immediately.
See also the separate installation and operating manual for the transmitter.
Radio Operation Notice
This equipment has been tested and found to comply with the limits for Class B digital device, pursuant to part 15 of the FCC Rules. These limits are designed to provide reasonable protection against harmful interference in a residential installation.
This equipment generates, uses and can radiate radio frequency energy and, if not installed and used in accordance with the instructions, may cause harmful interference to radio or television reception, which can be determined by turning the equipment off and on.
The user is encouraged to try to correct the interference by one or more of the following measures:
- Reorient or relocate the receiving antenna
- Increase the distance between the equipment and the receiver
- Connect the equipment to an outlet on a circuit different from that to which the receiver is connected
- Consult the qualified dealer or an experienced radio/TV technician for help
INFORMATION
Battery Notice
- Always purchase the correct size and grade of battery most suitable for the intended use.
- Clean the battery contacts and also those of the device prior to battery installation.
- Remove batteries from equipment which is not to be used for an extended period of time.
- Remove batteries if spent or if product is to be left unused for a long time.
Door types and accessories
| Door type | Accessories | |
![]() | One piece door | No accessories required |
![]() | Sectional door with one rail | |
| Sectional door with low headroom | ||
![]() | Side-opening door, side-opening sectional door | |
![]() | Hinged double door | Hinged double door fitting |
Custom fittings are not included in the product contents.
For more information on accessories such as rail extensions, additional locking mechanism, custom fittings or different transmitters, contact your qualified dealer or see: www.sommer-usa.com
Tools and protective equipment
Required tools and personal protective equipment

Fig. Recommended tools and personal protective equipment for installation
You will require the tools shown above to assemble and install the opener. Lay out the required tools beforehand to ensure fast and safe installation.
![]()
![]()
Risk of eye injury!
Chips flying when drilling may cause serious injuries to eyes and hands.
• Wear safety glasses when drilling.
![]()
![]()
Risk of injury in the head region!
Impact with suspended objects may cause serious abrasions and cuts.
• Wear a safety helmet when installing suspended parts.
![]()
![]()
Risk of injury to hands!
Rough metal parts may cause abrasions and cuts when picked up or touched.
• Wear safety gloves for work such as deburring.
Wear your personal protective equipment. This includes safety glasses, safety gloves and a safety helmet.
Installation
IMPORTANT INSTALLATION INSTRUCTIONS
Please observe and comply with all instructions to ensure a safe installation.
People under the influence of drugs, alcohol, or medications that can influence their ability to react may not work on the opener.
The opener may only be installed by a qualified specialist. This installation and operating manual must be read, understood and complied with by the qualified specialist who installs the opener.
![]()
WARNING – To reduce the risk of severe injury or death:
- READ AND FOLLOW ALL INSTALLATION INSTRUCTIONS.
- Install only on a properly operating and balanced garage door. An improperly balanced door has the potential to inflict severe injury. Have a qualified service technician make repairs to cables, spring assemblies, and other hardware before installing the operator.
- Remove all pull ropes and remove or make inoperative all locks connected to the garage door before installing operator.
- Where possible, install the door opener 7 feet or more above the floor. For products equipped with an emergency release, mount the emergency release within reach, but at least 6 feet above the floor and avoiding contact with vehicles to avoid accidental release.
- For products equipped with a manual release, instruct the end user on the operation of the manual release.
- Do not connect the door operator to source of power until instructed to do so.
- Locate the control button:
(a) within sight of the door,
(b) at a minimum height of 1.53 m (5 ft) above floors, landings, steps or any other adjacent walking surface so small children are not able to reach it, and
(c) away from all moving parts of the door. - Install the Entrapment Warning Label next to the control button in a prominent location. Install the Emergency Release Marking. Attach the marking on or next to the emergency release.
- After installing the opener, the door must reverse when it contacts a 1-1/2-inch high object (or a 2 by 4 board laid flat) on the floor.
- “WARNING: To reduce the risk of injury to persons only enable the unattended operation function when installed with a sectional door.”
![]()
There is a possible risk of injury or death if a door does not fulfill the following conditions. The opener may only be installed when the following installation requirements and installation dimensions are met.
![]()
![]()
Danger if not observed!
If safety instructions are not observed, serious injury or death may result.
• All safety instructions must be observed to prevent serious injury or death.
![]()
![]()
Danger of falling!
Unsafe or defective ladders may tip and cause serious or fatal accidents.
• Use only a non-slip, stable ladder.
• Ensure that ladders are safely positioned.
![]()
![]()
Danger of entrapment!
Persons may be trapped inside the garage.
If trapped persons cannot free themselves, severe injury or death may result.
• Check the function of the emergency release at monthly intervals, particularly from inside in the door CLOSE end position and if necessary, also from outside.
• A second entrance, a release lock for unlocking from the outside must be installed!
![]()
![]()
Danger due to falling parts of doors!
If a door is incorrectly balanced, springs may break suddenly. Falling door parts may cause serious injury or death.
• The door must be stable.
• The door must not bend, rotate or twist when opening and closing.
• The door must move easily in its rails.
![]()
![]()
Danger due to falling ceiling and wall parts!
The opener cannot be installed correctly if ceiling and walls are unstable or if unsuitable fastening materials are used. Persons or animals may be struck
by falling parts of the wall, ceiling or opener. Severe injuries or death may result.
• Walls and ceiling must be stable.
• Only use permissible fastening materials appropriate for the supporting surface.
![]()
![]()
Danger of entrapment!
Loose clothing or long hair may be trapped by moving parts of the door. Severe injuries or death may result.
• Keep clear of the moving door.
• Wear tight-fitting clothing.
• Wear a hairnet over long hair.
![]()
![]()
Danger of crushing and shearing!
If the door moves with persons or animals in the movement area, crushing and shearing injuries may be caused by the mechanism and safety edges of the door.
• Only use the opener in direct view of the door.
• Always keep the moving door in sight.
• Persons or animals must not be in the range of movement of the door.
• Never put your hand near the door or moving parts when it is moving. In particular, do not reach into the moving push arm.
• Do not reach into the ceiling mounting unit when the the carriage is running along the rail.
• Do not drive through the door until it has been fully opened.
![]()
![]()
Danger of tripping and falling!
Unsafely positioned parts such as packaging, opener parts or tools may cause trips or falls.
• Keep unnecessary items away from the installation area.
• Place all parts where no persons are likely to trip or fall over them.
• General workplace guidelines must be observed.
![]()
![]()
Risk of eye injury!
Chips flying when drilling may cause serious injuries to eyes and hands.
• Wear safety glasses when drilling.
![]()
![]()
Risk of injury in the head region!
Impact with suspended objects may cause serious abrasions and cuts.
• You must wear a safety helmet when installing suspended parts.
![]()
![]()
Risk of injury to hands!
Rough metal parts may cause abrasions and cuts when picked up or touched.
• Wear safety gloves when deburring.
NOTE
If the ceiling and walls are not stable, parts of the ceiling and wall or the opener may fall. Objects may be damaged.
Ceiling and walls must be stable.
NOTE
To prevent damage to the door or opener, use only approved fastening materials such as wall plugs or screws. The fasteners must match the material of the ceiling and walls. This applies particularly for prefabricated garages.
INFORMATION
Ask your qualified dealer if you require additional installation accessories for different installation or attachment situations.
Installation requirements
The installation of the opener cannot compensate for a poorly installed or defective installation of the door. Only install the opener on a correctly aligned and easy-running door. Ask your qualified dealer for advice. An improperly aligned door can cause serious injury. The door must be stable, i.e. when opening and closing, it must not bow, sag or twist because high operational forces act on the door during opening and closing. Reinforce lighter doors made out of plastic or aluminum if necessary prior to the installation. Ask your qualified dealer for advice.
In all other cases, no additional weight-increasing parts may be attached to the door system or the opener. This can lead to dangerous situations such as, for example, breaking of the door mechanics or overloading the opener. The opener may only be installed in dry indoor rooms where there is no risk of explosion. The installation location must be protected against dust and splashed water. The opener may not be installed in areas that have an aggressive climate. Walls and ceiling must be solid and stable.

Fig. Distance to the vehicle
![]()
![]()
Danger of being pulled in!
If the opener is not mounted at an adequate height, persons or animals within the movement range of the door may be caught up and dragged along. Serious or fatal injury may result.
• The opener must be mounted at a height of at least 7” (2.13 m).
• There must be a distance of at least 6 feet (1.83 m) between the emergency release cord and the floor and a distance of 2” (50.8 mm) between the emergency release cord and vehicles.
Attach the opener at a height of at least 7’ (1,83 m) above the floor and a minimum distance of 2″ (50 mm) to the vehicle including all attached vehicle accessories such as a roof rack etc.
![]()
![]()
Danger due to electric current!
Contact with live parts may result in electric current flowing through the body. Electric shock, burns or death may result.
• Installation, testing and replacement of electrical components may only be carried out by an electrician.
• Do not connect the opener to the mains voltage until installation has been completed.
The opener must not be connected to the main power supply until installation has been completed, see chapter “9.1
Connection to a power outlet”.
Preparation for installation Removal of actuation parts
![]()
![]()
Danger of entrapment!
Persons or animals may be trapped by straps or cords and pulled into the movement zone of the door. Severe injuries or death may result.
• Remove straps and cords used for mechanical actuation of the door.
Before installation, remove:
• All cords or straps necessary to operate the door by hand.
Disabling mechanical locks
NOTE
If locks or other locking systems are installed on a mechanical door, they may block the opener. This may cause faults to or damage the opener. Before the installation of the opener, all mechanical locking systems must be disabled.
The mechanical lock on a door with an opener must be removed or disabled if it is not compatible with the opener.
One-piece door
Depending on the design of the door, it may be possible to open it approx. 2″ (50 mm) by hand. Spring catches can be installed to prevent this. Spring catches also lock the door to the opener.
The spring catches are connected to the opener by a lock set. When the door is opened, the spring catches are unlocked first and then the opener opens the door.
Use the upgrade set depending on the type of installation. For more information on the upgrade set, contact your qualified dealer or see: www.sommer-usa.com
Checking mechanical and weight compensation
![]()
![]()
Danger due to falling parts of doors!
Wire ropes, spring sets or other fittings may break suddenly.
Persons or animals may be struck by falling parts of the door. Severe injuries or death may result.
• Wire ropes, spring sets and other door fittings must be inspected by qualified persons before installation.
• Malfunctions or defects must be eliminated before installing the opener.
![]()
![]()
Danger of entrapment!
If the force setting is too high, persons or animals in the movement area of the door may be trapped and pulled along with the door. Severe injuries or death may result.
• The force setting is relevant to safety and must be carefully checked and if necessary adjusted by qualified specialists.
NOTE
If the weight compensation of the door is incorrectly adjusted, the opener may be damaged.
• The door must be stable.
• It must not bend, rotate or twist when opening and closing.
• The door must move easily in its rails.
- Check the mechanism of the door, such as wire cables, spring sets and other fittings.
Fig. 2 - Open door halfway.
⇒ The door must remain in this position.
⇒ The door must be moved easily by hand and must be balanced.
If the door moves upwards or downwards by itself, the weight compensation of the door must be adjusted.
Emergency release
In a garage without a separate entrance (e.g. wicket doors), the opener’s emergency release must be operable from outside. The emergency release must be routed to be accessible from the outside. This can be done with an emergency release lock. Ask your qualified dealer.
Installation of the opener system
The opener may only be installed if the installation requirements and dimensions are correct.
NOTE
Specify the position for mounting the opener on the door. Manually open and close the door several times. The door must be moved easily. The values are applicable for the entire life of the door. The door must also be maintained and inspected as specified by the door manufacturer.
Selecting the installation variant
The scope of delivery offers the option of implementing the following installation variants. Check your specific situation and select the optimum installation variant for you.
Installation situation A, B and C
Fig. Installation situation and installation variants A, B and C
Installation variant A
This variant is selected if there is a separate entrance to the garage. The wall control unit is installed near a power outlet. The integrated membrane keypad of the wall control unit can be used to open the door when entering the garage or to close the door when leaving the garage. The control cable is led out at the rear end of the rail, see Chapter “5.5 Installing the opener system for installations variants A, B and C”.
Installation variant B
This variant is selected when an existing device is being replaced by a new one and there is already a power outlet or other control lines such as buttons or photocells in this area. Here, the wall control unit is mounted on the ceiling in the rear area of the rail. The control cable of the plug-in unit is also led out at the rear end of the rail, see chapter “5.5 Installing the opener system for installations variants A, B and C”.
Installation variant C
This version is selected when there is a power outlet which can be used for the wall control unit located near the door opening. Here, the control cable is led out at the front end of the rail. Plug the plug-in unit without control cable in on the opposite side of the rail, see chapter “5.5 Installing the opener system for installations variants A, B and C”.
Installing the opener system for installations variants A, B and C
Installation situations A and B are described. For installation version C, the plug-in unit with cable must be inserted into the opposite side of the rail; see also the section “Variant C” in this chapter.

Fig. 1
![]()
![]()
Risk of injury to hands!
Rough metal parts may cause abrasions and cuts when picked up or touched.
• You must wear safety gloves when working with rough metal parts.
- Open the package.
Place the two cartons in the package beside the rails and open them.
Check the rodukt contents istend in this installation and operating manual.
Fig. 2 - Remove the two connecting sleeves beside the carriage and attach to the rail on the left and right.
Fig. 3 - Attach a rail to each of the connecting sleeve.
Fig. 4 - Slide the plug-in unit with control cable into the rail behind the limit stop.
Lay the chain over the limit stop.
Fig. 5 - Rotate the chain 90° and insert it into the chain holder of the plug-in unit with control cable.
Rotate the chain back 90°.
Fig. 6 - Slide the plug-in unit without control cable in on the opposite side of the rail.
Fig. 7
NOTE
The chain must be parallel to the rail to prevent damage to the operator. - Rotate the chain 90° and insert it into the chain holder of the plug-in unit without control cable. Rotate the chain back 90°.
⇒ The entire chain is attached.
Fig. Plug-in unit with control cable
NOTE
The plug-in unit with control cable must not be tensioned.
Fig. 8 - Tension the chain to the mark on the plug-in unit without control cable, see arrow in the detailed view.
Fig. 10 Take the celing bracket apart. Set each bracket against the rail and slide the brackes. Turn the rail to install the ceiling bracket.
⇒ The rail is prepared for the remainder of the installation.
NOTE
• Depending on the door construction, the installation situation and the installation type, it should be checked whether a second ceiling suspension unit is necessary.
Variant C
The control cable is led out at the front end of the track.
Fig. Plug-in unit with control cable
NOTE
The plug-in unit with control cable must not be tensioned.
Attachment to the door

Fig. 1.1 Highest point for a door
X = Door’s highest position
- Open the door and measure the distance between the top edge of the door and the ceiling where the clearance is the smallest. This point is called the door’s highest position. This distance must be at least 1-3/8″ (35 mm). The distance between this point and the lower edge rail (1) must amount to at least 3/16″ (5 mm). If the clearance is less, the opener must be moved back and a longer push rod must be attached. Please ask your qualified dealer.
Fig. 2 and Fig. 3 - Close the door.
Determine the door’s center point and mark this on the header as a vertical guide line.
Where needed, an auxiliary construction must be mounted. - Determine the horizontal guide line for the header bracket and mark it. It must be at least 3/16″ (5 mm) from the door’s highest position (X).
- Center the header bracket on the vertical guideline and mark the horizontal set of bracket holes.
- Drill two 1/4″ pilot holes at the marked mounting points on the header (lintel). Pay attention to the material strength of the header.
- Fasten the bracket securely to the header with the hardware provided.
Fig. 7 - Open the door. Transfer the mark from the center of the door to the ceiling.
- Close the door. Position the opener on the garage floor below the header bracket. Have someone hold the opener if spring is in the way.
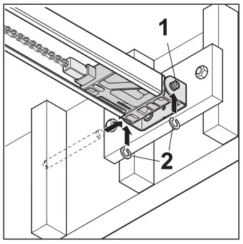
Fig. 9 - Slide the rail into the header bracket and secure with the pin (1). Attach locking c-clips (2) to secure.
Fig. 10
NOTE
The opener must always be installed parallel to the rails or the door to prevent damage to the opener and the rails. - Align the opener parallel to the rails of the door. Use the carton from the wall control unit to prevent scratches.


Danger of falling!
Unsafe or defective ladders may tip and cause serious or fatal accidents.
• Use only a non-slip, stable ladder. - Raise the opener onto a ladder. You will need help at this point if the ladder is not tall enough.
- Open the door all the way and rest the opener on the top section.
Fig. 13 - Align the rail parallel to center of the door at the rear. Align the ceiling bracket. The distance between the wall control unit and the ceiling holder should be 4”-28″ (100-700 mm). Check the alignment of the rail with a spirit level if necessary.
Fig. 14 - On finished ceilings, attach a sturdy metal bracket to structural supports before installing the opener. This bracket and fastening hardware are not provided.
- Measure the distance from the ceiling bracket to the structural support.
- Cut two pieces of the hanging bracket to required lengths.
- Attach one end of each hanging bracket to the support mounted to the ceiling.
- Attach the other end of each hanging bracket to the ceiling bracket.
Fig. 19 - Connect the ceiling holders to the ceiling with suitable fastening material.
⇒ The rail is attached to the ceiling.

Risk of injury to hands!
Rough, projecting metal parts may cause abrasions and cuts when picked up or touched.
• Projecting perforated strips must be sawn off and smoothed to prevent injury.
• Wear safety gloves when deburring.
Fig. 20

Danger of entrapment!
Persons or animals in the movement area of the door may be trapped in a loop of the emergency release handle and the door may be accidentally unlocked. Severe injuries or death may result.
• The included emergency release handle must be used.
NOTE
The emergency release handle may cause damage, e.g. scratches on the vehicle. The distance between the garage floor and the emergency release cord must be less then 6′ (<1,8 m). The emergency release handle must be at least 2″ (50 mm) from moving and fixed parts throughout its complete path. - Attach the emergency release handle to the emergency release cord. Tie a knot at the end of the cord.
Tie another knot over the first one to produce one big knot. Push the emergency release handle towards the knot.
Shorten the cord if necessary.
Fig. 21 - Pull the emergency release handle once to unlock the carriage. Slide the carriage forward to the door. Close the door.
Fig. 22 and Fig. 23

Risk of injury in the head region!
Impact with suspended objects may cause serious abrasions and cuts.
• Wear a safety helmet when installing suspended parts. - Align the door bracket (1) to the center of the door (guide line) and the top section of the door and mark four mounting points.
- Attach the door bracket (1) with four self-drilling screws 1/4″ (2) using a 3/8″ wrench.

- Attach the curved door arm (1) to the door bracket (2). Guide the bolt, (3) through the hole in the door bracket and in the curved door arm and secure with the locking c-clip (4).
- Attach the door arm (5) to the carriage (6). The open side of the door arm must be facing towards the ceiling. Guide the bolt (7) through the holes in the carriage and the door arm. Secure with the locking c-clip (8).

- Slide the curved door arm (1) into the door arm (2) and secure with two bolts 3/8″ (3) and two self-locking nuts 3/8″ (4).
Tighten the nuts using a 1/2″ open-end wrench. While tightening, hold the screws in place using a second 1/2″ open-end wrench. Basic position of the screw arrangement, see graphic. The length of the door arm can be adjusted if necessary.
NOTE
The door must not rub on the opener or rails. This could damage the opener or rails. The opener must be offset. - Open the door completely by hand.
⇒ The limit stop automatically moves with the carriage.
NOTE
Do not push the door to the mechanical stop. This is because the opener will pull the door against the mechanical stop. This will apply tension to the door and it may be damaged. A clearance of 1.18″ (30 mm) is required.
INFORMATION
Alternatively, the limit stop can be pushed under the chain and clamped into the rail later. - Tighten the screw on the limit stop with a Phillips screwdriver without changing its position. Check the door OPEN end position:
Open the door fully for this. The carriage moves to the door OPEN position on the limit stop until a click noise is heard.
⇒ The door OPEN end position is set.
NOTE
In case of an emergency release, the door may independently open or close itself due to a broken spring or incorrect setting of the weight balancing. The opener could be damaged or destroyed.
INFORMATION
It can be locked and released in any door position. - Move door to center position.
⇒ The carriage moves with it. - Pull the emergency release handle.
⇒ Carriage is locked.
⇒ The door can only be moved by the opener.

Danger due to projecting parts!
Door wings or other parts must not project into roads or public footpaths. This also applies while the door is moving.
This may cause serious injury or death to persons or animals.
• Parts must not project into roads or public footpaths.
⇒ The door opener is completely assembled.
Installing the wall control unit
In particular, follow the basic safety instructions listed below.
![]()
![]()
Danger due to electric current!
Contact with live parts may result in electric current flowing through the body. Electric shock, burns or death will result.
- All work on electrical components must be carried out by a trained electrician.
- Before inserting the mains power plug for the first time, ensure that the voltage of the power source matches the voltage listed on the opener type plate.
- Do not connect the power supply until installation is complete.
- Disconnect the mains plug before working on the opener.
- If a battery pack is connected, disconnect it from the wall control unit.
- Check that the opener is not live.
- Secure the opener against being switched back on.
![]()
![]()
Danger of crushing and shearing!
The door can be actuated via the wall switch.
If the door moves and there are persons or animals in the movement area, crushing and shearing injuries may be caused by the mechanism and safety edges of the door.
- The membrane keypad of the wall control unit must be mounted within sight of the door.
- The membrane keypad of the wall control unit must be mounted at a height of at least 5 feet to ensure that children cannot operate the wall station.
- Children must not be allowed to operate the wall station/the opener.
- Always keep the moving door in sight.
- Persons or animals must not be in the range of movement of the door.
- Never put your hand near the door or moving parts when it is moving. In particular, do not reach into the moving push arm.
- Do not reach into the ceiling mounting unit when the carriage is running along the rail.
- Do not drive through the door until it has been fully opened.
NOTE
To prevent damage to the opener, do not connect the wall control unit to the power supply until installation is complete.
INFORMATION
The power cable is approx. 5,7′ (1.74 m) long.
INFORMATION
The power cord that has been provided must not be shortened or extended.
All devices to be connected externally must have safe isolation of the contacts from the mains voltage supply in accordance with IEC 60364-4-41.
Wiring for external devices must be installed in accordance with IEC 60364-4-41. All electrical wiring, including the control cable, must be firmly secured to prevent displacement.
INFORMATION
The drilling depth must be considered with respect to the ceiling and wall thickness, particularly with prefabricated garages. It may be necessary to reduce the hole depth. Only use permissible mounting materials appropriate for the supporting surface.
- Choose a suitable location for the wall control unit close to an existing power outlet. The maximum length of the control cable is 16.4′ (5 m), and it must not be extended. Note that the distance between the wall control unit and the power outlet must not exceed 5,7′ (1,74 m). The membrane keypad of the wall control unit must be installed at a height of at least 5′ (>1.53 m).

NOTE
The control unit cover is connected to the circuit board of the wall control unit via a connection cable. If a battery pack has been installed, it is also connected to the circuit board. Carefully remove the control unit cover and unplug the connections. This prevents damage to the wall control unit. - Loosen the screw on the wall unit of the control unit cover and remove the control unit cover gently upwards.
- Unplug the connection cable for the membrane keypad from the wall control unit.
Fig. 4: Installation example

Risk of eye injury!
Chips flying when drilling may cause serious injuries to eyes and hands.
• Wear safety glasses when drilling. - Transfer the mounting points to the substructure. Drill two holes (Ø 1/4″ x 1,6″ / Ø 6 x 40 mm deep). Insert the two wall plugs. Affix the wall control unit with two screws and two washers, align the unit and firmly tighten the screws. Press the sealing plugs into the indentation to seal the housing.
- Route the control cable of the plug-in unit up to the wall control unit and secure to prevent displacement.

- Lay the control cable along the cable conduit on the rear side of the wall control unit up to the cable inlet. Feed the control cable into the wall control unit through the cable inlet.
- Shorten the control cable to no less than 7” (174 mm) in length, uncover the last 2” (50 mm) and strip the wires.

- Remove the below strain relief. Route the control cable in the wall control unit along the transformer up to the gn/rt terminal. Secure the control cable with the below strain relief to prevent displacement.
- Connect the bu wire of the control cable to the gn terminal. Connect the brown wire of the control cable to the rt terminal.
- Close the housing in reverse order.
⇒ Installation of the wall control unit is complete.
Other connection options such as buttons are described in chapter “6. Connection and special funtions of the wall control unit”.
Connection and special funtions of the wall control unit
Control unit cover of the wall control unit
![]()
![]()
Danger due to electric current!
Contact with live parts may result in electric current flowing through the body. Electric shock, burns or death will result.
- All work on electrical components must be carried out by a trained electrician.
- Disconnect the mains plug before working on the operator.
- If a battery pack is connected, disconnect it from the wall control unit.
- Check that the operator is not live.
- Secure the operator against being switched back on.
![]()
![]()
Danger due to hot surfaces!
After frequent operation, parts of the motor carriage or the control unit may become hot. If the cover is removed and hot parts are touched, they may cause burns.
• Allow the operator to cool down before removing the cover.
Removing the light and control unit cover
- Disconnect the operator from the mains voltage. Check that the operator is disconnected from the power supply.

NOTE
The control unit cover is connected to the circuit board of the wall control unit via a connection cable. If a battery pack has been installed, it is also connected to the circuit board. Carefully remove the control unit cover and disconnect the connections to prevent damage to the wall control unit. - Loosen the screw on the wall unit of the control unit cover and remove the control unit cover gently upwards.
- Unplug the connection cable for the membrane keypad from the wall control unit.
- If a battery pack is used, it must also be disconnected, see Chapter “8.1 Installing and removing battery pack”.
- Remove the control unit cover.
Attaching the control unit cover
- After working on the wall control unit, replace the control unit cover in reverse order.
- Connect the operator to the mains voltage. Check that the power supply is connected.
⇒ The operator is supplied with mains voltage.
Wall control unit pcb

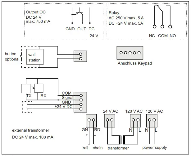
Fig. wall control unit pcb
Connection options to the wall control unit
| 1. DIP switches 2. ACCU slot Terminal for battery pack 3. Slot, keypad, black Terminal for the button connector cable of the pro+ wall control unit 4. Slot Terminal for RELAY, OUTPUT OC 5. Terminal, 2-pin power supply 120 V AC, 50/60 Hz 6. Terminal, 2-pin transformer primary side 120 V AC, 50/60 Hz | 7. Terminal, 2-pin 24 V AC transformer secondary side 8. pcb label 9. Terminal, 2-pin chain and rail, 24 V AC 10. Light slot, white terminal for LUMI Strip supplementary lighting 10. Terminal, 4-pin • safety sensors • external transformer, 24 V DC, 100 mA 12 Terminal, 2-pin wall button |
The version can vary depending on the type. This means the use of accessories can vary.
Connection options to the wall control unit
![]()
![]()
Danger of crushing and shearing!
The door can be actuated by a button. Persons who cannot see the door and are in the range of movement of the mechanism or the closing edges may be injured by crushing or shearing.
- Only install the switch in view of the door.
- Do not press the button unless the door is in view.
- Always keep the moving door in sight.
- Persons or animals must not be in the range of movement of the door.
![]()
![]()
Danger due to hot surfaces!
After frequent operation, parts of the carriage or the wall control unit may become hot. If the cover is removed and hot parts are touched, they may cause burns.
- Allow the opener to cool before removing the cover.
NOTE
Never lay the control cable along a power line, as this could cause interference in the wall control unit. Note the length of the control cable and install it correctly.
INFORMATION
The wall control unit detects a short-circuit between chain and rail and then switches the opener off.
INFORMATION
Control or regulating units in a fixed position must be mounted within sight of the door at a height of at least 5′ (1.53 m).
INFORMATION
The power cable is approx. 69” (1.74 m) long.
INFORMATION
The maximum cable length for connected accessories is 82′ (25 m).
| pcb section | Function/application example |
| BATTERY slot Terminal for battery pack | |
| Slot, black (only for typ pro+), 5-pin Terminal for the Keypad connector cable of the wall control unit | |
| Slot for RELAY, OUTPUT OC switching capacity max: 5 A/120 V AC max: 5 A/24 V DC | |
| Terminal, 2-pin power supply 120 V AC, 50/60 Hz | |
| Terminal, 2-pin transformer primary side 120 V AC 50/60 Hz | |
| Terminal, 2-pin 24 V AC transformer secondary side | |
| Terminal, 2-pin chain and rail, 24 V AC | |
| Light slot, white slot for LUMI Strip supplementary lighting | |
| Terminal, 4-pin 2-wire safety sensors any polarity | |
| Terminal, 4-pin power output for external devices, 24 V DC, 100 mA GND and +24 V DC | |
| Terminal, 2-pin wall button 2 potential-free |
The version can vary depending on the type. This means the use of accessories can vary.
INFORMATION
If a safety eye is used, it must not be actuated when starting the programming.
If a safety eye is used as a frame safety eye, move the door to the center position.
Setting the DIP switches on the wall control unit
Special functions can be set up with the DIP switches on the wall control unit. All DIP switches are set to OFF by default.
NOTE
Do not use a metal object to set the DIP switches, because this may damage the DIP switches or the PCB. Use a suitable tool to set the DIP switches, such as a flat plastic object.
| DIP switches on the wall control unit | ON | OFF |
| • Button 1 defined door OPEN • Button 2 defined door CLOSE | • Button 1 pulse sequence • Button 2 lighting function /partial opening | |
| • “Relay” Door status display: Relay is activated during door movement and if the door is not closed | • “Relay” lighting function: Relay can be used to switch external light | |
| • No function | • No function | |
| • No function | • No function | |
| • No function | • No function |
Installing the safety sensors
Please observe and comply with all instructions to ensure a safe installation.
![]()
![]()
Danger due to electric current!
Contact with live parts may result in electric current flowing through the body. Electric shock, burns or death may result.
- Installation, testing and replacement of electrical components may only be carried out by an electrician.
- The opener must be disconnected from the power supply before working on the opener.
- If a battery pack is used, it must be disconnected.
- Then check that the opener is disconnected from the power supply.
- Only connect the safety sensors to the opener terminals in the wall control unit.
- Some local construction ordinances do not allow an on-wall installation of wires. Please check with your local building inspector.
Fig. Test the safety sensors
The safety sensors kit safeguards the door. If the safety sensors are breached, the door’s closing procedure is stopped. If the door stops during closing because of the safety sensors, it subsequently opens completely.
The opener only functions with the connected safety sensors kit. Product contents see “3.5 Product contents for safety sensor kit”.
Installation requirements and dimensions
Fig. Installation of safety sensors
![]()
![]()
Danger of crushing and shearing!
If the assembly conditions are not complied with during installation, malfunctions and error messages may result when the safety sensors is operated. This may result in serious injury or even death.
The following assembly conditions must be complied with:
- Select an installation location outside the range of the opener and door mechanism.
- Comply with all specified installation conditions and installation dimensions.
NOTE
If the following installation conditions and installation dimensions are not observed, malfunctions and error messages may result. All specifications for installation of the safety sensors must be complied with.
NOTE
Never route the cable connection between the safety sensors and the wall control unit along a power supply line. This can cause the wall control unit to malfunction. Observe the length of the connection cable between safety sensors and wall control unit. Route the cable firmly.
The safety sensors must be correctly connected and aligned before the garage door opener will move in the downward direction. Do not mount the safety sensors in the area of the moving garage door. Mount at least 1″ (25 mm) away from it. The distance between the transmitter and receiver of the safety sensors set can range up to a maximum of 20′ (6.10 m). The distance from the floor must be selected so that an obstacle of 6″ (152 mm) hight can be reliably detected. This corresponds to a distance of 2″ (50 mm) from the bottom edge of the installation bracket to the floor. The safety sensors kit consists of a transmitter (green sticker) and a receiver (red sticker). Mount one safety sensor to the left and one to the right of the door. As a general rule, it does not matter which safety sensor is installed on the left or on the right side.
If the safety sensors are exposed to direct sunlight, the receiver (red sticker) should be installed on the side facing away from the sun.
For garages with multiple doors (top view)

Fig. Installation on multiple doors
Install the safety sensors as shown in the diagram. A = receiver (red sticker), B = transmitter (green sticker). In this way, the safety sensors cannot influence each other through stray light.
Installation
Fig. 1 and Fig. 2
- Look for a suitable installation position for the mounting bracket (1) inside the garage to the left and the right of the door. Hold the mounting bracket (1) to the wall and mark the mounting points. The distance from the bottom edge of the installation bracket to the floor is 2″ (50 mm). The height and angle of the bracket can be adjusted through the slotted holes (2).
- Drill holes for the screws. (3). Screw in two screws (3).


Risk of eye injury!
Chips flying when drilling may cause serious injuries to eyes and hands.
• Wear safety glasses when drilling
- Pre-attach the carriage bolt M6 (1) and the wing nut M6 (2) to the mounting bracket (3).
- Slide the transmitter (4) over the head of the carriage bolt M6 (1) and tighten the wing nut M6 (2). The position of the safety sensors can be adjusted through the slotted holes(5). Mount the receiver on the opposite side in the same way.
- Run the two sets of wires (6) from the safety sensors to the wall control unit.
- Use staples to keep wires in place.
- Connect to wall control unit.
Connection of the safety sensors
The 2-wire safety sensors from SOMMER must be connected to the wall control unit. Initial operation is not possible without the safety sensors.
The safety sensors are automatically detected during initial operation.
INFORMATION
During initial operation, the safety sensors must not be actuated or the sensors interrupted by persons or objects.
Fig: Terminal block for the 2-wire safety sensors
Fig: Connecting diagramm for the 2-wire safety sensors
- Connect one wire of the transmitter to terminal (COM) and the other to terminal (Signal).
- Connect one wire of the receiver to terminal (COM) and the other wire to terminal (Signal).
- Check the function after connecting the 2-wire safety sensors.
Fig. Wall control unit – buttons
- (1) Left = Turn the lighting on and off
- (2) Middle = Open, stopp and close the door
- (3) Right = Locking or unlocking the opener
- (4) Upper right corner, status LED = red: Operator locked, green: Operator unlocked
Turning the lighting on and off
The button (1) lights up green when the wall station is ready for operation and the opener is not locked.
- Press the button (1).
⇒ Opener lighting switched on. - Pressing the button (1) again switches the opener lighting back off.
⇒ Opener lighting off.
INFORMATION
If the opener lighting is not switched off manually, it switches off automatically after 60 minutes. This value can be changed via SOMlink and a WiFienabled device.
The lighting cannot be switched off when the opener is moving.
Opening, closing and stopping the door
- Press the button (2) to open and close.
⇒ The door opens or closes depending on the starting position. - Press the button (2) during the opening or closing process.
⇒ The door stops: - Press the button (2) again.
⇒ The door moves into the respective starting position.
Locking or unlocking the opener
Unauthorized access can be prevented by locking the opener. For example in the absence of the user or to prevent unintentional activation with a handheld transmitter. The following functions are deactivated in the factory settings when the lock button is activated:
- Radio (handheld transmitter)
- Senso ventilation function
- Control device (corded external button)
To lock:
The button (3) on the wall station lights up green when the opener is unlocked. The button (3) lights up red when the opener has been locked by the wall station.
- Press and hold the button (3) for at least 5 seconds with the door closed.
⇒ Button (3) flashes green.
⇒ After 5 seconds, the button (3) lights up red.
⇒ Locking function activated.
⇒ All the functions of the opener are locked.
INFORMATION
If the door was still open, it can be closed using the handheld transmitter. Only then are all opener functions locked.
To unlock:
- Press the button (3) for at least 5 seconds.
⇒ Button (3) flashes red.
⇒ Button (3) lights up green.
⇒ Locking function deactivated.
⇒ All the functions of the opener are activated again.
INFORMATION
All locking and unlocking functions can be modified and adjusted with SOMlink and a WiFienabled device. For more information ask your specialist
dealer.
Output OC
The door status can be displayed with the Output OC (open collector output) accessory. Optional, external lighting (Lumi Strip) DC 24V max. 750 mA can also be switched. The function depends on the setting of the DIP switches. See also chapter “6.4 Setting the DIP switches on the wall control unit”.
Fig. Relay slot for Output OC
The Output OC accessory part is plugged into the Relay slot, see separate “Output OC” instructions.
Relay
External lighting such as the garage light, courtyard light or door status display can be controlled with the relay accessory part. The function depends on the setting of the DIP switches. See also chapter “6.4 Setting the DIP switches on the wall control unit”.
![]()
Fig. Relay slot
The Relay is plugged into the Relay slot on the wall control unit, see separate “Relay” instructions. The max. switching capacity is 250 V AC, 5
A or 24 V DC, 5 A.
| DIP switches on the wall control unit | ON | OFF |
| • “Relay” Door status display: Relay is activated during door movement and if the door is not closed | • “Relay” lighting function: Relay can be used to switch external light |
Installing the control unit cover of the wall control unit
- After working on the wall control unit, replace the control unit cover in reverse order, see 6.1 Control unit cover of the wall control unit”.
- Connect the opener to the main power supply. Check that the power supply is connected.
Connections and special functions of the carriage
Cover of carriage
![]()
![]()
Danger due to optical radiation!
Looking into an LED at short range for an extended period may cause optical glare. This may temporarily reduce vision. This may cause serious or fatal accidents.
• Do not look directly into an LED.
![]()
![]()
Danger due to hot surfaces!
After frequent operation, parts of te carriage or the control unit may become hot. If the cover is removed and hot parts are touched, they may cause burns.
• Allow the opener to cool before removing the cover.
Deinstalling cover of the carriage
Fig. 1
1. Press on the cover lock at the back of the carriage and remove the cover.
Installing cover of the carriage
Fig. 1
1. Insert the cover from the front and lock it to the carriage at the back.
Carriage pcb

Fig. Carriage pcb
Connection options on the carriage
| 1. LED, CH 1 – CH 4, red Display for radio channel 2. MAGNET slot, green Lock terminal 3. Slot, blue Limit switch terminal (OPEN), limit 4. pcb label 5. LEDs, opener lighting 6. MEMO slot Memo terminal 7. USART slot Interface 8. BUZZER slot, black Warning or alarm buzzer terminal 9. SENSO slot Senso terminal | 10. LASER slot, white Parking position laser terminal 11. MOTION slot, white, 3-pin Terminal for movement sensor 12. Terminal for safety contact strip 8k2/OSE 13. Terminal for wicket door contact potential-free 14. Status LED, green 15. Reset button, green 16 DIP switches 17 Radio button, red (radio) |
The version can vary depending on the type. This means the use of accessories can vary.
Connection options on the carriage
| pcb section | Function/application example |
| MAGNET slot, green Lock terminal Locking magnet | |
| MEMO slot Memo terminal Memory expansion for 450 transmitter commands | |
| USART slot Terminal e.g. module Home Automation | |
| SENSO slot Terminal for Senso Humidity sensor | |
| BUZZER slot, black Terminal for warning or alarm buzzer | |
| LASER slot, white Terminal for parking position sensor | |
| MOTION slot, white Terminal for movement sensor 3-pin | |
| Safety contact strip 8k2 terminal | |
| OSE safety contact strip terminal + 12 V = br OSE = gn GND = wh | |
| Wicket door fuse terminal (wicket door switch, reed contact etc.) Contact command (12 V/10 mA) normally closed contact, potential-free | |
| Output 12 V DC max. 100 mA, + 12 V, GND = wh Power supply for optional accessories, finger scanner or external lighting |
The version can vary depending on the type. This means the use of accessories can vary.
For more information on the accessories, contact your qualified dealer or see: www.sommer-usa.com
Observe in particular the following safety instructions for this chapter.
![]()
![]()
Danger due to electric current!
Contact with live parts may result in electric current flowing through the body. Electric shock, burns, or death will result.
- All work on electrical components may only be carried out by a trained electrician.
- The accessories must only be connected if the opener is disconnected from the power!
- Disconnect the mains plug before working on the opener. If a battery pack is connected, disconnect it from the wall control unit.
- Then check that the opener is disconnected from the power supply and secure it from switching on again.
Reducing illumination power of LEDs
![]()
![]()
Danger due to optical radiation!
Looking into an LED at short range for an extended period may cause optical glare. This may temporarily reduce vision. This may cause serious or fatal accidents.
- Do not look directly into an LED.
1. The illumination power of the LEDs can be reduced during adjustment work by pressing the reset button or radio button once briefly.
Explanation of radio channels
| LED | Radio channel | Setting/function |
| 1 | CH 1 | Pulse mode |
| 2 | CH 2 | Partial opening or lighting function |
| 3 | CH 3 | Defined OPEN |
| 4 | CH 4 | Defined CLOSED |
Programming the transmitter
Fig. 1
INFORMATION
If a command is not sent within 30 seconds, the radio receiver switches to normal operation.
INFORMATION
The original transmitter is already programmed to the opener.
- Press the radio button repeatedly to select the required channel.

- Press the desired button on the transmitter until the previously selected LED (CH 1, CH 2, CH 3, CH 4) is off.
⇒ LED goes out – programming is complete.
⇒ The transmitter has transferred the radio code to the radio receiver. - Repeat the above steps to program additional transmitters.
INFORMATION
Further transmitters cannot be programmed if all memory locations of the handheld transmitter are occupied.
If the memory capacity has been reached
A total of 40 handheld transmitter commands are available for all channels. If an attempt is made to program additional transmitters, the red LEDs of radio channels CH 1 – CH 4 flash. If more memory positions are needed, see Chapter “7.7 Information on Memo”.
Information on Memo
The use of the Memo depends on the version of the carriage control board.
The memory capacity can be extended to 450 transmitter commands using the optional Memo accessory part. When plugging in the Memo, all available transmitters are transmitted from the internal memory to the Memo and stored there. The Memo must remain plugged in on the wall control
unit.
No more transmitters are stored in the internal memory. Stored transmitters cannot be transmitted from the Memo back to the internal memory.
All radio channels, including the memory of the Memo, can be deleted, see Chapter “7.12 Deleting all radio channels in the receiver”.
INFORMATION
Delete the Memo on a new opener. Otherwise, all stored transmitters of an opener are deleted and must be reprogrammed.
Canceling programming mode
Press the radio button until all LEDs are out or make no input for 30 seconds.
⇒ Programming mode is cancelled.
- Press the radio button repeatedly to select the required channel.
Press and hold the radio button for 15 seconds.
⇒ The LED flashes after 15 seconds. - Release the radio button.
⇒ The radio receiver is in deletion mode. - Press the transmitter button for which the command is to be deleted in the radio receiver.
⇒ The LED goes out.
⇒ The deletion procedure is ended. Repeat for additional buttons as required.
Deleting the transmitter completely from the receiver
- Press and hold the radio button for 20 seconds.
⇒ The LED flashes after 15 seconds.
⇒ After another 5 seconds, the flash sequence changes to flashing. - Release the radio button.
⇒ The radio receiver is in deletion mode. - Press any button on the transmitter that is being deleted.
⇒ The LED goes out.
⇒ The deletion procedure is ended.
⇒ The transmitter is deleted from the radio receiver.
Repeat for additional transmitters as required.
Deleting radio channel in the receiver
- Press the radio button repeatedly to select the required channel.
Press and hold the radio button for 25 seconds.
⇒ The LED flashes after 15 seconds.
⇒ After another 5 seconds, the flash sequence changes to flashing.
⇒ After another 5 seconds, the LED remains steady. - Release the radio button.
⇒ The deletion procedure is ended.
⇒ All programmed transmitters on the selected radio channel are deleted from the radio receiver.
Deleting all radio channels in the receiver
- Press and hold the radio button for 30 seconds.
⇒ The LED flashes after 15 seconds.
⇒ After another 5 seconds, the flash sequence changes to flashing.
⇒ After another 5 seconds, the LED of the selected channel is on.
⇒ After another 5 seconds, all LEDs light up. - Release the radio button.
⇒ All LEDs are off after 5 seconds.
⇒ All programmed transmitters are deleted from the receiver.
⇒ Settings are restored.
Programming a second transmitter by radio (HFL)
Prerequisites for teach-in by radio
A transmitter must already be programmed on the radio receiver. The transmitters used must be identical. So, for example, a Pearl can only be programmed on a Pearl and a Pearl Vibe on a Pearl Vibe.
The key assignment of transmitter (A) that put the radio receiver into teach-in mode by radio is used for the new transmitter (B) that is to be programmed. The alreadyprogrammed transmitter and the new transmitter to be programmed must be situated in the range of the radio receiver.
Example:
- Button 1 on radio channel 1 and button 2 on radio channel 2 have been programmed by transmitter (A).
⇒ The newly-programmed transmitter (B) adopts the key assignment of transmitter (A): Button 1 on radio channel 1, button 2 on radio channel 2.
Restriction
The following settings are not possible:
- This function is not possible with the Pearl twin handheld transmitter.
- The targeted teach-in of a selected transmitter button on a radio channel.
Fig. 1
- Press buttons 1 + 2 of a programmed transmitter (A) for 3 – 5 seconds until the LED lights up on the transmitter.
⇒ The opener lighting flashes. - Release buttons 1 + 2 of the transmitter (A).
⇒ If a radio command is not transmitted within another 30 seconds, the radio receiver switches over to normal mode. - Press any key, e.g. (3) on the new transmitter (B) to be programmed.
⇒ The opener lighting remains steady.
⇒ Transmitter (B) has been programmed.
Resetting the wall control unit

Fig. Overview of the time sequence of the carriage status LED during reset
Fig. 1
INFORMATION
A SOMlink and a WiFi-enabled device are required to reset all parameters to the factory settings.
Reset of the safety equipment
1. Press the green reset button for 1 second.
⇒ Reset of the safety equipment.
Deleting the force values
1. Press the green reset button on the carriage for 5 seconds until the green status LED flashes slowly.
⇒ Force values are deleted.
Deleting force and position values
1. Press the green reset button on the carriage for 10 seconds until the green status LED flashes quickly.
⇒ Force and position deleted.
Reset
1. Press the green reset button on the carriage for 15 seconds until the green status LED goes out.
⇒ Reset settings are restored.
Setting the DIP-Switches on the carriage
Special functions can be set up with the DIP switches on the carriage.
The factory setting of the DIP switches is OFF, which is applicable for sectional doors.
NOTE
Do not use a metal object to set the DIP switches, because this may damage the DIP switches or the PCB.
The DIP switches can be set with a narrow, flat plastic object.
| DIP switch on motor carriage | ON | OFF |
| 1 | • Automatic closing function activated | • Automatic closing function deactivated |
| 2 | • Partial opening activated/ • Lighting function deactivated | • Partial opening deactivated/ • Lighting function activated |
| 3+4 | ||
| 3 | ||
| 4 |
Automatic closing function – defining basic values
When automatic closing is activated, the door is opened by a pulse.
Only enable automatic closing feature in conjunction with the SOMMER warning buzzer. Only original SOMMER accessories may be connected. Accessory parts can be obtained from your qualified dealer or via: www.sommer-usa.com
![]()
![]()
Risk of injury during automatic closing!
Automatically closing doors can injure people or animals in the movement area of the door when the door is closing. This may cause serious or fatal
injury.
- Always keep the moving door in sight.
- Persons or animals must not be in the range of movement of the door.
- Never put your hand near the door or moving parts when it is moving. In particular, do not reach into the ceiling holder or the push arm.
- Do not drive through the door until it has been fully opened.
NOTE
If the door is not in view and the opener is actuated, objects in the movement area of the door may be jammed and damaged.
Objects must not be in the range of movement of the door.
INFORMATION
The door opens completely if it hits an obstacle.
INFORMATION
An acoustic warning signal must be connected for the automatic closing function. Use only the original buzzer accessory part for this purpose.
- Close the door.
- Set DIP switch 1 to ON.
- The hold-open time of the door is 30 seconds. Every new command within 30 seconds restarts the open holding time. The door opens by pressing button 1 on the transmitter. The door movement cannot be stopped with the transmitter.
- The door closes automatically after 30 seconds. The closing movement can be stopped by a command with the transmitter.
⇒ Door opens completely – reversal of direction. - The door starts the closing process again after 30 seconds.
⇒ Door is CLOSED.
INFORMATION
The factory setting is semi-automatic closing with a preset hold open time of 30 seconds. The hold open time is started at the door OPEN end position and from partial opening. This setting and the selection of a fully automatic closing can be adjusted via SOMlink and with a WLAN-enabled terminal.
Adjusting the lighting function
The opener lights on the carriage can be switched on and off separately over radio channel CH 2. This function is available in the factory setting.
Program the desired transmitter button on radio channel CH 2.
The factory setting of DIP switch 2 is OFF, which is applicable for the lighting function.
INFORMATION
The lighting function or partial opening can be operated.
- Set DIP switch 2 on the carriage to OFF.
- Press the radio button repeatedly to select the radio channel CH 2. Program the lighting function on the desired transmitter button.
⇒ The lighting function is available.
The opener lights on the carriage can be switched on and off with the transmitter button.
INFORMATION
If the opener lights are not switched off manually, they switch off automatically after 60 minutes. This value can be changed via SOMlink and a WiFi-enabled device.
Other lights and functions are available with the LUMI Strip and the relay accessories. They are similar to the carriage lighting functions. The relay offers additional lighting functions for inside and outside.
LUMI Strip and the relay are not included in the delivery. Both accessories can be purchased from your qualified dealer or see: www.sommer-usa.com
12 V output
The use of the 12 V output depends on the version of the carriage circuit board.
This output can be used for the power supply of external accessories. The 12 V output offers 2 operating modes. 12 V DC, max. 100 mA are available for them.
Fig. Output 12 V
Operating mode 1 (factory setting)
Power supply for external devices, for example finger scanners mounted in the door panel.
Operating mode 2 (external lighting)
In this operating mode, external lighting can be connected and switched via the CH2 radio channel, for example lighting with LEDs. This operating mode can only be activated via SOMlink and a WiFi-enabled device.
In the “External lighting” operating mode, the OSE/8K2 safety device can no longer be used on the carriage.
INFORMATION
If the “External lighting” operating mode is used, the opener lighting works with reduced illumination power.
Setting partial opening
This function partially opens the door.
Example:
A side-opening sectional door can be opened to allow a person to pass through. The partial opening can only be used by radio.
INFORMATION
The lighting function or partial opening can be operated.
INFORMATION
The specified partial opening can be from any position of the door.
- Close the door completely up to the door CLOSE end position.
- Press the radio button repeatedly to select radio channel CH 2 and to program the function to the desired transmitter button.
- Set DIP switch 2 on the carriage to ON.
- Press the desired button on the transmitter for the partial opening function.
⇒ The door moves in door OPEN direction. - Press the desired button on the transmitter again to stop it.
⇒ The door stops at the desired position.
⇒ The partial opening function is programmed.
Deleting partial opening
- Set DIP switch 2 on the carriage to OFF.
- Open the door completely up to the door OPEN end position.
⇒ Partial opening is deleted.
To program a new position, see chapter “7.19 Setting partial opening”.
HomeLink programming
- For the first time programming with a SOMMER pro+ opener, press and hold all 3 HomeLink buttons for approximately 30 seconds. Release only when the HomeLink indicator light turns off.
INFORMATION
Do not perform this step when programming the additional HomeLink buttons. - To ensure HomeLink is in the proper training mode, press and hold each of the buttons individually.
⇒ Indicator light blinks rapidly for 2 seconds and then turns to a continuous light.
Fig. 1

Danger of falling!
Unsafe or defective ladders may tip and cause serious or fatal accidents.
• Use only a non-slip, stable ladder.
INFORMATION
A second person makes the following steps quicker and easier. - At the carriage, locate the radio button.
- Press and release the radio button.
⇒ LED is activated.
INFORMATION
Once the button is pressed, there are approximately 30 seconds in which to initiate the next step. - Return the vehicle and firmly press and hold the desired HomeLink button to be programmed for two seconds and release.
- Repeat the „press/hold/release“ a second time to activate the door.
You may need to repeat this sequence for pressing the radio button on the carriage and then pressing the HomeLink button in the vehicle up to 3 times to complete the training process.
⇒ HomeLink should now activate the rolling code equipped opener.
For more information please visit: www.homelink.com
Connecting the safety contact strip
Either an OSE (opto-electronic safety contact strip) or an 8k2 (electric safety contact strip) can be connected. During commissioning, the control unit automatically detects which version it is and sets itself to that version. If a safety contact strip is retrofitted on a programmed system, the control unit must be reset, see Chapter “10.13 Carrying out a reset”. As set at the factory, the safety contact strip is only effective in the Close direction. The direction of action can be changed with the SOMlink.
| Terminal block | 8k2 |
| gn wh | |
| Terminal block | OSE |
| +12 V = br OSE = gn GND = wh |
The safety contact strip in the door CLOSE direction of motion is triggered:
⇒ Operator stops and opens the door slightly.
⇒ The obstacle is released.
INFORMATION
In automatic closing operating mode, the operator stops and opens the door completely. The door closes automatically after the hold open time. If the door encounters the obstacle again, the operator stops and reverses completely to the door OPEN end position. The door stops there and the automatic closing function is interrupted. The hold open time does not start again until a command is received. The door is then automatically closed.
Wicket door safety device
The wicket door safety device prevents operation of the door with open wicket doors.
- The wicket door safety device must be installed so that the switch reliably detects the open doors. Do not install the wicket door safety device on he hinge side.
- Connect the wicket door safety device on the terminal block on the carriage. The contact command is at 12 V/10 mA. The normally closed contact is potential-neutral.
- Check the function.
INFORMATION
If the wicket door is opened, the opener lighting on the carriage switches on. If the door closes, the opener lighting lights up for the set lighting time and then switches off. The lighting time can be modified with SOMlink and a WiFi-enabled device.
INFORMATION
If the wicket door remains open longer than 60 minutes, the opener lighting switches off automatically after 60 minutes. This value can be changed via SOMlink and a WiFi-enabled device.
INFORMATION
If the wall control unit receives a new command with the wicket door open, the LEDs of the opener lighting change from permanent to blinking light.
SOMlink
SOMlink makes it possible for qualified specialists to change many functions and settings on the door opener. These include force and speed values as well as operating parameters and other convenient functions.
If you would like to make changes, contact your specialist dealer.
INFORMATION
SOMlink is a combination of an additional device and a web-based application for changing door opener functions. Since safety-relevant values can also be changed, SOMlink is only sold to qualified specialists. All changes to settings by the SOMlink are logged.
INFORMATION
All opener parameters are reset to the factory settings by a factory reset.
All settings via SOMlink and WiFi-enabled device are also reset. The DIP switches can only be manually reset.
Battery pack
Installing and removing battery pack
The battery pack can bridge approximately 5 cycles within 12 hours in the event of a power failure. Only a qualified electrician is permitted to install, test and replace the battery pack. See Chapter “6.1 Control unit cover of the wall control unit”. Follow the instructions in the separate installation and operating manual for the battery pack.
NOTE
If a battery pack has been installed, it is connected to the circuit board.
Carefully remove the control unit cover and disconnect the connections to prevent damage to the wall control unit.
INFORMATION
Only an original battery pack from SOMMER may be used.
INFORMATION
Initial operation is not supported if the battery pack is the sole power supply.
Mains voltage is required for initial operation of the opener.
INFORMATION
The battery pack can only be recharged for a limited number of cycles. This depends on the use and settings.
Installing the battery pack
- Disconnect the opener from the mains voltage. Check that the opener is disconnected from the power supply.
- Loosen the screw on the wall unit of the control unit cover and remove the control unit cover gently upwards, see chapter “6.1 Control unit cover of the wall control unit”.
- Unplug the connection cable for the membrane keypad from the wall control unit, t.
Fig. 4 - Place the battery pack in the control unit cover and fasten with two cable binders.
Fig. 5 - Place the control unit cover on the bottom of the wall control unit and plug the connection cable for the battery pack into the ACCU slot.
- Set DIP switch 3 on the wall control unit to “ON.”
- Plug the connection cable for the membrane keyboard into the circuit board, see chapter “6.1 Control unit cover of the wall control unit”.
- Place the control unit cover on the wall unit and screw on the cover.
- Supply the opener with the mains voltage. Check that the power supply is connected.
Removing the battery pack
The battery pack is removed in the reverse order, see chapter “8.1 Installing and removing battery pack”.
![]()
![]()
Danger of hazardous substances!
Improper storage, use or disposal of battery packs, batteries, and opener components are dangerous for the health of humans and animals. Serious injury or death may result.
- Battery packs and batteries must be stored out of the reach of children and animals.
- Keep battery packs and batteries away from chemical, mechanical, and thermal influences.
- Do not recharge old battery packs and batteries.
- Components of the opener, as well as old battery packs and batteries, must not be disposed of with household waste. They must be disposed of properly.
NOTE
Dispose of all parts in accordance with local or national regulations to avoid environmental damage.
INFORMATION
All opener components that have been taken out of service must not be disposed of with household waste, as they contain hazardous substances.
The components must be disposed of correctly at an authorised recycling centre. The local and national regulations must be observed.
INFORMATION
Old battery packs and batteries must not be disposed of with household waste as they contain hazardous substances. These must be disposed of properly at municipal collection points or in containers provided by dealers. National guidelines must be observed.
Electrical connection
Connection to a power outlet
A power outlet is required for the electrical connection of the opener. This opener is not equipped for permanent wiring. Contact a licensed electrician to install a suitable receptacle if one is not available.
A power outlet must be installed by qualified electricians only. The power outlet must be protected by a fuse. Local and national regulations (e.g. NEC) must be observed. People under the influence of drugs, alcohol, or medications that can influence their ability to react may not work on the opener. To reduce the risk of electric shock, this equipment has a polarized plug (one blade is wider than the other). This plug will only fit into a polarized outlet one way. If the plug does not fit fully in the outlet, reverse the plug. If it still does not fit, contact a qualified electrician to install the proper outlet. Do not change the plugin any way.
![]()
![]()
Danger due to electric current!
Contact with live parts may result in electric current flowing through the body. Electric shock, burns, or death will result.
- All work on electrical components may only be carried out by an electrician.
- Before connecting in the mains power plug, ensure that the voltage of the power source corresponds with the voltage listed on the opener type plate. Do not plug in the mains plug until the opener is completely installed.
- Disconnect the mains plug before working on the opener. If a battery pack is connected, disconnect it from the wall control unit.
- Then check that the opener is disconnected from the power supply.
NOTE
Do not connect the wall control unit to the power supply until the installation is complete to prevent damage to the opener.
Fig. Distance between wall control unit and power outlet Note that the distance between the wall control unit and the power outlet must not exceed 69″ (1.74 m).
INFORMATION
The power outlet must be installed as follows:
- within easy reach of the wall control unit power cable
- easily visible and clear of obstacles
INFORMATION
The power cable is approx. 69″ (1.74 m) long.
INFORMATION
The original power cord may not be shortened or extended.
All devices to be connected externally must have safe isolation of the contacts from the main power supply in accordance with IEC 60364-4-41. Wiring for external devices must be installed in accordance with IEC 60364-4-41.
All electrical wiring must be firmly secured to prevent displacement.
Initial operation
Safety information for installation
![]()
![]()
Danger if not observed!
If safety instructions are not observed, serious injury or death may result.
- All safety instructions must be observed to prevent serious injury or death.
![]()
![]()
Danger of entrapment!
Persons or animals in the movement area of the door may be trapped and pulled along with the door. Severe injuries or death may result.
- Keep clear of the moving door.
- Wear tight-fitting clothing.
- Wear a hairnet over long hair.
![]()
![]()
Danger of crushing and shearing!
If the door moves with persons or animals in the movement area, crushing and shearing injuries may be caused by the mechanism and safety edges of the door.
- Only use the opener in direct view of the door.
- Always keep the moving door in sight.
- Persons or animals must not be in the range of movement of the door.
- Never put your hand near the door or moving parts when it is moving. In particular, do not reach into the moving push arm.
- Do not reach into the ceiling mounting unit when the carriage runs along the rail.
- Do not drive through the door until it has been fully opened.
![]()
![]()
Danger due to optical radiation!
Looking into an LED at short range for an extended period may cause optical glare. This may temporarily reduce vision. This may cause serious or fatal accidents.
- Do not look directly into an LED.
NOTE
Objects in the movement area of the door may be jammed and damaged.
Objects must not be in the range of movement of the door.
INFORMATION
The control unit detects a short-circuit between chain and rail and then switches the opener off.
INFORMATION
If a safety sensor is used, it must not be actuated when starting the programming.
If a safety sensor is used as a frame safety sensor, move the door to the center position.
INFORMATION
Observe the sticker on the wall control unit.
Initial operation
Before initial operation, read this chapter with special care to ensure that you can make the adjustments to the opener safely and optimally.
![]()
![]()
Danger of entrapment!
If the force setting is too high, persons or animals in the movement area of the door may be trapped and pulled along with the door. Severe injuries or death may result.
- The opener may only be operated if a nonhazardous force value has been set.
- The force setting is relevant to safety and must be carefully checked and if necessary adjusted by qualified specialists.
- The force setting must be low enough to ensure that the closing force poses no risk of injury.
NOTE
Do not use a metal object to set the DIP switches, because this may damage the DIP switches or the PCB. Use a suitable tool to set the DIP switches, such as a flat plastic object.
INFORMATION
The force setting must be checked after installation of the opener. See also chapter “11.1 Testing obstacle detection”.
INFORMATION
Stay in the garage during initial operation, particularly when programming.
INFORMATION
The operating forces can be modified and adjusted with SOMlink and a WLAN-enabled terminal.
The factory setting of the DIP switches is OFF, which is applicable for sectional doors.
The carriage has an automatic force setting. The carriage memorizes the required force during the OPEN and CLOSE door movements and stores it when the end position has been reached.

- Open the cover of the motor carriage. Set the DIP switches on the motor carriage depending on the door.

- Compare the existing power supply with the type plate. Plug the wall control unit power plug into the power outlet.
⇒ The status LED of the carriage flashes green.
- After the opener has been connected to the power supply, its first movement after a pulse is always door OPEN.
Press button 1 briefly on the preprogrammed transmitter. See also the separate installation and operating manual for the transmitter.
⇒ The carriage moves slowly to the door OPEN end position and automatically switches off at the limit stop.
⇒ The opener LEDs flash.
- Press button 1 on the transmitter again briefly.
⇒ The carriage moves slowly in the door CLOSE direction.
⇒ The opener LEDs flash.
The carriage switches off automatically when it reaches the factory-set closing force at the door CLOSE end position.
⇒ The opener LEDs flash in a different sequence.
- Press button 1 on the transmitter briefly (< 1 second) to save the end position.
⇒ The opener LEDs flash briefly in a fast sequence. The opener automatically starts its programming process:
Fig. 5.1
⇒ The carriage moves automatically to the door OPEN end position and programs the required operating force.
⇒ The carriage automatically moves to the door CLOSE end position. If necessary, the carriage moves over the path several times for programming with a greater door weight.
⇒ The carriage automatically moves briefly in the door OPEN direction to program the soft running.
⇒ The door automatically returns to the door CLOSE end position.
⇒ The carriage automatically moves to the door OPEN end position.
⇒ The opener LEDs remain steady.
⇒ Opener is programmed and ready for use.
INFORMATION
The carriage stops if the door is difficult to move. The door mechanism must be checked, see chapter “10.4 Detecting obstacles during force programming”.
INFORMATION
The carriage stops if the door is difficult to move. The door mechanism must be checked.
INFORMATION
It may be necessary to adjust the end positions. See chapter “10.5 Mechanical adjustment of the end positions”.
Carrying out manual initial operation
In the case of doors without lintel or without lintel panel, programming should be carried out manually. To do this, carry out steps 1 to 3 in Chapter “10.2 Initial operation” and then the steps below:
- Press button 1 on the handheld transmitter briefly.
⇒ The door begins to move toward the door CLOSE end position. - Before the door reaches the door CLOSE end position, press button 1 on the handheld transmitter again briefly.
⇒ The door stops. - To approach the desired end position for door CLOSE, press and hold button 1 on the handheld transmitter until the motor carriage moves briefly. Release button 1 on the handheld transmitter.
- The process can be repeated until the desired end position is reached.
- Press button 1 on the handheld transmitter briefly (<1 second) to save the door CLOSE end position.
- The door then starts the programming process; see Chapter “10.2 Initial operation”, section The opener automatically starts its programming process.
Detecting obstacles during force programming
If the door detects an obstacle during its first door CLOSE movement and the force programming movements cannot be completed, the door stops.
NOTE
Check the movement path, mechanism, spring tension and the weight compensation to prevent damage to the door system.
- Press and hold button 1 on the transmitter.
⇒ The carriage moves briefly, makes a short stop and moves in the door CLOSE direction until the desired end position has been reached. - Release button 1 on the transmitter.
- Fine adjustment:
Press and hold button 1 on the transmitter until the carriage moves briefly. Release button 1 on the transmitter.- The process can be repeated until the desired end position is reached. Press button 1 on the transmitter briefly (< 1 second) to save the door CLOSE end position.
⇒ The carriage starts the automatic force programming run to the door OPEN end position.
⇒ The door starts the automatic door CLOSE force programming run.
- The process can be repeated until the desired end position is reached. Press button 1 on the transmitter briefly (< 1 second) to save the door CLOSE end position.
If an obstacle is detected again, the carriage stops and reverses.
- Press and hold button 1 on the transmitter.
⇒ The carriage starts without jerking because the end position of door is already saved.
⇒ The carriage moves to the end position, door CLOSE. - Release button 1 on the transmitter.
- Press button 1 on the transmitter briefly.
⇒ Restart automatic force programming movements.
⇒ On completion of the force programming movements, the carriage automatically moves to the door OPEN end position.
⇒ The opener LEDs remain steady.
⇒ Opener is programmed and ready for use.
Mechanical adjustment of the end positions
Increasing the closing pressure of the end position for door CLOSE

- Loosen the screw on the limit stop and move the limit stop a few inches towards door CLOSE. Tighten the screw again.
Reducing the closing pressure of the end position for door CLOSE
Loosen the screw on the limit stop and move the limit stop a few inches towards door OPEN. Tighten the screw again.
Attaching information sign and warning sign
- Run obstacle detection, see chapter “11.1 Testing obstacle detection.”
Danger due to failure to observe instructions!
Serious or fatal injury may result if the warning sign is not attached in a suitable position and the warning instructions are not heeded.
• Attach the warning sign:
• At eye level at a highly visible section of the door wing.
• Near the wall station.
• Far from moving parts. - Attach the warning sign at eye level next to the wall control. If the warning sign does not stick on the wall surface, use staples or other mechanical means to fasten the sign.
⇒ Initial operation is complete.
- Attach the hanging warning sign to the emergency release cord (N).
Final test / function test
Testing obstacle detection
After programming force values, the obstacle detection and force setting must be tested.
![]()
![]()
Danger due to projecting parts!
Door wings or other parts must not project into roads or public footpaths. This also applies while the door is moving.
This may cause serious injury or death to persons or animals.
- Roads or public footpaths must be free of projecting parts.
![]()
![]()
Danger of crushing and shearing!
Crushing or shearing injuries may result if the door does not reverse. This can lead to serious or fatal injury.
- The door must reverse when it meets an obstruction.
- Obstacle detection must be tested at monthly intervals using suitable means.
- Malfunctions or defects must be remedied immediately by an expert.
![]()
![]()
Danger of entrapment!
If the force setting is too high, persons or animals in the movement area of the door may be trapped and pulled along with the door. Severe injuries or death may result.
- The force setting is relevant to safety and must be carefully checked and if necessary adjusted by a qualified specialist.
![]()
![]()
Danger of crushing and shearing!
If the door moves with persons or animals in the movement area, crushing and shearing injuries may be caused by the mechanism and safety edges of the door.
- The force cut-off does not operate below 50 mm.
- The obstacle detection must be tested once a month.
- Only use the opener in direct view of the door.
- Always keep the moving door in sight.
- Persons or animals must not be in the range of movement of the door.
- Never put your hand near the door or moving parts when it is moving. In particular, do not reach into the moving push arm.
- Do not reach into the ceiling mounting unit when the carriage is running along the rail.
- Do not drive through the door until it has been fully opened.
NOTE
Observe the national standards, guidelines, and regulations for cut-off of the operating forces.
NOTE
The obstacle detection must be tested once a month to prevent damage to the opener.
INFORMATION
Reversing: The opener stops when it meets an obstruction and then moves in the opposite direction for a short distance to free the obstruction. In the automatic closing function, the door opens completely if an obstacle is detected.
INFORMATION
The operating forces can be modified and adjusted with SOMlink and a WLAN-enabled terminal. For more information, ask your qualified dealer. The door must reverse if it hits a 1 1/2” (38 mm) object (or 2 x 4 laid flat) high obstacle.

- Open the door with the opener.
- Place an 1-1/2“ object or 2 x 4 laid flat and centered in the running path of the door.
- Close the door with the opener.
⇒ If the door hits the obstacle, the opener must stop immediately, reverse and open completely the door.
⇒ If the opener does not reverse, a position reset is required, see chapter “7.14 Resetting the wall control unit”. The positions and the forces must be reprogrammed.
Testing the safety sensor function
- Close the door with the opener.
Fig. 2 - Hold a 6″ high white object in between the safety sensors during the closing procedure to disrupt the infrared sensor. The door must stop immediately and then reverse entirely.

- The safety sensors are functioning properly if the LED lights of both safety sensors are solid.
- If the door does not stop, check the following:
• if the housing of the safety sensors is dirty,
• whether transmitter and receiver are correctly aligned with each other,
• whether the cables are damaged or loose. - The complete installation and operating manual must be handed over to the user.
Operation
IMPORTANT SAFETY INSTUCTIONS
Read the following chapter to ensure safe operation. The opener must not be used by children or persons with restricted physical, sensory or mental capacity or who lack experience and knowledge. All users must be specially instructed and have read and understood the Installation and Operating Manual. Children must never play with or use the opener, even under supervision. Children must be kept clear of the opener. Transmitters or other control devices must never be given to children. In particular, observe the following safety instructions and the safety instructions in chapter “13. Maintenance and care” and “14. Troubleshooting.”
![]()
WARNING – to reduce the risk of severe injury or death:
- READ AND FOLLOW ALL INSTRUCTIONS.
- Never let children operate or play with door controls. Keep the remote control away from children.
- Always keep the moving door in sight and away from people and objects until it is completely closed. NO ONE SHOULD CROSS THE PATH OF THE MOVING DOOR.
- NEVER GO UNDER A STOPPED, PARTIALLY OPEN DOOR.
- Test door opener monthly. The garage door MUST reverse on contact with a 1-1/2-inch high object (or a 2 by 4 board laid flat) on the floor. After adjusting either the force or the limit of travel, retest the door opener. Failure to adjust the opener properly increases the risk of severe injury or death.
- For products having an emergency release, when possible, use the emergency release only when the door is closed. Use caution when using this release with the door open. Weak or broken springs are capable of increasing the rate of door closure and increasing the risk of severe injury or death.
- KEEP GARAGE DOORS PROPERLY BALANCED. See user’s manual. An improperly balanced door increases the risk of severe injury or death. Have a qualified service person make repairs to cables, spring assemblies, and other hardware.
- This operateur system is equipped with an unattended operation feature. The door could move unexpectedly. NO ONE SHOULD CROSS THE PATH OF THE MOVING DOOR.
- SAVE THESE INSTRUCTIONS.
![]()
![]()
Danger if not observed!
If safety instructions are not observed, serious injury or death may result.
- All safety instructions must be observed to prevent serious injury.
![]()
![]()
Danger due to use of the opener with incorrect setting or when it is in need of repair!
If the opener is used despite incorrect settings or if it is in need of repair, severe injury or death may result.
- The opener may only be used with the required settings and in the proper condition.
- Faults must be repaired professionally without delay.
![]()
![]()
Danger due to falling parts of doors!
Actuating the emergency release can lead to uncontrolled door movement if
- springs are weakened or broken.
- the door has not been optimally weight-balanced.
Falling parts may cause a hazard. Severe injuries or death may result.
- Check the weight balance of the door at regular intervals.
- Pay attention to the movement of the door when the emergency release is actuated.
- Keep clear of the movement area of the door.
![]()
![]()
Danger of entrapment!
Persons or animals in the movement area of the door may be trapped and pulled along with the door. Severe injuries or death may result.
- Keep clear of the moving door.
Danger of crushing and shearing!
If the door moves with persons or animals in the movement area, crushing and shearing injuries may be caused by the mechanism and safety edges of the door.
- Only use the opener in direct view of the door.
- Always keep the moving door in sight.
- Persons or animals must not be in the range of movement of the door.
- Never walk under a stopped or a partially opened door.
- Never put your hand near the door or moving parts when it is moving. In particular, do not reach into the moving push arm.
- Do not reach into the ceiling mounting unit when the carriage is running along the rail.
- Do not drive through the door until it has been fully opened.
![]()
![]()
Danger due to optical radiation!
Looking into an LED at short range for an extended period may cause optical glare. This may temporarily reduce vision. This may cause serious or fatal accidents.
- Do not look directly into an LED.
NOTE
If the weight compensation of the door is incorrectly adjusted, the opener may be damaged.
- The door must be stable.
- It must not bend, rotate or twist when opening and closing.
- The door must move easily in its rails.
NOTE
Objects in the movement area of the door may be jammed and damaged.
Objects must not be in the range of movement of the door.
INFORMATION
Keep this installation and operating manual accessible at all times at the place of use.
Handover to the user
The user checks whether the UL mark and the type plate for the door system have been attached to the door by the qualified specialist.
The qualified specialist must instruct the user:
- on the operation of the opener and its dangers
- on the handling of the emergency release
- on regular maintenance which the user can execute
The user must be informed about which work must only be performed by a qualified specialist:
- installation of accessories
- settings
- regular maintenance except that described in Chapter “13. Maintenance and care” and which must be performed by a qualified specialist.
- repairs
- troubleshooting, except that described in Chapter “14. Troubleshooting” and which must be performed by a qualified specialist.This installation and operating manual as well as the Declaration of Conformity created for the door system must be given to the user.
The user is responsible for:
- the intended use of the opener
- its good condition
- operation
- instructing all users how to use the door system and on the associated hazards
- care and maintenance
- tests by a qualified specialist
- troubleshooting in case of faults by a qualified specialist
The user must always keep this installation and operating manual ready for consultation in the vicinity of the door
Operating modes of door movement
![]()
![]()
Danger of crushing and shearing!
The door can be actuated by a keypad or another control device.
- Persons who cannot see the door and are in the range of movement of the mechanism or the closing edges may be injured by crushing or shearing.
- Keypads or other control devices may be used only if the movement of the door can be viewed directly.
- Keep persons and animals clear of the range of movement of the door.
- Never stand under the opened door.
INFORMATION
All functions can be programmed for all buttons.
Button 1 (CH 1)
Fig. Pulse sequence door OPEN, door stop, door CLOSE, door stop
Button 2 (CH 2)
Fig. Pulse sequence for Partial opening: DIP switch 2 ON Lighting function: DIP switch 2 OFF
Button 3 (CH 3)
Fig. Pulse sequence for defined door OPEN
Button 4 (CH 4)
Fig. Pulse sequence for defined door CLOSE
Obstacle detection
![]()
![]()
Danger of crushing and shearing!
The door can be actuated by a button or another control device.
Persons who cannot see the door and are in the range of movement of the mechanism or the closing edges may be injured by crushing or shearing.
- Buttons and other control devices must be installed and actuated within view of the door only.
- Buttons or other control devices may be used only if the movement of the door can be viewed directly.
- Persons or animals must not be in the range of movement of the door.
INFORMATION
Reversing: The opener stops when it hits an obstacle. Then the opener moves slightly in the opposite direction to release the obstacle.
In the automatic closing function, the door opens completely.
INFORMATION
If the safety sensor is interrupted, the door runs on for a short distance.
The following safety devices are installed to detect obstacles:
- Safety sensors (object protection)
- Safety contact strips (personal protection)
- Force cut-off of opener (personal protection) See also chapter “13. Maintenance and care.”
Function of the emergency release
In the event of a power failure, the door can be opened from the inside using a mechanical emergency release.
Observe in particular the following safety instructions for this chapter.
![]()
![]()
Danger of trapped persons!
Persons may be trapped inside the garage. If trapped persons cannot free themselves, severe injury or death may result.
- Check the function of the emergency release at monthly intervals, particularly from inside in the door CLOSE end position and if necessary, also from outside.
- Faults must be repaired without delay.
![]()
![]()
Danger due to falling parts of doors!
If the emergency release is actuated, weak or broken springs may cause the door to close suddenly and unexpectedly. This may cause serious or fatal injury.
- The emergency release should be used with the door closed.
- Use the emergency release with great caution if the door is open.
- Persons or animals must not be within the door’s range of movement.
NOTE
The emergency release is only suitable for opening or closing the door in an emergency. For example, a power outage or opener fault. The emergency release is not suitable for regularly opening or closing the door. This could cause damage to the opener or door.
NOTE
In an emergency release, the door could independently open or close itself due to a broken spring or incorrect setting of the weight balancing. The opener could be damaged or destroyed.
NOTE
After the opener is locked back in, move the door into the door OPEN end position. Otherwise the limit stop will be hit with too much force.
NOTE
Objects in the movement area of the door may be jammed and damaged. Objects must not be in the range of movement of the door.
INFORMATION
The function of the emergency release must be checked particularly in the door CLOSE end position and if necessary, also from outside. Unlocking must be
possible.
INFORMATION
The emergency can be locked and released in any door position.
INFORMATION
The emergency release must be easy to operate in all necessary positions.
- Disconnect the opener from the mains voltage. Check it is disconnected from the power supply.

- Pull once on the emergency release cord.
⇒ The carriage is released.
⇒ Door can be moved by hand - Pull the emergency release cord once more.
⇒ The carriage is locked.
⇒ The door can only be moved by the opener. - Connect the opener to the main power supply. Check that the power supply is connected.
- Give the opener a command.
⇒ After a power failure, the first pulse of the opener is always in the door OPEN direction.
⇒ The opener must drive completely to the door OPEN end position.
Maintenance and Care
Safety instructions for maintenance and care
Service the opener regularly as directed below. This ensures safe operation and a long service life for your opener.
![]()
![]()
Danger if not observed!
If safety instructions are not observed, serious injury or death may result.
- All safety instructions must be observed to prevent serious injury.
![]()
![]()
Danger due to electric current!
Contact with live parts may result in electric current flowing through the body. Electric shock, burns or death may result.
- All work on electrical components may only be carried out by an electrician.
- Disconnect the mains plug before working on the opener.
- If a battery pack is used, it must be disconnected.
- Then check that the opener is disconnected from the power supply.
![]()
![]()
Danger of falling!
Unsafe or defective ladders may tip and cause fatal or serious accidents.
- Use only a non-slip, stable ladder.
- Ensure that ladders are safely positioned.
![]()
![]()
Danger of trapped persons!
Persons may be trapped inside the garage. If trapped persons cannot free themselves, severe injury or death may result.
- The operation of the emergency release must be tested regularly from inside and if necessary also from outside.
- Faults must be repaired without delay.
![]()
![]()
Danger due to falling parts of doors!
Parts of the door may become detached and fall. If persons or animals are hit, this may cause serious injury or death.
- Always keep the moving door in sight.
- Keep all persons and animals away from the door until it is completely opened or closed.
![]()
![]()
Danger of crushing and shearing!
If the door moves with persons or animals in the movement area, crushing and shearing injuries may be caused by the mechanism and safety edges of the door.
- Only use the opener in direct view of the door.
- Always keep the moving door in sight.
- Never put your hand near the door or moving parts when it is moving. In particular, do not reach into the moving push arm.
- Do not reach into the ceiling mounting unit when the carriage is running along the rail.
- Persons or animals must not be in the range of movement of the door.
- Do not drive through the door until it has been fully opened.
![]()
![]()
Danger due to hot surfaces!
After frequent operation, parts of the carriage or the control unit may become hot. If the cover is removed and hot parts are touched, they may cause burns.
- Allow the opener to cool before removing the cover.
NOTE
The carriage is supplied with safety low voltage via the chain and the rail. The use of oil or grease will greatly reduce the conductivity of the chain, rail and carriage. This may result in faults due to inadequate electrical contact. The chain and rail are maintenance-free and must not be oiled or greased.
NOTE
The use of unsuitable cleaning agents may damage the surface of the opener. Clean the opener with a dry lint-free cloth only.
Maintenance schedule
| How often? | What? | How? |
| Once a month | • Test the emergency release | • See chapter “12.5 Function of the emergency release” |
| • Test the obstacle detection | • See chapter “11.1 Testing obstacle detection” | |
| • Test the safety sensors | • Interrupt the active safety sensors while the door is closing. The door must stop and open slightly or completely if automatic closing is activated. • If necessary clean the safety sensors, see chapter “13.3 Care” | |
| Once a year | • Test the door and all moving parts | • As directed by the door manufacturer |
| • Check screws on door, ceiling or header | Check screws on • Check that screws are tight and tighten if necessary | |
| As needed | • Chain and rail | • Maintenance-free |
| • Rail | • See chapter “13.3 Care” | |
| • Clean wall control unit and carriage housing | • See chapter “13.3 Care” |
Care
Clean rail, carriage and wall control unit
- Pull the power plug out of the power outlet. If a battery pack has been installed, remove the wall control unit cover and disconnect the battery pack from the wall control unit. See also chapter “8.1 Installing and removing battery pack”. Then check that the power is disconnected.
- Remove loose dirt with a moist, lint-free cloth:
• from the carriage and the wall control unit
• from the rail and the inside of the rail - If applicable, install the battery pack in reverse order of removal.
⇒ Plug the power plug into the power outlet.
Clean safety sensors

NOTE
Do not change the position of the safety sensors when cleaning them.
- Clean the housing reflectors with a moist, lint-free cloth.
Troubleshooting
Safety instructions for troubleshooting
Follow the basic safety instructions listed below.
![]()
![]()
Danger if not observed!
If safety instructions are not observed, serious injury or death may result.
- All safety instructions must be observed to prevent serious injury.
![]()
![]()
Danger due to electric current!
Contact with live parts may result in electric current flowing through the body. Electrical shock, burns, or death may result.
- All work on electrical components may only be carried out by an electrician.
- Disconnect the mains plug before working on the opener.
- If a battery pack is used, it must be disconnected.
- Then check that the opener is disconnected from the power supply.
![]()
![]()
Danger of entrapment!
Persons may be trapped inside the garage. If trapped persons cannot free themselves, severe injury or death may result.
- Check the function of the emergency release at monthly intervals, particularly from inside in the door CLOSE end position and if necessary, also from
outside. - Faults must be repaired without delay.
![]()
![]()
Danger of falling!
Unsafe or defective ladders may tip and cause serious or fatal accidents.
- Use only a non-slip, stable ladder.
- Ensure that ladders are safely positioned.
![]()
![]()
Danger due to falling parts!
Parts of the door may become detached and fall. Persons may be hit. This will cause injury or death.
- Always keep the moving door in sight.
- Keep all persons and animals away from the door until it is completely opened or closed.
- Do not drive through the door until it has been fully opened.
![]()
![]()
Danger of entrapment!
Loose clothing or long hair may be trapped by moving parts of the door.
- Keep clear of the moving door.
- Wear tight-fitting clothing.
- Wear a hairnet over long hair.
![]()
![]()
Danger of crushing and shearing!
If the door moves with persons or animals in the movement area, crushing and shearing injuries may be caused by the mechanism and safety edges of the door.
- Only use the opener in direct view of the door.
- Always keep the moving door in sight.
- Persons or animals must not be in the range of movement of the door.
- Never put your hand near the door or moving parts when it is moving. In particular, do not reach into the moving push arm.
- Do not reach into the ceiling mounting unit when the carriage is running along the rail.
- Do not drive through the door until it has been fully opened.
![]()
![]()
Danger due to optical radiation!
Looking into an LED at short range for an extended period may cause optical glare. This may temporarily reduce vision. This may cause serious or fatal accidents.
- Do not look directly into an LED.
![]()
![]()
Danger due to hot surfaces!
After frequent operation, parts of the carriage or the control unit may become hot. If the cover is removed and hot parts are touched, they may cause burns.
- Allow the opener to cool before removing the cover.
NOTE
If the door is not in view and the radio remote control is actuated, objects in the movement area of the door may be jammed and damaged. Objects must not be in the range of movement of the door.
INFORMATION
The control unit detects a short-circuit between chain and rail and then switches the opener off.
Troubleshooting
The following guide to troubleshooting lists potential problems and their causes and information on correcting them. In some cases, other chapters and sections with a more detailed description are referenced. You will be prompted to call a technician if this is required. Work on the electrical system and live parts maybe
performed only by a trained electrician.
- Pull the power plug out of the power outlet. If a battery pack has been installed, remove the wall control unit cover and disconnect the battery pack from the wall control unit. See chapter “6.1 Control unit cover of the wall control unit” and chapter “8.1 Installing and removing battery pack”. Then check that the power is disconnected.
- After working on the opener, if applicable replace the battery pack in reverse order. See chapter “6.1 Control unit cover of the wall control unit” and chapter “8.1 Installing and removing battery pack”. Connect the opener to the main power supply. Check that the power supply is connected.
Time sequences of opener lighting in normal operation and in case of faults
The flash sequences show information on malfunctions for technicians, end customers, and telephone support.
Flash sequences in normal operation
| Flash sequences | Possible cause | Corrective action |
Warning light for the opener in normal mode | • Program mode active • Pre-warning time active | • None, for information |
| • Interruption of a safety device during the movement | • Remove obstacle |
Flash sequences with faults
| Flash sequences | Possible causes | Corrective action |
| • Waiting for a confirmation during the position programming movement of door CLOSE position | • Confirmation of position programming movement | |
| • Safety sensors or safety equipment not OK before movement | • Check safety sensors • Contact customer support | |
| • Defective safety device, switchover to dead man mode | • Have it checked by a qualified specialist | |
| • Service | • Have the service performed by a qualified specialist | |
| • Calculated motor temperature is too high (overheating) | • Allow motor to cool | |
| • Program difficult positions in case of reversing with no visible cause. The complete distance is traversed from end position to end position (dead man by radio, under direct view only) | • None, for information | |
| • Self-test of electronics • Blockage detection (gear breakage, Hall sensorfault) | • Contact customer support | |
| • Limit switch does not operate (e.g. wire break, limit switch fault) | • Contact customer support | |
| • Counting pulses sent in the wrong direction (motor cable was incorrectly connected) | • Check wiring, correct if necessary | |
| • Travel length exceeded | • Path too long, path restricted to max. 22 ft. (7 m) | |
| • Error during plausibility test of Memo | • Contact customer support |
Troubleshooting table
| Problem | Possible causes | Test/check | Remedy |
| The opener opens the door but does not close it. | • Safety sensor issue | • Check safety sensors and safety devices | • Remove obstacle • Align safety sensor • Check connection to control unit • Check safety sensor wires |
| • Automatic closing activated | • Wait to see whether the opener starts automatically after 30 seconds | • Deactivate automatic closing • Contact customer support | |
| Opener cannot be operated with the control device. | • No power | • Check power supply | • Check the power outlet with a different device, for example with a lamp |
| • Limit switch in carriage defective | • Unlock opener and push carriage to the center of the rail • Lock opener • Actuate transmitter • If the opener now still does not close and open, the limit switch is defective. | • Contact customer support | |
| • The opener was disengaged by the emergency release mechanism | • Check that the door can be moved manually | • Pull the emergency release to engage the opener | |
| • Control device incorrectly connected to the opener | • Check function of opener with a transmitter | • Check wiring, correct if necessary | |
| • Transmitter defective | • Opener cannot be started with the transmitter. | • Unlock button for 8 sec. on the wall station | |
| • Vacation mode on | • Opener cannot be started with the transmitter or the connected control device. | • Have the cause corrected by a qualified specialist | |
| When a button on the transmitter is pressed, the door does not open or close. | • Transmitter not programmed | • Radio LED does not light when the transmitter is operated | Radio LED does not light when • Program transmitter |
| • Transmitter battery is weak | • Replace the transmitter battery | ||
| • Transmitter defective | • LED on transmitter does not light up | • Replace transmitter with a new one | |
| Opener stops the door during closing and opens it partially or completely. | • Opener detected an obstacle | • Check whether there are any objects in the movement range of the door | • Remove the object • if necessary, check and adjust the door mechanism or springs of the door |
| • Safety sensors were interrupted | • Check LEDs on safety sensors | • Remove obstacle | |
| • Safety sensors defective or misaligned | • Align safety sensors • Check wiring • If necessary, replace safety sensors | ||
| Opener stops while the door is opening | • Door detected an obstacle | • Check whether there are any objects in the movement range of the door • Check the weight balance of the door – it must run smoothly | • Remove obstacle • If necessary, have door mechanism checked and repaired by a qualified specialist |
| Lighting on the opener does not function | • Opener lighting defective | • Replace carriage • If necessary, install LUMI Strip supplementary lighting | |
| Speed varies while opening and closing the door | • Rail dirty | • Clean with a moist, lint-free cloth see chapter “13.3 Care” | |
| • Chain tightened incorrectly. | • Tighten the chain, see chapter “5.4 Installation of the opener system” | ||
| Motor carriage is pulled away from limit stop | • Spring tension is too high, door is opened too far | • Check door operation and spring tension • Check door OPEN end position | • Adjust door operation and spring tension • Adjust door OPEN end position • Fit Lock accessory |
Replacing the carriage
The instructions for “Disassembling the carriage” can be downloaded from SOMMER at: www.sommer.eu
If applicable, save the existing settings on the available carriage via SOMlink and a WiFi-enabled device. The settings can be transferred to the new carriage later. The new carriage is in delivery condition from the factory. After replacing the carriage, make sure that used accessories have been transferred to the new carriage. Initial operation must be repeated and the special functions of the carriage must be reset, see Chapter “10. Initial operation” and “7. Connections and special functions of the carriage”. Handheld transmitters which are used must also be reprogrammed, see Chapter “7.6 Programming the transmitter”.” On the other hand, the transmitter does not have to be programmed if the Memo accessory part has already been
used. After successful initial operation, carry out a final test and a function test, see Chapter “11. Final test/function test”.
INFORMATION
Save the existing settings of the carriage with the help of SOMlink and a WiFi-enabled device. After the new carriage has been inserted, reinstall the data.
Taking out of operation, storage and disposal
Taking the opener out of operation and disassembly
Follow the basic safety instructions listed below.
People under the influence of drugs, alcohol, or medications that can influence their ability to react may not work on the opener. The opener may only be disassembled by a qualified specialist. This installation and operating manual must be read, understood and complied with by the qualified specialist who disassembles the opener.
![]()
![]()
Danger if not observed!
If safety instructions are not observed, serious injury or death may result.
- All safety instructions must be observed to prevent serious injury.
![]()
![]()
Danger due to electric current!
Contact with live parts may result in electric current flowing through the body. Electric shock, burns or death may result.
- Electrical components must be disassembled by an electrician only.
- Disconnect the opener from mains power.
- If a battery pack is used, it must be disconnected.
- Then check that the opener is disconnected from the power supply.
![]()
![]()
Danger of falling!
Unsafe or defective ladders may tip and cause serious or fatal accidents.
- Use only a non-slip, stable ladder.
- Ensure that ladders are safely positioned.
![]()
![]()
Danger of tripping and falling!
Unsafely positioned parts such as packaging, opener parts or tools may cause trips or falls.
- Keep unnecessary items away from the disassembly area.
- Place all parts where no persons are likely to trip or fall over them.
- General workplace guidelines must be observed.
![]()
![]()
Danger due to optical radiation!
Looking into an LED at short range for an extended period may cause optical glare. This may temporarily reduce vision. This may cause serious or fatal accidents.
- Do not look directly into an LED.
![]()
![]()
Danger due to hot surfaces!
After frequent operation, parts of the carriage or the wall control unit may become hot. If the cover is removed and hot parts are touched, they may cause burns.
- Allow the opener to cool before removing the cover.
![]()
![]()
Risk of eye injury!
Eyes and hands may be seriously injured by chips when removing screws.
- Wear safety glasses.
![]()
![]()
Risk of injury in the head region!
Impact with suspended objects may cause serious abrasions and cuts.
- Wear a safety helmet when disassembling suspended parts.
![]()
![]()
Risk of injury to hands!
Rough, projecting metal parts may cause abrasions and cuts when touched.
- Wear safety gloves.
NOTE
If there is a battery pack in the wall control unit, it must be removed by a qualified electrician. See chapter “8. Battery pack.”
The opener and its accessories must be disconnected from the power supply when taking them out of operation or during disassembly.
- Pull the power plug out of the power outlet. If a battery pack has been installed, remove the control unit cover and disconnect the battery pack from the control unit. See also chapter “8.1 Installing and removing battery pack”. Then check that the power is disconnected.
- Disassembly is in reverse order of installation.
Storage
NOTE
Improper storage may damage the opener. The opener must be stored in enclosed and dry rooms.
Store the packaging units as follows:
- in enclosed, dry rooms so that they are protected from moisture
- at a storage temperature from –13 °F to +149 °F
- secure to prevent falling
- leave room for unhindered passage
Disposal of waste
Observe the instructions for disposal of packaging, components and batteries and, if applicable, the battery pack.
NOTE
Dispose of all parts in accordance with national regulations to avoid environmental damage.
INFORMATION
All components that have been taken out of service must not be disposed of with household waste, as they contain hazardous substances. The components must be disposed of correctly at an authorized recycling center. The local and national regulations must be observed.
INFORMATION
Old batteries and battery packs must not be disposed of with household waste as they contain hazardous substances. These must be disposed of properly at municipal collection points or in the containers provided by dealers. National guidelines must be observed.
Warranty terms and conditions
Limited Lifetime Warranty
WARRANTY COVERAGE. Sommer Antriebs- und Funktechnik GmbH (“Sommer”) extends this Limited Warranty to the original consumer purchaser (“Purchaser” or “you”) of a Sommer Garage Door Opener (the “Product”) from Sommer or one of its authorized dealers.
The Limited Warranty on the Product is not transferable by the original Purchaser and is valid for the initial installation only. If the Product is resold or otherwise provided by Purchaser to someone else, this Limited Warranty will not thereafter apply, and Purchaser is solely responsible for any and all warranty claims.
WARRANTY PERIOD. The Limited Warranty will be effective from the date of purchase or initial installation, whichever is earlier, and will continue for the period set forth below (“Warranty Period”). Any Limited Warranty claims must be made within thirty (30) days after Purchaser is aware of the alleged non-conformity and, in any event, within the applicable Warranty Period. ANY CLAIMS AFTER SUCH PERIOD WILL BE BARRED.
LIMITED LIFETIME WARRANTY.
Motor: The 24 Volt DC motor under normal use will be free from defects in material and workmanship for as long as the Purchaser occupies the residence in which the Product was first installed (“Residence”); provided the Product is installed in accordance with the applicable Sommer installation manual.
Parts: Rail, chain, circuit boards and hardware will be free from defects in material and workmanship for a period of six (6) years. Product Accessories (transmitter, wall station, safety sensors, etc.) will be free from defects in material and workmanship for a period of two (2) years.
Spare Parts: Sommer intends to have spare parts available for a period of ten (10) years from the date of purchase.
EXCLUSIONS. The Limited Warranty does not apply to:
- Consumables and replaceable parts which routinely wear out over time such as LEDs, batteries and fuses.
- Programming of any remote control devices.
- Damage to the Product or Product Accessories caused:
(i) during or after delivery; (ii) by normal wear and tear; (iii) by use under circumstances exceeding Sommer’s specifications or limitations or contrary to any instructions or information contained in Sommer’s installation, operating or maintenance manuals (as supplemented from time to time by Sommer); (iv) by unauthorized or improper repair or alteration; (v) by non-original equipment manufacturer spare parts or components; (vi) by failure to provide reasonable and necessary maintenance; (vii) by improper storage, handling, installation or use; (viii) by corrosion, erosion, abrasion or similar causes; (ix) by accident or neglect; (x) by events or causes beyond Sommer’s reasonable control, including disaster and acts of God; and (xi) by the garage door, garage door hardware (including, but not limited to, springs, locks, rollers, rails, hinges, alignment of rails, or alignment of hinges), and other parts not supplied by the manufacturer.
- Purchases of Product and Product Accessories outside the United States.
HOW TO RECEIVE SERVICE. In order for the Limited Warranty to apply, and in order to be eligible for service under this Limited Warranty, Purchaser MUST: (a) inspect the Product and Product Accessories immediately upon receipt as well as after installation and (b) within thirty (30) days of the purchase of the Product either (i) return the Warranty Registration Card attached below or (ii) register online at http://www.sommer-usa.com/warranty-registration. THE TIMELY RETURN OF THE WARRANTY REGISTRATION CARD OR REGISTRATION OF THE LIMITED WARRANTY ONLINE IS A CONDITION PRECEDENT TO OBTAINING COVERAGE UNDER THIS LIMITED WARRANTY. If problems exist with any Product or Product Accessories, first consult the troubleshooting section of the installation and operation manual or the online guide and tips available at www.sommer-usa.com. If problems persist, please call 1-877-766-6607 between the hours of 8:00 AM to 6:00 PM EasternTime, Monday through Friday to speak with a customer service technician or by writing to:
Sommer Service Center
1430 West Pointe Drive, Suite Q
Charlotte, NC 28214
Email: [email protected]
If the customer service technician cannot solve the problem over the phone, Purchaser may be directed to remove and ship, both at Purchaser’s risk and expense, the Product and/or Product Accessories to Sommer or an authorized service center for diagnosis or repair, in which case Purchaser will be provided with shipping information, packaging instructions and a return merchandise authorization number. DO NOT SHIP THE PRODUCT OR PRODUCT ACCESSORIES UNTIL SOMMER ISSUES A RETURN AUTHORIZATION. PURCHASER MUST PROVIDE A COPY OF THE PURCHASE RECEIPT OR OTHER PROOF OF PURCHASE (INCLUDING THE DATE AND LOCATION OF PURCHASE).
WHAT SOMMER WILL DO. As Purchaser’s sole and exclusive remedy for any Product or Product Accessories which Sommer finds to be non-conforming and covered by the Limited Warranty, Sommer will, at Sommer’s sole discretion, either: (a) repair the Product or Product Accessories or (b) provide a replacement Product or Product Accessories at no charge, and ship the repaired or replaced Product or Product Accessories to the Purchaser pre-paid. Sommer reserves the right to discontinue or make changes to any Product and Product Accessory without notice. Sommer also reserves the right to use either new or reconditioned parts or parts of comparable quality and price to repair or replace non-conforming Products or Product Accessories covered by the Limited Warranty.
Any replaced parts become Sommer’s property. REPAIRS OR EXCHANGES PERFORMED UNDER THIS LIMITED WARRANTY DO NOT EXTEND THE WARRANTY PERIOD. If Sommer determines that any Product or Product Accessory is not covered by the Limited Warranty, Purchaser will be given a price quote for the repair and return of the Product or Product Accessory.
Purchaser is responsible for all labor costs, including reinstallation charges, associated with the installation of the repaired or replaced Product or Product Accessory in the Residence.
LIMITATIONS.
ALL IMPLIED WARRANTIES FOR THE PRODUCT AND PRODUCT ACCESSORIES, INCLUDING, BUT NOT LIMITED TO, ANY IMPLIED WARRANTIES OF MERCHANTABILITY AND FITNESS FOR A PARTICULAR PURPOSE, ARE LIMITED IN DURATION TO THE RESPECTIVE LIMITED WARRANTY PERIOD SET FORTH ABOVE, AND NO IMPLIED WARRANTIES WILL EXIST OR APPLY AFTER SUCH PERIOD FOR THE PRODUCT AND PRODUCT ACCESSORIES. Some states do not allow limitations on how long an implied warranty lasts, so the above limitation may not apply to you.
UNDER NO CIRCUMSTANCES SHALL SOMMER BE LIABLE FOR ANY CONSEQUENTIAL, INCIDENTAL, INDIRECT, PUNITIVE OR SPECIAL DAMAGES,INCLUDING BUT NOT LIMITED TO LOST PROFITS, ARISING FROM OR RELATING TO THE USE OF, INSTALLATION OF, DEFECT IN, INABILITY TO USE, OR PROPERTY DAMAGE CAUSED BY THE PRODUCT, THE PRODUCT ACCESSORIES OR OTHERWISE, EVEN IF SOMMER HAS BEEN ADVISED OF THE POSSIBILITY OF THOSE DAMAGES. Some states do not allow the exclusion or lim- itation of incidental or consequential damages, so the above limitation or exclusion may not apply to you.
IN NO EVENT SHALL SOMMER’S LIABILITY, WHETHER IN CONTRACT, TORT, STRICT LIABILITY, OR OTHERWISE, EVER EXCEED THE PURCHASE PRICE OF THE PRODUCT OR PRODUCT ACCESSORY AT ISSUE.
This Limited Warranty is the only warranty Sommer gives to Purchaser. No dealer, distributor, sales representative, employee, or other person is authorized to offer or establish additional warranties or remedies or to expand or otherwise modify this Limited Warranty. This warranty gives you specific legal rights, and you may also have other rights which vary from state to state.
Product warranty registration card
SOMMER USA, Inc. 1430 West Pointe Drive, Suite Q Charlotte, NC 28214 USA
Phone: +1-704-424-5787
Fax: +1-704-424-7699
[email protected]
www.sommer-usa.com
TO REGISTER: /PARA REGISTRARSE: / POUR VOUS ENREGISTRER :
- Fill out Registration Form.
- Insert original or photocopy of your receipt.
- Seal Envelope.
- Affix stamp.
- Mail to address on top of this page
| Please complete and return to validate your warranty* within 30 days or register online at: www.sommer-usa.com NAME |
| ADRESS |
| CITY |
| ZIP |
| PURCHASE DATE |
| E-MAIL ADDRESS |
| SERIAL # |
| INSTALLED BY: | □ HOMEOWNER | □ PROFFESSIONAL |
THANK YOU FOR YOUR PURCHASE. WE APPRECIATE YOUR BUSINESS.
Brief instructions for installation
The short instructions describe the installation of variants A/B. The short instructions do not replace the installation and operating manual. Read this Installation and Operating Manual carefully and, most importantly, follow all warnings and safety instructions. This will ensure that you can install the product safely and optimally.







Connection diagrams and functions of the DIP switches
Fig. connection plate carriage *

*The version can vary depending on the type. This means the use of accessories can vary.

Fig. Connetion plate wall control unit
| DIP switch on motor carriage | ON | OFF |
| 1 | Automatic closing function activated | Automatic closing function deactivated |
| 2 | Partial opening activated/ Lighting function deactivated | Partial opening deactivated/ Lighting function activated |
| 3+4 | ||
| 3 | ||
| 4 |
| ON | OFF | |
| • Button 1 defined door OPEN • Button 2 defined door CLOSE | • Button 1 pulse sequence • Button 2 lighting function/partial opening | |
| • Door status display relay is activated during door movement and if the door is not closed • Door status display | • Lighting function | |
| • No function | • No function | |
| • No function | • No function | |
| • Terminal, 2-pin for wall button stopp | • Terminal, 2-pin for wall button impulse |
SOMMER Antriebs- und Funktechtnik GmbH
Hans-Böckler-Straße 21-27 73230 Kirchheim Germany
Tel +49 (0) 7021 8001-0
Fax +49 (0) 7021 8001-100
[email protected]
www.sommer.eu
Sommer USA, Inc.
1430 West Pointe Drive, Suite Q Charlotte, NC 28214 United States of America
Tel +1 170-424-5787
Fax +1 704-424-7699
[email protected]
www.sommer-usa.com
© Copyright 2019 All rights reserved




Fig. 2
Fig. 3
Fig. 4
Fig. 5
Fig. 6
Fig. 7
Fig. Plug-in unit with control cable
Fig. 8
Fig. 10
Fig. 2 and Fig. 3
Fig. 7
Fig. 9
Fig. 10
Fig. 14
Fig. 19
Fig. 20
Fig. 21
Fig. 22 and Fig. 23





Fig. 4: Installation example




⇒ The LED flashes after 15 seconds.
⇒ The LED flashes after 15 seconds.
Fig. 1
Fig. 4
Fig. 5
⇒ The status LED of the carriage flashes green.
⇒ The opener LEDs flash.

Fig. 5.1
Loosen the screw on the limit stop and move the limit stop a few inches towards door OPEN. Tighten the screw again.
Danger due to failure to observe instructions!
Fig. 2


















