EMERSON 00825-0300-1600 Micro Motion 1600 Transmitter Instruction Manual
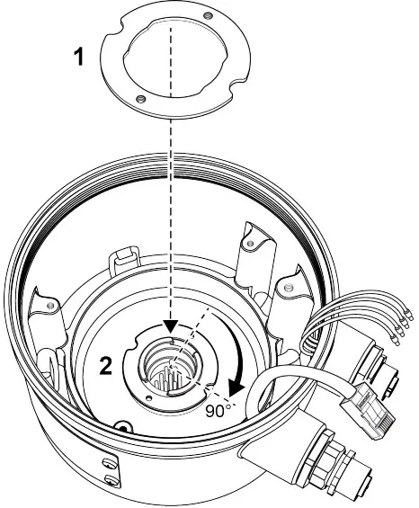
Tools Required
- 3/8” square shaft screwdriver

- 2.5mm hex driver

- 2mm hex driver

- #1 Phillips screwdriver

Installation Instruction




















For more information: www.emerson.com
©2022 Micro Motion, Inc. All rights reserved. The Emerson logo is a trademark and service mark of Emerson Electric Co. Micro Motion, ELITE, ProLink, MVD and MVD Direct Connect marks are marks of one of the Emerson Automation Solutions family of companies. All other marks are property of their respective owners.
00825-0300-1600
Rev. AA
March 2022
March 2022 00825-0300-1600



















