
Operating Instructions
4K wireless presentation transmitter
Item No. 2342740

1. Introduction
Dear customer,
Thank you for purchasing this product.
This product complies with statutory, national and European regulations.
To ensure that the product remains in this state and to guarantee safe operation, always follow the instructions in this manual.
These operating instructions are part of this product. They contain important information on setting up and using the product. Do not give this product to a third party without the operating instructions. Therefore, retain these operating instructions for reference!
If there are any technical questions, please contact:
International: www.conrad.com/contact
United Kingdom: www.conrad-electronic.co.uk/contact
2. Explanation of symbols
The symbol with the lightning in the triangle is used if there is a risk to your health, e.g. due to an electric shock.
The symbol with the exclamation mark in the triangle is used to indicate important information in these operating instructions. Always read this information carefully.
The arrow symbol indicates special information and advice on operation.
3. Intended use
The product is intended for wireless media transmission to a receiver unit (not included). The system extends or replaces the transmitters of an existing presentation system in this series and is not intended for ‘standalone’ use.
In combination with the base station, the content of your own screen can be quickly and easily shared and presented in the modern business everyday. Interaction is in real time, without interruption. When compared to USB-supported systems, the device is recognised as an HDMI screen without the need for further installation and can be used directly without administration.
The basic system can be flexibly extended over several of these systems.
This product is intended for indoor use only. Do not use it outdoors. Contact with moisture (e.g. in a bathroom) must be avoided under all circumstances. In addition, watch out for drinks and other liquids nearby.
For safety and approval purposes, do not rebuild and/or modify this product. Using the product for purposes other than those described above may damage the product. In addition, improper use can cause hazards such , as a short circuit, fire or electric shock. Read the operating instructions carefully and store them in a safe place. Only make this product available to third parties together with its operating instructions.
A damaged or improperly repaired product can cause consequential damage to connected devices.
All company names and product names are trademarks of their respective owners. All rights reserved..
HDMI is a registered trademark of HDMI Licensing L.L.C.
Android™ is a registered trademark of Google LLC.
4. Delivery content
- Wireless presentation system (TX transmitter) with HDMI and USB connection
- Operating instructions
Up-to-date operating instructions
Download the latest operating instructions via the link www.conrad.com/downloads or scan the QR code. Follow the instructions on the website.
5. Features and functions
- ‘True Plug & Play’ Simply plug in the device via HDMI and USB and share content at the touch of a button. Multisharing compatible.
- ‘No software’: No additional software needs to be installed and managed on your computer. HDMI is natively supported by the operating system. There is no interruption in the workflow and it is natively compatible with any PC or Mac with HDMI.
- Complete media server with playback options for image, sound and videos from storage media or from the internal memory
- Integrated white board for quick team ideas
- Direct screen and sound transmission from mobile devices in high resolution
6. Safety information


Please read the operating instructions carefully and pay particular attention to the safety instructions. We do not assume liability for any injuries/material damages resulting from failure to observe the safety instructions and the information in these operating instructions regarding the proper use of the product. Furthermore, in such cases, the warranty/guarantee will be null and void.
- Do not expose the product to extreme temperatures, direct sunlight, strong vibrations, high humidity, moisture, combustible gases, vapours and solvents.
- The product is not a toy. Keep out of the reach of children and pets.
- Do not leave packaging material unattended. It may become a dangerous plaything for children.
- Handle the product with care; impacts, blows or a fall even from a low height will damage it.
- The product is only suitable for dry, enclosed indoor areas. The product may not become damp or wet.
- If you have any questions that are not answered in these operating instructions, please contact our technical service or another specialist.
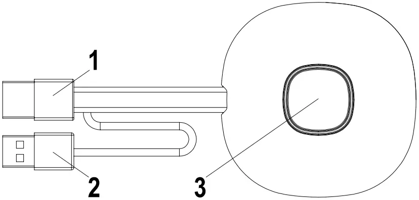
7. Controls

1 HDMI Input
2 USB power supply
3 Button – Activate/deactivate transmission; Status LED
8. Operation
a) Connection and setup


Place the receiver on a level surface. When selecting the location, pay attention to the distance to other networks and to transmission systems.
Connect a projector or TV to the receiver via HDMI cable (included in the delivery). Insert the USB cable into the receiver and the charger and supply it with power.
The supplied chargers may differ depending on the local socket type and power supply. After a short time, a blue LED lights up on the front of the base station. The device is ready for use.
Attention: If your projector or TV has a free USB port that is suitable for supplying the base station. Check the permanent power output of the port.
Switch the projector or TV on. The welcome screen appears.
Align the base station antennas in roughly the same way. Both antennas should be in the same direction and vertically aligned. Change the angle and inclination of the antennas in case of poor signal transmission. The antennas should not be placed directly next to any metal parts.
Set the transmitter with the control button upwards next to your computer. The button should always be within range to start or stop the transmission.
Connect the transmitter to the HDMI output of your computer and plug the USB connector into a nearby USB port.
Attention: Be careful not to unnecessarily kink or pull on the cable. Improper handling can cause damage.
If your computer or laptop does not have any of the required outputs or the distances between USB and HDMI output are too large, extensions or adapters may be used. In this case, consult a specialist before using the product to avoid any damage.
The edge of the control button lights up red immediately after the USB connector has been inserted. The device initialises and establishes a wireless connection to the base station. If the HDMI connection is connected correctly, the colour changes to purple or blue (flashing).
b) Computer settings and transmission
If the transmitter unit connected to the computer flashes blue immediately after connection, you can start transmission at the push of a button.
However, if the coloured ring is still purple, change the display settings in the system settings of your computer or Mac.
In Windows display settings, change the ‘Multiple Screens’ setting to ‘Duplicate these displays’ or ‘Extend these displays’ to transfer your screen to the HDMI output. In the Align menu item, you can rotate the transferred screen content for the screen extension. In some cases, TVs or projectors are not set correctly or mounted in a different orientation. Ensure that the resolution recommended for the output device is selected. This is displayed in the Windows dropdown menu.
If your transmission on the screen is too small, do not change the resolution. Increase the scaling step by step until the content is clearly visible.
Under Mac: Settings – Monitors you can adjust transmission, layout and rotation similar to the Windows settings.
In the case of different operating systems, the settings described here may have different names or the menu items may be called up differently.
Screen setting:
Depending on the desired usage, duplicating or extending the screen may be more suitable. For example, in the case of presentations where you see additional information on your screen, your audience should only see the current presentation slides without additions. However, if you want to show your exact screen content in order to work with your audience, extension mode may be better suited.
9. Care and cleaning
Never use aggressive detergents, rubbing alcohol or other chemical zsolutions, as these could damage the casing or even impair the functioning of the product. The product is neither dust-proof nor splash-proof.
- Disconnect the product from the power supply before cleaning.
- Use a dry, lint-free cloth to clean the product.
- Keep the product in a protected place and observe the respective connection cables.
10. Declaration of Conformity (DOC)
Conrad Electronic SE, Klaus-Conrad-Straße 1, D-92240 Hirschau hereby declares that this product conforms to the 2014/53/EU directive.
Click on the following link to read the full text of the EU declaration of conformity: www.conrad.com/downloads
Select a language by clicking on a flag symbol and enter the product order number in the search box. You
can then download the EU declaration of conformity in PDF format.
11. Disposal
Electronic devices are recyclable waste and must not be placed in household waste.
At the end of its service life, dispose of the product according to the relevant statutory regulations.
12. Specifications
Operating voltage ………………………. 5 V/DC, max. 0,5 A
Power consumption ……………………. max. 2.5 W
Ports ………………………………………….. 1x HDMI input; 1x USB (power supply)
Video …………………………………………. HDMI 2.0 (HDCP 2.2)
Resolution ………………………………….. 3840 x 2160 pixels, 4K/60 Hz
WiFi …………………………………………… IEEE802.11n/ac, 2T2R MIMO, 2.4 GHz, 5 GHz, 5.8 GHz
Frequency ranges/transmission power …………. 2.400 – 2.497 GHz, ≤ 14 dBm; 5.150 – 5.250 GHz, 5.250 – 5.350 GHz, 5.470 – 5.725 GHz, 5.725 – 5.850 GHz, ≤ 13 dBm
Encryption protocols ……… WPA2/WPA-PSK/WPA2-PSK
Range ……………………………… up to 50 m (free field; between transmitter and receiver)
Supported platforms ……………….Windows® 7 (32 & 64 Bit) or higher; MacOS; Linux
Dimensions (W x H x D) ………. approx. 75 x 13 x 75 mm
Dimensions (W x H x D) ………. approx. 152 x 13 x 75 mm (with HDMI / USB cable)
Weight: …………………………………… approx. 85 g
Operating conditions ……………… 0 to +40°C, 10 – 90% rel. humidity (noncondensing)
Storage conditions ………………… -40 to +70°C, 5 – 90% rel. humidity (noncondensing)
This is a publication by Conrad Electronic SE, Klaus-Conrad-Str. 1, D-92240 Hirschau (www.conrad.com).
All rights including translation reserved. Reproduction by any method, e.g. photocopy, microfilming, or the capture in electronic data processing systems require the prior written approval by the editor. Reprinting, also in part, is prohibited. This publication represent the technical status at the time of printing.
Copyright 2021 by Conrad Electronic SE.
2342740_V1_0721_02_VTP_m_4L


















