3606013601 Gooseneck Basin Mixer
Instruction Manual

Tonic by Roger seller
Gooseneck Basin Mixer
Specification

Tonic by Roger seller Gooseneck Basin Mixer 3606013601 — Chrome
Other finishes available
Parts List
- Mixer Tap
- Base Ring
- Base Washer
- Rubber Horseshoe Washer
- Fixing Rod
- Metal Horseshoe Washer
- Spacer
- Nut
- Cold Ram flex Flexi Hose
- Hot Ram flex Flexi Hose
- Aerator Key
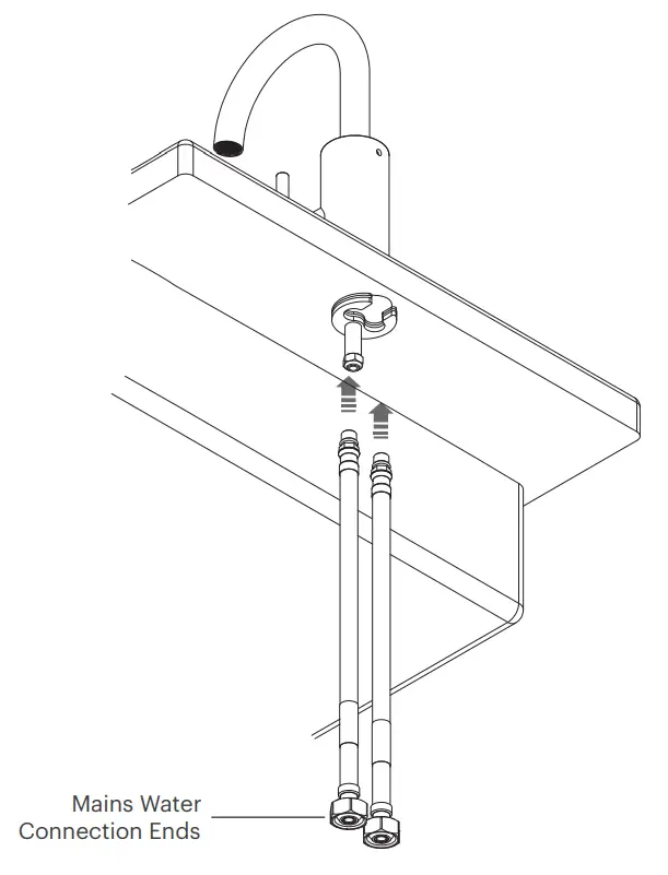
Installation
Step 1
If not already done so, separate the fixing components from the mixer tap leaving the fixing rod in place.
Take the base ring, base washer and place these over and into the basin hole as shown in the illustration. 
Ensure the base washer locates inside the base ring and evenly around the basin hole as this seals and prevents water from entering cabinetry through the basin hole.
Bench Hole Requirements:
Minimum Hole Size – Ø32mm
Maximum Hole Size – Ø40mm
Step 2
From the underside, apply the rubber horseshoe washer, metal horseshow washer, spacer and nut to the fixing rod and hand tighten the nut.
Ensure mixer tap, base washer and horseshoe washers are positioned evenly around the basin hole and tighten nut securely using an appropriate spanner.
Step 3
Connect the hot & cold ramflex anti-corrosion hoses to the appropriate hot and cold mixer tap inlet. If positioned correctly the hot inlet on the mixer body is marked with a “h” and located on the left hand side.
Step 4
Connect the hot and cold hoses to the mains water supply. Remove the aerator and introduce mains water supply to flush the mixer of any debris, check for leaks and remedy as required. Replace the aerator.

Specifications
It is a requirement of state plumbing codes that licensed plumbers carry out all tapware installations. All installations must comply with the relevant requirements of AS/NZS3500 and local plumbing codes.
Pressure
Maximum Hydrostatic Pressure -1000kpa
Recommended Maximum Hydrostatic Pressure – 500 kappa. (AS/NZS 3500)
Recommended Minimum Hydrostatic Pressure -150 kpa.
Maximum Hydrostatic Pressure may be exceeded under test conditions only in accordance with AS/ NZS 3500.
Where hydrostatic pressure exceeds the maximum stated above, pressure limiting valves must be installed or warranty will be void.
Temperature
Maximum Water Temperature – 80°C
For optimum performance, Hot and Cold inlet water pressure should be equal.
Care and Maintenance
[1] Product should be inspected for surface damage prior to installation. [2] Cleaning and handling of all finishes must be performed carefully. [3] Clean products using a soft cloth with warm soapy water only. [4] Never use harsh detergents or abrasive cleaners as these will damage the product. [5] Water marks can be removed from Matt Finishes with an application of a carnauba wax based non-abrasive polish on a microfibre cloth. [6] Do not use undue pressure when cleaning and wipe in one direction only. [7] Contact with harsh chemicals such as hair dye, hair bleach etc will result in damage to the finish. [8] Tapware should never be installed using acetone silicones. [9] Avoid the use of wax based furniture creams as this can result in a build up of deposits which will detract from the appearance. [10] Damage to finishes arising from improper installation or post installation use or failure to observe the above care and cleaning instructions will void all warranty agreements.
Warranty
Rogerseller tapware, bathroom fittings and sanitaryware are covered by a five (5) year warranty from date of purchase. For full terms and conditions please refer to rogerseller.com.au
Please note —
Dimensions are approximate. Information provided in these installation instructions is representative of the actual products available at the time of printing. Due to our policy of continuous product development, the designs and specifications depicted are subject to change without notice. Please confirm all particulars with your product expert prior to purchase. Each product is covered by a limited warranty. Full terms and conditions are available from your product expert.
Roger seller
rogerseller.com.au

















