HH-04SLN-A 4,000 BTU LP Portable Heater
Instruction Manual
WARNING: When this heater is used as a camp heater for indoor use, it can only be used in the US and in the location allowed where local authorities have jurisdiction. Do not use this heater indoors in Canada.
FOR CANADA AND USA (MASSACHUSETTS) SALES.
IF YOU HAVE QUESTIONS OR COMMENTS, CONTACT US.
HH-04SLN-A is certified as an indoor/outdoor camp heater under ANSI Z21.103-2017 for the US only and HH-04SLN-MA is certified as an outdoor camp heater under ANSI Z21.63/CSA 11.3 for both the US and Canada.
HH-04SLN-A
For ANSI Z21.103-2017 INDOOR/OUTDOOR CAMP HEATER
WARNING: FIRE OR EXPLOSION HAZARD
If you smell gas:
- Do not attempt to light appliance.
- Extinguish any open flame.
- Disconnect fuel supply.
- Leave the area immediately.
- Allow gas to dissipate 5 minutes before relighting the appliance.
Do not store or use gasoline or other flammable vapors and liquids in the vicinity of this or any other appliance.
Failure to follow these instructions could result in fire or explosion, which could cause property damage, personal injury, or death.
WARNING: CARBON MONOXIDE POISONING MAY CAUSE DEATH OR INJURY
When used without adequate combustion and ventilation air, heater may give off excessive CARBON MONOXIDE, an odorless, poisonous gas. This is an unvented gas- fired heater. This heater uses air (oxygen) from the area in which the heater is used. Adequate combustion and ventilation air must be provided. Refer to page 7.
WARNING: When used without adequate combustion and ventilation air heater may give off excessive CARBON MONOXIDE, an odorless, poisonous gas.
DO NOT USE THIS HEATER UNTIL ALL NECESSARY PROVISIONS ARE MADE FOR COMBUSTION AND VENTILATION AIR. CONSULT THE WRITTEN INSTRUCTIONS PROVIDED WITH THE HEATER FOR INFORMATION CONCERNING COMBUSTION AND VENTILATION AIR.
DANGER: FOR YOUR SAFETY
Do not store or use gasoline or other flammable vapors and liquids in the vicinity of this or any other appliance. A propane cylinder not connected for use shall not be stored in the vicinity of this or any other appliance.
WARNING: Improper installation, adjustment, alteration, service, or maintenance can cause injury or property damage.
Refer to this manual. For assistance or additional information, consult a qualified installer, service agency, or the gas supplier.
DANGER: CARBON MONOXIDE HAZARD
This appliance can product carbon monoxide which has no odor. Using it in an enclosed space can kill you. Never use this appliance in an enclosed space such as a camper, tent, car, or home.
WARNING: FIRE OR EXPLOSION HAZARD If you smell gas:
- Do not attempt to light appliance and make sure appliance is in the “OFF” position
- Extinguish any nearby flame.
- Shut off the cylinder fuel supply valve, if so equipped.
- Disconnect the disposable fuel cylinder. if so equipped
- Leave the area immediately.
- Allow gas to dissipate 5 minutes.
- If gas smell has dissipated from the area, the appliance, and fuel supply, follow gas connection procedures. If you smell gas again, follow steps 1-6 and have appliance serviced.
Failure to follow these instructions could result in fire or explosion, which could cause property damage, personal injury, or death.
WARNING: DO NOT TAMPER WITH THE SAFETY SYSTEM!
WARNING: CARBON MONOXIDE POISONING MAY LEAD TO DEATH!
Heater is not to be used with fixed pipe system.
Please retain instructions for future reference.
DEFINITIONS: SAFETY ALERT SYMBOLS AND WORDS
This instruction manual uses the following safety alert symbols and words to alert you to hazardous situations and your risk of personal injury or property damage.
DANGER: Indicates an imminently hazardous situation which, if not avoided, will result in death or serious injury.
WARNING: Indicates a potentially hazardous situation which, if not avoided, could result in death or serious injury.
CAUTION: Indicates a potentially hazardous situation which, if not avoided, may result in minor or moderate injury.
(Used without word) Indicates a safety related message.
NOTICE: Indicates a practice not related to personal injury which, if not avoided, may result in property damage.
HEAT HOG® 4,000 BTU PORTABLE PROPANE HEATER

| MODEL # | HH-04SLN-A, HH-04SLN-MA |
| BTU | 4,000 |
| FUEL CONSUMPTION (LB./HR) | 0.19 |
| HEAT SETTINGS | 1 |
| MAXIMUM OPERATING HOURS | 5.3 |
| MINIMUM INLET PRESSURE | 25 PSIG |
| MAXIMUM INLET PRESSURE | TANK PRESSURE |
| FUEL TYPE | USE ONLY 1-LB. LP (4″ X 8″, 10.2 CM X 20.3 CM) |
| HEATING AREA (FT.2 ) | 100 |
| MANIFOLD PRESSURE | 11 INCHES WATER COLUMN |
| CERTIFICATION FOR INDOOR/OUTDOOR USE | ![]() |
| CERTIFICATION FOR OUTDOOR USE | ![]() |
The HH-04SLN-A are designed and approved for use as a heater in accordance with Standard for gas camp heaters – for indoor/outdoor use – US only. ANSI Z21.103-2017. The HH-04SLN-MA is for outdoor use – Canada and US only ANSI Z21.63:19/ CSA 11.3:19. CHECK WITH YOUR LOCAL FIRE SAFETY AUTHORITY IF YOU HAVE ANY QUESTIONS ABOUT APPLICATIONS. Other standards govern the use of fuel gasses and heating products for specific uses. Your local authority can advise you about these.
WARNING: Read all safety warnings and all instructions. Failure to follow the warnings and instructions may result in electric shock, fire, and/or serious injury.
WARNING: To reduce the risk of injury, read the instruction manual.
WARNING: Never modify the product or any part of it. Damage or personal injury could result.
If you have any questions or comments about
this or any product, call Heat Hog at
800.641.6996.
GENERAL HAZARD WARNING
DANGER: Failure to comply with the precautions and instructions provided with this heater, can result in death, serious bodily injury and property loss or damage from hazards of fire, explosion, burn, asphyxiation, carbon monoxide poisoning and / or electric shock. Only persons who can understand and follow the instructions should use or service this heater. If you need assistance or heater information such as an instructions manual, label, etc. contact the manufacturer
SAVE ALL WARNINGS AND INSTRUCTIONS FOR FUTURE REFERENCE
SAFETY INFORMATION
WARNING: This product can expose you to chemicals, including lead, which are known to the State of California to cause cancer and birth defects or other reproductive harm. For more information go to www.P65Warnings.ca.gov.
WARNING: Fire, burn, inhalation, and explosion hazard. keep solid combustibles, such as building materials, paper or cardboard, a safe distance away from the heater as recommended by these instructions. Never use the heater in spaces which do or may contain volatile or airborne combustibles, or products such as gasoline, solvents, paint thinners, dust particles or unknown chemicals. Keep all combustible materials, gasoline, and other flammable vapors and liquid away from this heater.
DANGER: Carbon Monoxide Hazard This heater produces carbon monoxide, which has no odor. Burning the heater in an enclosed space can kill you. Never use the heater in enclosed spaces such as a tent, a camper, any vehicle or recreational vehicle (RV), enclosed shelter, building, garage, or any other enclosed areas without adequate ventilation.
DANGER: If the information in this manual is not followed exactly, a fire or explosion may result causing property damage, personal injury or loss of life.
WARNING: If the recreational enclosure does not have a window or roof vent, DO NOT USE THIS HEATER inside.
DANGER: PROPANE IS AN EXPLOSIVE GAS. WHAT TO DO IF THE SMELL OF GAS IS PRESENT:
- DO NOT attempt to light the heater.
- Extinguish any open flame.
- Disconnect fuel supply.
- If odor continues, contact your local gas supplier or fire department.
- DO NOT touch or use any electric switch or any electric device that can cause a spark.
- Immediately call your gas supplier from a neighbor’s phone. Follow the gas suppliers instructions.
- If you can not reach your gas supplier, call the fire department.
- Service must be done by a qualified service agency.
TEMPERATURES CAN CAUSE BURNS AND CLOTHING IGNITION
WARNING: For use with propane (LP) gas only.
- ALWAYS position the heater so that it is not directly exposed to water spray, rain, dripping water, or wind.
- Use heater in accordance with all local codes.
- This heater is shipped from the factory for use with propane (LP) gas only. Do not convert to any other gas. Installation must conform to local codes, or in their absence, with the standard for the Storage and Handling of Liquefied
Petroleum Gases ANSI/NFPA 58 and the Natural Gas and Propane Installation Code CSA B149.1. - Gas supply connections should be checked by using a 50/50 soap and water solution. Never use a flame to check for gas leaks.
- This heater is not for use on finished surfaces such as floors and tables.
- Never use in a moving vehicle.
- Do not use for cooking or reheating food.
WARNING: RISK OF FIRE! ALWAYS LOCATE HEATER ON A STABLE AND LEVEL SURFACE!
WARNING: NEVER LEAVE HEATER UNATTENDED WHILE BURNING,
CONNECTED TO A POWER SOURCE, OR WHILE CONNECTED TO A FUEL SOURCE.
WARNING: Use only disposable cylinders marked with the proper fuel type. - Do not leave this appliance unattended while in operation. Keep children and pets away from the appliance at all times.
- A propane fired portable heater used for emergency home use shall not be set a an input setting in excess of 5,000 BTU/Hr (466 W) when located in a bathroom and shall not be set at an input setting of more than 10,000 BTU/Hr (2,931 W) when located in a bedroom. The corresponding settings for bedroom or bathroom use shall be clearly adjustment means.
- Items stored under the heater will be subject to radiant heater and could be seriously damaged.
- Children and adults should be alerted to the hazards of high surface temperatures and should stay away to avoid burns or clothing ignition.
- Any guard or other protective device removed for servicing the heater must be replaced prior to operation of the heater.
- Repair should be done by a qualified service person. The heater should be inspected before use and at least once every year by a qualified service person.
More frequent cleaning may be required as necessary. It is imperative that the control compartment, burners, and circulating air passageways of the heater be kept clean. - Appliance may shut down in windy conditions in excess of 3 miles per hour (4.83 kilometers per hour).
WHAT’S IN THE BOX

UNPACKING
- Remove all packing items applied to heater for shipment.
Keep plastic cover caps attached to inlet connector and hose /regulator assembly for storage. - Remove all items from carton.
- Check all items for shipping damage. If the heater is damaged, promptly inform dealer where you purchased the heater.
Propane Tank Not Included
FEATURES

OPERATION
Propane Supply/Information: Propane (LP)
This heater is not supplied with a propane cylinder. Use only an approved propane cylinders.
LP Characteristics
- Flammable, explosive under pressure, heavier than air and pools in low areas.
- In its natural state, propane has no odor, but for your safety an odor that smells like rotten cabbage has been added.
- Contact of propane (LP) gas with the skin can cause freeze burns.
- Heater is manufactured for use with propane gas only. DO NOT attempt to convert to any other gas. Such modifications are dangerous and will void the warranty.
- When heater is not in use, LP Cylinder must be removed.
- Be sure that the LP Cylinder is located on a level and stable surface.
- DO NOT use this heater in a basement or below ground level. Propane is heavier than air and will always seek the lowest level. If you suspect a leak, shut off the valve at the LP Cylinder immediately.
Basic Information
NOTE: The Heat Hog Portable Propane Heater can be used outdoors, but users may experience nuisance shutoffs due to certain wind conditions.
- In cold temperatures, the heat plaques may take a few minutes to get visibly hot. This is normal operation.
- It is normal for a small border around the edge of the heat plaques to not glow while operating.
- The guard that protects the user from the heat plaques gets very hot during operation. It has a special temperature resistant coating. The first time the heater is turned on, you may notice smoke or fumes emanating from the protective guard or the heater. This is normal and should stop after a few minutes.
- If you notice actual flames or any operation that does not meet the description in this manual, turn the heater off and call a qualified service technician.
- Miniumum operating and storage temperature is -20°F (-28.8°C)
Checking for Leaks
- To check for leaks, make up a 50/50 solution of dish soap and water. Apply this solution to all gas connections. If bubbles appear, there is a leak. If a leak is found, turn off the gas supply, and re-connect the leaking connection. If the leak persists after several tries, contact Heat Hog Service at 800.641.6996.
- The minimum clearances to any combustible construction materials must be maintained at all times (See Page 3).
- Inspect the heater before each use, and at least annually by a qualified service person.
WARNING: EXTREMELY HOT during operation. Do Not touch any metal components while in operation. Keep gasoline and any other flammable liquids away from the heater. - The Heat Hog Portable Propane Heater may not burn as bright when operating at altitudes over 2,000 FT. above sea level. This is normal.
- At these high altitudes, the unit may shut off sporadically due to lower levels of oxygen. If this happens, provide fresh air and wait 5 minutes and re-light. Localized atmospheric conditions may cause heater to not re-light.
- In general, operating time will vary depending on the heater setting and the supply cylinder size. Up to 3 to 6 hours on a 1 lb. cylinder. Up to 48 to 110 hours on a 20 lb. cylinder (based on “HI” and “LO” settings). Run times of LP gas can be significantly reduced when operating continuously at temperatures below 20ºF. The Heat Hog is designed to keep your 1lb cylinder warm.
- Your Heat Hog Portable Propane Heater is equipped with a tip-over safety switch. When moving the heater when lit, bumping heater, setting it down or adjusting the heating angle, the tip over switch may shut off heater. If this happens, be sure the base is level and re-light.
- Condensation may build up on 1lb LP cylinder and drip under heater. This may cause frost on the bottom of the cylinder or may refreeze under or around the heater. This is due to the natural operation of small LP cylinders and is normal.
- If heater shuts off, do not relight until you provide fresh air. If heater keeps shutting off, have the heater serviced. Keep burner and control compartment clean.
Lighting & Operating Instructions
WARNING: Always inspect propane cylinder and heater propane connections for damage, dirt, and debris before attaching propane cylinder. Do not use if head of cylinder is damaged, punctured or deteriorated.
- ALWAYS ATTACH OR DETACH CYLINDER OUTDOORS AWAY FROM FLAMES, OTHER SOURCES OF IGNITION, AND ONLY WHEN
HEATER IS COOL TO TOUCH. - Use only LP-gas cylinders marked in accordance with the U.S. Department of Transportation (DOT) or CSA B339, as applicable. Cylinders must be provided with a listed overfill protection device.
- Use only 1-lb. disposable cylinders (16.4 oz.) that mate with No. 600 valve connection, marked propane.
- Keep heater and cylinder in an upright positionduring operation.
- Screw the 1-lb. disposable LP-gas cylinder clockwise (from bottom) into unit until handtight; see Figure 3. DO NOT use thread sealanton this connection.
- Be sure to inspect all connections for leaks, by using a 50/50 mixture of dish soap and water on all connection. Any bubbles forming indicate a leak.
- Heater must not be exposed to flammable vapors or liquids during lighting.
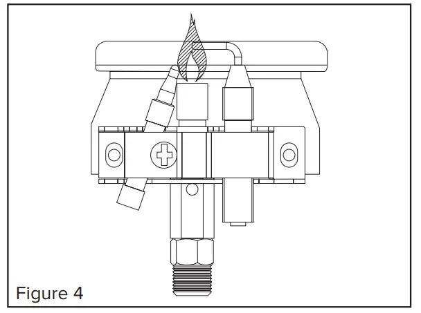
- Push “ON” button and hold to light pilot. Repeat if necessasry and hold for 30–60 seconds, see Figure 2.
- Release “ON” button to light heater.
- If pilot light does not light, release and depressagain. Repeat until pilot lights.
Shut Down Instructions
- To shut off heater, push “OFF” button, see Figure 2.
CAUTION: After turning heater off, wire guard will remain hot. Allow guard to cool before handling and storing. - Do not operate, store, or remove cylinder near flammable items or ignition sources.
- A cylinder shall be stored outdoors in a well ventilated area out of the reach of children.
A disconnected cylinder shall have dust caps tightly installed and shall not be stored in a building, garage, or any other enclosed area. - LP-GAS CYLINDERS MUST BE DISCONNECTED FROM HEATER WHEN NOT IN USE!
DANGER: CARBON MONOXIDE POISONING MAY LEAD TO DEATH!

For an indoor heater designed for emergency home heating use:
- The need for adequate combustion and ventilation air when the heater is used in a home and instructions to the reader to refer to the ventilation section addressing these requirements.
- Only disposable cylinders, marked with the proper fuel type approved for the appliance, can be used.
- NEVER Bring a Refillable LP-Gas Cylinder Indoors. A Fire or Explosion can Occur Causing Property Damage, Serious Injury or Death.
VENTILATION
Heater shall be used only in a well-ventilated space and shall not be used in a building, garage, or any other enclosed area.
Heater may be used with shelter no more inclusive than the following:
- With walls on all sides, but with no overhead cover.
- Within a partial enclosure, which includes an overhead cover and no more than two side walls. These side walls may be parallel, as in a breezeway, or at right angles to each other.
- Within a partial enclosure which includes an overhead cover and three side walls, as long as 30% or more of the horizontal periphery of the enclosure is permanently open.
- Heater shall only be used in a well-ventilated space and shall not be used in a building, garage, or any other enclosed area.
- This heater can be used in a recreational enclosure only if the enclosure has a window or roof vent.
- The proper amount of open area needed in a window or roof vent for adequate combustion and ventilation air. (4 in² at the ceiling and 4 in² at floor level per 4,000 Btu of input).
STORAGE/MAINTENANCE
Always disconnect the LP cylinder from the regulator assembly and remove the LP cylinder from the heater before putting the heater into storage. If, for any reason, the heater is to be stored in-doors, the heater MUST be disconnected from the LP cylinder, and the cylinder stored outdoors in a well-ventilated area, out of the reach of children, and in accordance with the Standard for Storage and Handling of Liquefied Gasses, ANSI/NFPA 58 and Natural Gas and Propane Installation Code, CSA B149.1- latest edition. The plastic valve plug or valve cover supplied with the LP cylinder must be reinstalled on the valve to protect the fitting from damage.
NOTE: Repair of this heater should be done by a qualified service person.
It is recommended that you save all the packaging materials that came with your heater, and re-package the heater using these materials for safe storage.
Debris, dust, and dirt inside of the heater body can affect the performance of your heater. This debris can impair the heater’s ability to draw air for ventilation and combustion. Spiderwebs can also appear during periods of inactivity.
Be sure to inspect the heater before each use to look for any such obstructions. Be sure to keep the air passageways (the slots below and above the heater plaques), burner and combustion areas clean. Wipe with a damp cloth or use a vacuum cleaner to clean these areas. It is suggested that you perform a thorough cleaning at least once every 30 days of operation. You may need to clean the heater more often if conditions are naturally dirty.
WARNING: Never use sharp objects to clean the pilot. Avoid damaging the precisely calibrated pilot orifice that controls the gas flow.
DANGER: Never store an LP cylinder inside of a building or near any other gas or oil burning applications.
CAUTION: Always be sure that the heater has been allowed to cool for at least 30 minutes before attempting to store, service, or perform maintenance.
TROUBLESHOOTING GUIDE
| PROBLEM | POSSIBLE CAUSE | SOLUTION |
| Unit will not create a spark. | 1. Spark electrode broken. 2. Igniter wire may not be attached to spark electrode. 3. Ground wire may not be attached to frame. 4. Igniter wire damaged. 5. Piezo igniter defective or broken. | 1. Replace electrode, part of ODS (Oxygen Depletion Sensor). 2. Attach spark electrode. 3. Attach ground to frame. 4. Replace igniter wire 5. Replace piezo, part of gas valve assembly. |
| Spark but not lighting. | 1. No propane to heater. 2. Pilot is blocked from spiderweb or dirt. | 1. Check propane level, replace disposable cylinder or connect hose and turn on valve at remote cylinder. 2. Clean pilot, see STORAGE /MAINTENANCE section. |
| Pilot will not stay lit. | 1. New cylinders and tanks need fuel line purged of air. 2. Pilot flame not surrounding thermocouple. 3. Pilot flame too small to reach thermocouple. 4. Tip-switch is activated. 5. Location is too windy. | 1. Press “ON” button for 5 seconds before spark to purge air from lines. 2. Clean pilot, see Maintenance section. 3. Clean pilot; be sure enough fresh air ventilation. 4. Be sure heater base is fairly level. 5. Be sure heater is facing away from wind or placed in a protected area. |
| Pilot stays lit, but main burner will not ignite. | 1. Main burner orifice is blocked. 2. Location is too windy. | 1. Clean heating plaques, see Maintenance section. 2. Be sure heater is facing away from wind or placed in a protected area. |
| Main burner goes out periodically. | 1. Pilot is partially blocked. 2. Oxygen Depletion Sensor (ODS) is sensing low oxygen level. 3. Tip-over switch is activating. 4. Low gas pressure. | 1. Clean pilot, see maintenance. 2. Provide minimum fresh air opening of 9 square inches, see section on Carbon Monoxide. 3. Make sure unit base is fairly level. Re-light. 4. Check fuel level. Replace LP regulator if faulty. |
EXPLODED VIEW (HH-04SLN-A, HH-04SLN-MA)

| ITEM # | DESCRIPTION | HH-04SLN-A, HH-04SLN-MA |
| 1 | Gas Control Valve with Ignitor | EL-00101 |
| 2 | ODS Pilot Assembly | EL-00103 |
| 3 | OFF Switch | EL-00100 |
| 4 | High Limit Thermal Switch | EL-00111 |
| 5 | Gas Valve Push Button | GC-01075 |
| 6 | Tank Base | GC-01066 |
| 7 | OFF Switch Cover | GC-01074 |
| 8 | OFF Button Spring | GC-01179 |
| 9 | Tip Switch – 35 Degree Action Angle | EL-00112 |
LIMITED WARRANTY
Pinnacle Climate Technologies, Inc. warrants this product to the original retail purchaser only, to be free from defects in material and workmanship for a period of one (1) year from the date of initial purchase. This product must be properly installed, maintained and operated in accordance with the instructions provided.
Pinnacle Climate Technologies, Inc. requires reasonable proof of your date of purchase from an authorized retailer or distributor. Therefore, you should keep your sales slip, invoice, or cancelled check from the original purchase.
This Limited Warranty shall be limited to the repair or replacement of parts, which prove defective under normal use and service within the warranty period, and which Pinnacle Climate Technologies, Inc. shall determine at its reasonable discretion.
This warranty does not apply to products purchased for rental use.
This Limited Warranty does not cover replacement of belts or tightening of belts, or any failures or operating difficulties due to normal wear and tear, accident, abuse, misuse, alteration, misapplication, improper installation or improper maintenance and service by you or any third party. Failure to perform normal and routine maintenance on the fan, shipping damage, damage related to insects, birds, or animals of any kind, and damage due to weather conditions are also not covered. In addition, the Limited Warranty does not cover damage to the finish, such as scratches, dents, discoloration, rust or other weather damage, after purchase.
All transportation costs for the return of the damaged product or parts will be the responsibility of the purchaser.
Upon receipt of damaged item, Pinnacle Climate Technologies, Inc. will examine the item and determine if defective.
Pinnacle Climate Technologies, Inc. will repair or replace and return the item, freight pre-paid. If Pinnacle
Climate Technologies, Inc. finds the item to be in normal operating condition, or not defective, the item will be returned freight collect.
This Limited Warranty is in lieu of all other express warranties. Pinnacle Climate Technologies, Inc. disclaims all warranties for products that are purchased from sellers other than authorized retailers or distributors.
AFTER THE PERIOD OF THE ONE (1) YEAR LIMITED WARRANTY EXPIRES, Pinnacle Climate Technologies, Inc. DISCLAIMS ANY AND ALL IMPLIED WARRANTIES, INCLUDING WITHOUT LIMITATION THE IMPLIED WARRANTIES OF MERCHANTABILITY AND FITNESS FOR A PARTICULAR APPLICATION. FURTHER, Pinnacle Climate Technologies, Inc. SHALL HAVE NO LIABILITY
WHATSOEVER TO PURCHASER OR ANY THIRD PARTY FOR ANY SPECIAL, INDIRECT, PUNITIVE, INCIDENTAL, OR CONSEQUENTIAL DAMAGES. Pinnacle Climate Technologies, Inc. assumes no responsibility for any defects caused by third parties. This Limited Warranty gives the purchaser specific legal rights; a purchaser may have other rights depending upon where he or she lives. Some states do not allow the exclusion or limitation of special, incidental or consequential damages, or limitations on how long a warranty lasts, so the above exclusion and limitations may not apply to you.
Pinnacle Climate Technologies, Inc. does not authorize any person or company to assume for it any other obligation or liability in connection with the sale, installation, use, removal, return, or replacement of its equipment, and no such representations are binding on Pinnacle Climate Technologies, Inc.
Always be sure to specify the model number and serial number when making any claim with Pinnacle Climate Technologies, Inc. For your convenience, use the space provided below to list this information.
Model # : ________________________________
Serial # : _________________________________
Date of Purchase: __________________________




















