HEAT HOG HH-09SLN-A Portable Propane Heater

PORTABLE PROPANE HEATER
WARNING: When this heater is used as a camp heater for indoor use, it can only be used in the US and in the location allowed where local authorities have jurisdiction. Do not use this heater indoors in Canada.
FOR CANADA AND USA (MASSACHUSETTS) SALES. IF YOU HAVE QUESTIONS OR COMMENTS, CONTACT US.
HH-09SLN-A is certified as an indoor/outdoor camp heater under ANSI Z21.103-2017 for the US only and HH-09SLN-MA is certified as an outdoor camp heater under ANSI Z21.63/CSA 11.3 for both the US and Canada. HH-18SLN-A is certified as an indoor/outdoor camp heater under ANSI Z21.103-2017 for the US only, and HH-18SLN-MA is certified as a GAS FIRED OUTDOOR INFRARED PATIO HEATER under ANSI Z83.26/CSA 2.371 for both the US and Canada. HH-09SLN-A • HH-18SLN-A For ANSI Z21.103-2017 INDOOR/OUTDOOR CAMP HEATER
WARNING: FIRE OR EXPLOSION HAZARD If you smell gas:
- Do not attempt to light appliance.
- Extinguish any open flame.
- Disconnect fuel supply.
- Leave the area immediately.
- Allow gas to dissipate 5 minutes before relighting the appliance.
Do not store or use gasoline or other flammable vapors and liquids in the vicinity of this or any other appliance. Failure to follow these instructions could result in fire or explosion, which could cause property damage, personal injury, or death.
WARNING: CARBON MONOXIDE POISONING MAY CAUSE DEATH OR INJURY
When used without adequate combustion and ventilation air, heater may give off excessive CARBON MONOXIDE, an odorless, poisonous gas. This is an unvented gas-fired heater. This heater uses air (oxygen) from the area in which the heater is used. Adequate combustion and ventilation air must be provided. Refer to page 11.
WARNING: When used without adequate combustion and ventilation air heater may give off excessive CARBON MONOXIDE, an odorless, poisonous gas.
DO NOT USE THIS HEATER UNTIL ALL NECESSARY PROVISIONS ARE MADE FOR COMBUSTION AND VENTILATION AIR. CONSULT THE WRITTEN INSTRUCTIONS PROVIDED WITH THE HEATER FOR INFORMATION CONCERNING COMBUSTION AND VENTILATION AIR.
DANGER: FOR YOUR SAFETY
Do not store or use gasoline or other flammable vapors and liquids in the vicinity of this or any other appliance. A propane cylinder not connected for use shall not be stored in the vicinity of this or any other appliance.
WARNING: Improper installation, adjustment, alteration, service, or maintenance can cause injury or property damage. Refer to this manual. For assistance or additional information, consult a qualified installer, service agency, or the gas supplier.
DANGER: CARBON MONOXIDE HAZARD
This appliance can product carbon monoxide which has no odor. Using it in an enclosed space can kill you. Never use this appliance in an enclosed space such as a camper, tent, car, or home.
WARNING: FIRE OR EXPLOSION HAZARD If you smell gas:
- Do not attempt to light appliance and make sure appliance is in the “OFF” position
- Extinguish any nearby flame.
- Shut off the cylinder fuel supply valve, if so equipped.
- Disconnect the disposable fuel cylinder. if so equipped
- Leave the area immediately.
- Allow gas to dissipate 5 minutes.
- If gas smell has dissipated from the area, the appliance, and fuel supply, follow gas connection procedures. If you smell gas again, follow steps 1-6 and have appliance serviced. Failure to follow these instructions could result in fire or explosion, which could cause property damage, personal injury, or death.
DANGER: Do not store or use gasoline or other flammable vapors and liquids in the vicinity of this or any other appliance. A propane cylinder not connected for use shall not be stored in the vicinity of this or any other appliance.
DANGER: If you smell gas:
- Shut off gas to the appliance.
- Extinguish any open flame.
- If odor continues, keep away from the appliance and immediately call your gas supplier or fire department.
WARNING: For outdoor use only.
WARNING: Improper installation, adjustment, alteration, service, or maintenance can cause injury, property damage, or death. Read the installation, operating and maintenance instructions thoroughly before installing or servicing this equipment.
DANGER: CARBON MONOXIDE HAZARD
This appliance can product carbon monoxide which has no odor. Using it in an enclosed space can kill you. Never use this appliance in an enclosed space such as a camper, tent, car, or home.
DANGER: FOR YOUR SAFETY
Do not store or use gasoline or other flammable vapors and liquids in the vicinity of this or any other appliance. A propane cylinder not connected for use shall not be stored in the vicinity of this or any other appliance.
- WARNING: DO NOT TAMPER WITH THE SAFETY SYSTEM!
- WARNING: CARBON MONOXIDE POISONING MAY LEAD TO DEATH! Heater is not to be used with fixed pipe system. Please retain instructions for future reference.
DEFINITIONS: SAFETY ALERT SYMBOLS AND WORDS
This instruction manual uses the following safety alert symbols and words to alert you to hazardous situations and your risk of personal injury or property damage.
- DANGER: Indicates an imminently hazardous situation which, if not avoided, will result in death or serious injury.
- WARNING: Indicates a potentially hazardous situation which, if not avoided, could result in death or serious injury.
- CAUTION: Indicates a potentially hazardous situation which, if not avoided, may result in minor or moderate injury. (Used without word) Indicates a safety related message.
- NOTICE: Indicates a practice not related to personal injury which, if not avoided, may result in property damage.
HEAT HOG® 9,000 BTU PORTABLE PROPANE HEATER


HEAT HOG® 18,000 BTU PORTABLE PROPANE HEATER

The HH-09SLN-A is designed and approved for use as a heater in accordance with Standard for gas camp heaters – for indoor/outdoor use – US only. ANSI Z21.103-2017. For Outdoor use- Canada and US only ANSI Z21.63:19/ CSA 11.3:19. The HH-18SLN-A is designed and approved for use as a heater in accordance with Standard for gas heaters for indoor/outdoor use – US only. ANSI Z21.103-2017. For Outdoor use (-MA Models) – Canada and US only CSA/ANSI Z83.26:20 • CSA 2.37:20, this standard is for use as patio heater. CHECK WITH YOUR LOCAL FIRE SAFETY AUTHORITY IF YOU HAVE ANY QUESTIONS ABOUT APPLICATIONS. Other standards govern the use of fuel gasses and heating products for specific uses. Your local authority can advise you about these.
- WARNING: Read all safety warnings and all instructions. Failure to follow the warnings and instructions may result in electric shock, fire, and/or serious injury.
- WARNING: To reduce the risk of injury, read the instruction manual.
- WARNING: Never modify the product or any part of it. Damage or personal injury could result.
If you have any questions or comments about this or any product, call Heat Hog at 800.641.6996.
GENERAL HAZARD WARNING
DANGER: Failure to comply with the precautions and instructions provided with this heater, can result in death, serious bodily injury and property loss or damage from hazards of fire, explosion, burn, asphyxiation, carbon monoxide poisoning and / or electric shock. Only persons who can understand and follow the instructions should use or service this heater. If you need assistance or heater information such as an instructions manual, label, etc. contact the manufacturer.
SAVE ALL WARNINGS AND INSTRUCTIONS FOR FUTURE REFERENCE
SAFETY INFORMATION
- WARNING: This product can expose you to chemicals, including lead, which are known to the State of California to cause cancer and birth defects or other reproductive harm. For more information go to www.P65Warnings.ca.gov.
- WARNING: Fire, burn, inhalation, and explosion hazard. keep solid combustibles, such as building materials, paper or cardboard, a safe distance away from
the heater as recommended by these instructions. Never use the heater in spaces which do or may contain volatile or airborne combustibles, or products such as gasoline, solvents, paint thinners, dust particles or unknown chemicals. Keep all combustible materials, gasoline, and other flammable vapors and liquid away from this heater. - DANGER: Carbon Monoxide Hazard This heater produces carbon monoxide, which has no odor. Burning the heater in an enclosed space can kill you. Never use the heater in enclosed spaces such as a tent, a camper, any vehicle or recreational vehicle (RV), enclosed shelter, building, garage, or any other enclosed areas without adequate ventilation.
- DANGER: If the information in this manual is not followed exactly, a fire or explosion may result causing property damage, personal injury or loss of life.
- WARNING: If the recreational enclosure does not have a window or roof vent, DO NOT USE THIS HEATER inside.
WARNING: DO NOT OPERATE THIS HEATER UNTIL YOU HAVE READ AND THOROUGHLY UNDERSTAND THESE SAFETY AND OPERATING INSTRUCTIONS. Failure to comply with the precautions and instructions provided with this heater can result in death, serious bodily injury, property loss or damage from the hazards of fire, explosions, burns, asphyxiation or carbon monoxide poisoning. Only persons who can read and understand these instructions should use or service this heater.
WARNING: EXTREMELY HOT DURING OPERATION! Do Not touch any metal components while in operation. Keep all combustible materials, gasoline, and other flammable vapors and liquid away from this heater.
WARNING: This heater is equipped with a SAFETY SYSTEM designed to turn off the heater if not enough fresh air is available.
DO NOT TAMPER WITH THE SAFETY SYSTEM!
If the heater shuts off, do not relight until you provide fresh air. If heater keeps shutting off, have the heater serviced. Keep burner and control compartment clean.
WARNING: RISK OF INDOOR AIR POLLUTION! The products described in this manual are propane direct-fired heaters. Direct-fired means that all of the combustion products of the heater enter the heated space. This appliance is rated at 98% combustion efficiency, but does produce small amounts of carbon monoxide. Carbon monoxide is toxic. Humans can tolerate only small amounts of carbon monoxide and so precautions should be taken to provide proper ventilation. Failure to provide proper ventilation in accordance with the instructions in this manual can result in death.
WARNING: Early signs of carbon monoxide poisoning resemble the flu, with headache, dizziness, and/or nausea. If you have these signs, the heater may not be working properly. GET FRESH AIR AT ONCE! Have heater serviced. Some people—pregnant women, persons with heart or lung disease, anemia, those under the influence of alcohol, those at high altitudes—are more affected by carbon monoxide than others.
DANGER: PROPANE IS AN EXPLOSIVE GAS. WHAT TO DO IF THE SMELL OF GAS IS PRESENT:
- DO NOT attempt to light the heater.
- Extinguish any open flame.
- Disconnect fuel supply.
- If odor continues, contact your local gas supplier or fire department.
- DO NOT touch or use any electric switch or any electric device that can cause a spark.
- Immediately call your gas supplier from a neighbor’s phone. Follow the gas suppliers instructions.
- If you can not reach your gas supplier, call the fire department.
- Service must be done by a qualified service agency.
WARNING: RISK OF BURNS, FIRE, AND EXPLOSION!
- NEVER store or use gasoline or other flammable vapors and liquids in the vicinity of this heater.
- Young children should be carefully supervised when they are in the are of the heater.
- Clothing or other flammable materials should not be hung from the heater or placed on or near the heater.
- Any guard or other protective device removed for servicing the heater must be replaced prior to operating the heater.
- NEVER connect heater to an unregulated gas supply.
- NEVER modify this heater or operate a heater that has been modified.
- NEVER service, move or handle heater while still hot or operating
Keep all combustible materials, gasoline, and other flammable vapors and liquid away from this heater.
CAUTION: HOT WHILE IN OPERATION. DO NOT TOUCH. KEEP CHILDREN, ANIMALS, CLOTHING, AND COMBUSTIBLES AWAY FROM HEATER. HIGH SURFACE
TEMPERATURES CAN CAUSE BURNS AND CLOTHING IGNITION
WARNING: For use with propane (LP) gas only.
- ALWAYS position the heater so that it is not directly exposed to water spray, rain, dripping water, or wind.
- Use heater in accordance with all local codes.
- This heater is shipped from the factory for use with propane (LP) gas only. Do not convert to any other gas. Installation must conform to local codes, or in their absence, with the standard for the Storage and Handling of Liquefied Petroleum Gases ANSI/NFPA 58 and the Natural Gas and Propane Installation Code CSA B149.1.
- Gas supply connections should be checked by using a 50/50 soap and water solution. Never use a flame to check for gas leaks.
- Use only the regulator and hose assembly purchased from Heat Hog. Inspect the regulator/hose assembly prior to each use of the heater. If there is excessive abrasion or wear, or if the hose is cut, replace it with the proper assembly prior to using the heater. The replacement hose assembly should follow the manufacturer’s specifications.
- This heater is not for use on finished surfaces such as floors and tables.
- Never use in a moving vehicle.
- Do not use for cooking or reheating food.
WARNING: The hose assembly shall be protected from traffic, building material, and contact with hot surfaces both during use and while in storage. An enclosure for a propane gas cylinder shall be ventilated by openings at both the upper and lower levels of the enclosure. The effectiveness of the opening(s) for purposes of ventilation shall be:
- One side of the enclosure shall be completely open; or
- For an enclosure having four sides, a top and a bottom:
- At least two ventilation openings shall be provided in the sidewalls of the enclosure, located at the valve level, equally sized, spaced at a minimum of 90 degrees (1.57 rad), and unobstructed. The opening(s) shall have a total free area of not less than 1 in2/lb (14.2 cm2/kg) of stored fuel capacity.
- entilation opening(s) shall be provided at floor level of the enclosure and shall have a total free area of not less than 1/2 in2/lb (7.1 cm2/kg) of stored fuel capacity. If ventilation openings at floor level are in a sidewall, there shall be at least two openings. The bottom of the openings shall be 1 in (25.4 mm) or less from the floor level and the upper edge no more than 5 in (127 mm) above the floor level. The openings shall be equally sized, spaced at a minimum of 90 degrees (1.57 rad), and unobstructed.
- Every opening shall have minimum dimensions to permit the entrance of a 1/8 in (3.2 mm) diameter rod.
- Ventilation openings in sidewalls shall not communicate directly with other enclosures of the heater.

- WARNING: RISK OF FIRE! ALWAYS LOCATE HEATER ON A STABLE AND LEVEL SURFACE!
- WARNING: NEVER LEAVE HEATER UNATTENDED WHILE BURNING, CONNECTED TO A POWER SOURCE, OR WHILE CONNECTED TO A FUEL SOURCE.
- WARNING: Use only disposable cylinders marked with the proper fuel type.
- Do not leave this appliance unattended while in operation. Keep children and pets away from the appliance at all times.
- A propane fired portable heater used for emergency home use shall not be set a an input setting in excess of 5,000 BTU/Hr (466 W) when located in a bathroom and shall not be set at an input setting of more than 10,000 BTU/Hr (2,931 W) when located in a bedroom. The corresponding settings for bedroom or bathroom use shall be clearly adjustment means.
- Items stored under the heater will be subject to radiant heater and could be seriously damaged.
- Children and adults should be alerted to the hazards of high surface temperatures and should stay away to avoid burns or clothing ignition.
- Any guard or other protective device removed for servicing the heater must be replaced prior to the operation of the heater.
- Installation and repair should be done by a qualified service person. The heater should be inspected before use and at least once every year by a qualified service person. More frequent cleaning may be required as necessary. It is imperative that the control compartment, burners, and circulating air passageways of the heater be kept clean.
- Appliance may shut down in windy conditions in excess of 3 miles per hour (4.83 kilometers per hour).
- When a heater is used with a remote propane cylinder the user must ensure that the propane cylinder meets the specifications for self-contained propane gas cylinder enclosures, outlined on page 5.
WARNING: PERSONS WHO ARE IMPAIRED OR UNDER THE INFLUENCE OF ALCOHOL OR DRUGS SHOULD NOT OPERATE HEATER.
ENCLOSURES FOR SELF-CONTAINED PROPANE GAS SUPPLY SYSTEMS
An enclosure for a propane gas cylinder shall be ventilated by openings at both the upper and lower levels of the enclosure. The effective ness of the opening(s) for purposes of ventilation shall be determined with the propane gas supply cylinder in place. This shall be accompanied by one of the following:
- One side of the enclosure shall be completely open; or
- For an enclosure having four sides, a top and a bottom :
- At least two ventilation openings shall be provided in the sidewalls of the enclosure, located at the valve level, equally sized, spaced at a minimum of 90 degrees (1.57 rad), and unobstructed. The opening(s) shall have a total free area of not less than 1 in2/lb (14.2 cm2/kg) of stored fuel capacity.
- Ventilation opening(s) shall be provided at floor level of the enclosure and shall have a total free area of not less than ½ in2/lb (7.1 cm2/kg) of stored fuel capacity. If ventilation openings at floor level are in a sidewall, there shall be at least two openings. The bottom of the openings shall be 1 in (25.4 mm) or less from the floor level and the upper edge no more than 5 in (127 mm) above the floor level. The openings shall be equally sized, spaced at a minimum of 90 degrees (1.57 rad), and unobstructed .
- Every opening shall have minimum dimensions to permit the entrance of a 1/8 in (3.2 mm) diameter rod.
- Ventilation openings in sidewalls shall not communicate directly with other enclosures of the heater. The cylinder valve shall be readily accessible for hand operation. A door on the enclosure to gain access to the cylinder valves is acceptable, provided it is non-locking and can be opened without the use of tools. Designs using a cover to gain access to the cylinder and cylinder valve shall be provided with handles or equivalent at a minimum of 180 degrees apart to facilitate lifting of the cover. The enclosure for the propane gas cylinder shall isolate the cylinder from the burner compartment to provide
- Shielding from radiation;
- A flame barrier; and
- Protection from foreign material, such as hot drippings.
There shall be a minimum clearance of 2 in (50.8 mm) between the floor of the propane gas cylinder enclosure and the ground. Leak tested inside the enclosure. When the appliance is equipped with a CGA No. 600 connection, the cylinder must be disconnected when the heater is not in use.
WHAT’S IN THE BOX

UNPACKING
- Remove all packing items applied to heater for shipment. Keep plastic cover caps attached to inlet connector and hose /regulator assembly for storage.
- Remove all items from carton.
- Check all items for shipping damage. If the heater is damaged, promptly inform dealer where you purchased the heater.
ACCESSORIES

Only use Heat Hog branded accessories. Call 800.641.6996 or visit us at HeatHog.com to order parts and accessories.
FEATURES
HH-18SLN-A and -MA Electronic Ignitor requires AAA Battery (not included). See page 9 for installation instructions.
OPERATION
Propane Supply / Information: Propane (LP)
This heater is not supplied with a propane cylinder. Use only an approved propane cylinders.
LP Characteristics
- Flammable, explosive under pressure, heavier than air and pools in low areas.
- In its natural state, propane has no odor, but for your safety an odor that smells like rotten cabbage has been added.
- Contact of propane (LP) gas with the skin can cause freeze burns.
- Heater is manufactured for use with propane gas only. DO NOT attempt to convert to any other gas. Such modifications are dangerous and will void the warranty.
- When heater is not in use, LP Cylinder must be removed.
- Be sure that the LP Cylinder is located on a level and stable surface.
- DO NOT use this heater in a basement or below ground level. Propane is heavier than air and will always seek the lowest level. If you suspect a leak, shut off the valve at the LP Cylinder immediately.
Basic Information
NOTE: The Heat Hog Portable Propane Heater can be used outdoors, but users may experience nuisance shutoffs due to certain wind conditions.
- In cold temperatures, the heat plaques may take a few minutes to get visibly hot. This is normal operation.
- It is normal for a small border around the edge of the heat plaques to not glow while operating.
- The guard that protects the user from the heat plaques gets very hot during operation. It has a special temperature resistant coating. The first time the heater is turned on, you may notice smoke or fumes emanating from the protective guard or the heater. This is normal and should stop after a few minutes.
- If you notice actual flames or any operation that does not meet the description in this manual, turn the heater off and call a qualified service technician.
- Miniumum operating and storage temperature is -20°F (-28.8°C)
Tilting Head Feature
The Heat Hog Portable Propane Heater features a patent pending tilting function that allows you to tilt the top portion of the heater up to 30° to direct heat to various heights.
- Turn heater to the OFF position.
- From the back side of the heater (opposite of the heating plaques and guard) place one hand on the top of the back side of the heater and one hand on the handle; see Figure 1.
CAUTION: If heater has been previously operating, the wire guard will remain hot. Allow guard to cool before handling.
- Gently push down on the top of the heater until you hear the tilt mechanism click.
- Keep tilting until desired angle is reached or you reach the limit of the tilting function.

- Follow the Lighting & Operation instructions for continued usage.
CAUTION: To avoid potential injury, do not adjust tilting angle while unit is operating.
Checking for Leaks
- To check for leaks, make up a 50/50 solution of dish soap and water. Apply this solution toall gas connections. If bubbles appear, there is a leak. If a leak is found, turn off the gas supply, and re-connect the leaking connection. If the leak persists after several tries, contact Heat Hog Service at 800.641.6996.
- The installation of this heater must meet all local codes and/or gas utility requirements. In the absence of local codes, the National Fuel Code ANSI Z223.1 should be followed.
- The minimum clearances to any combustible construction materials must be maintained at all times (See Page 3).
- Inspect the heater before each use, and at least annually by a qualified service person.
WARNING: EXTREMELY HOT during operation. Do Not touch any metal components while in operation. Keep gasoline and any other flammable liquids away from the heater.
The Heat Hog Portable Propane Heater may not burn as bright when operating at altitudes over 2,000 FT. above sea level. This is normal. At these high altitudes, the unit may shut off sporadically due to lower levels of oxygen. If this happens, provide fresh air and wait 5 minutes and re-light. Localized atmospheric conditions may cause heater to not re-light.
- In general, operating time will vary depending on the heater setting and the supply cylinder size. Up to 3 to 6 hours on a 1 lb. cylinder. Up to 48 to 110 hours on a 20 lb. cylinder (based on “HI” and “LO” settings). Run times of LP gas can be significantly reduced when operating continuously at temperatures below 20ºF. The Heat Hog is designed to keep your 1lb cylinder warm. When using a 20 lb. tank, you may notice a decrease in BTU output.
- Your Heat Hog Portable Propane Heater is equipped with a tip-over safety switch. When moving the heater when lit, bumping heater, setting it down or adjusting the heating angle, the tip over switch may shut off heater. If this happens, be sure the base is level and re-light.
- Condensation may build up on 1lb LP cylinder and drip under heater. This may cause frost on the bottom of the cylinder or may refreeze under or around the heater. This is due to the natural operation of small LP cylinders and is normal.
- If heater shuts off, do not relight until you provide fresh air. If heater keeps shutting off, have the heater serviced. Keep burner and control compartment clean.
Lighting & Operating Instructions for Use with Disposable 1 Lb. Propane Cylinder
WARNING: Always inspect propane cylinder and heater propane connections for damage, dirt, and debris before attaching propane cylinder. Do not use if head of cylinder is damaged, punctured or deteriorated.
ALWAYS ATTACH OR DETACH CYLINDER OUTDOORS AWAY FROM FLAMES, OTHER SOURCES OF IGNITION, AND ONLY WHEN HEATER IS COOL TO TOUCH.
- Use only LP-gas cylinders marked in accordance with the U.S. Department of Transportation (DOT) or CSA B339, as applicable. Cylinders must be provided with a listed overfill protection device.
- Use only 1-lb. disposable cylinders (16.4 oz.) that mate with No. 600 valve connection, marked propane.
- Keep heater and cylinder in an upright position during operation.
- Before attaching propane make sure Control Knob on heater is in “OFF” position; see Figure 2.
- Tilt the regulator outward from the back and screw the 1-lb. disposable LP-gas cylinder clockwise (from bottom) into unit until hand- tight; see Figure 3. DO NOT use thread sealant on this connection.

- Be sure to inspect all connections for leaks, by using a 50/50 mixture of dish soap and water on all connection. Any bubbles forming indicate a leak.
- Heater must not be exposed to flammable vapors or liquids during lighting.
- For HH-09SNL-A and -MA turn Control Knob counterclockwise to “PILOT” position and depress knob to light; see Figure 2.
- If pilot light does not light, release and depress again. Repeat until pilot lights.
- After pilot lights, continue to hold Control Knob down for 30–60 seconds until heating plaques are lit and thermocouple is hot. Release knob. Knob should return to fully extended position; see Figure 2.
- To operate heater slightly depress knob and gently turn to desired setting.
- For HH-18SNL-A and -MA To install the AAA battery for the electronic ignitor, remove the ignitor top housing counterclockwise by hand. Place the AAA battery into the electronic ignitor bottom housing with the positive “+” terminal button facing up, see Figure 5. Reinstall the electronic ignitor top housing clockwise.
- Turn Control Knob counterclockwise to “PILOT” position and depress knob and hold down; see Figure 4.
- Press ignition button from behind the heater while still holding the Control Knob down until pilot lights. If pilot does not light, repeat steps.
- After pilot lights, hold Control Knob down for 30–60 seconds until heating plaques are lit and thermocouple is hot. Release knob. Knob should return to fully extended position; see Figure 2.
- To operate heater slightly depress knob and gently turn to desired setting.

Lighting & Operating Instructions for Use with Hose Connected to a Remote Cylinder, Maximum Size 20 Lb.
The Propane (LP) cylinder must also be equipped with the following:
- A collar to protect the gas valve.
- A shut-off valve terminating a LP cylinder valve outlet as specified in the American National Standard for Compressed Gas Cylinder Valve Outlets and Inlets Connections.
- A safety relief valve having direct communications with the vapor space of the LP cylinder.
- Do not store a spare propane gas cylinder under or near this appliance.
- Never fill the cylinder beyond 80% full.
- Place the dust cap on the cylinder valve outlet whenever the cylinder is not in use. Only install the type of dust cap on the cylinder valve that is provided with the cylinder valve. Other types of caps or plugs may result in leakage of propane.
- The heater must operate on vapor withdrawal from the operating cylinder.
- Heater must be in an upright position during operation.
DANGER: NEVER bring a refillable propane cylinder indoors. A fire or explosion can occur causing property damage, serious injury or death!
- Inspect the hose before each use. If there is excessive abrasion or wear, or the hose is cut, replace prior to use. Keep hose out of pathways where people may trip over it or or in areas where the hose may be subject to accidental damage.
- Keep heater and cylinder in an upright position during operation.
- Before attaching propane make sure Control Knob on heater is in “OFF” position; see Figure 4.
- Be sure to inspect all connections for leaks, by using a 50/50 mixture of dish soap and water on all connection. Any bubbles forming indicate a leak.
- Follow operating instructions for your model.
Shut Down Instructions Using 1 Lb. Disposable Cylinder
- To shut off heater, slightly push down and turn Control Knob clockwise to “OFF” position.
CAUTION: After turning heater off, wire guard will remain hot. Allow guard to cool before handling and storing. - Do not operate, store, or remove cylinder near flammable items or ignition sources.
- A cylinder shall be stored outdoors in a well ventilated area out of the reach of children. A disconnected cylinder shall have dust caps tightly installed and shall not be stored in a building, garage, or any other enclosed area.
- LP-GAS CYLINDERS MUST BE DISCONNECTED FROM HEATER WHEN NOT IN USE!

Shut Down Instructions Using 20 Lb. Tank
- To shut off heater, shut off propane at supply tank first, allow heater to use up propane in supply line until heater shuts off, then slightly push down and turn Control Knob clockwise to “OFF” position.
- CAUTION: After turning heater off, wire guard will remain hot. Allow guard to cool before handling and storing.
- Do not operate, store, or remove cylinder near flammable items or ignition sources.
- Cylinders must be stored outdoors out of the reach of children and must not be stored in a building, garage, or any other enclosed area.
- LP-GAS CYLINDERS MUST BE DISCONNECTED FROM HEATER WHEN NOT IN USE!
DANGER: CARBON MONOXIDE POISONING MAY LEAD TO DEATH!
NEVER bring a Refillable LP-Gas Cylinder Indoors. A Fire or Explosion can Occure Causing Property Damage, Serious Injury or Death.
VENTILATION
Heater shall be used only in a well-ventilated space and shall not be used in a building, garage, or any other enclosed area. Heater may be used with shelter no more inclusive than the following:
- With walls on all sides, but with no overhead cover.
- Within a partial enclosure, which includes an overhead cover and no more than two side walls. These side walls may be parallel, as in a breezeway, or at right angles to each other.
- Within a partial enclosure which includes an overhead cover and three side walls, as long as 30% or more of the horizontal periphery of the enclosure is permanently open.
- Heater shall only be used in a well-ventilated space and shall not be used in a building, garage, or any other enclosed area.
STORAGE / MAINTENANCE
Always disconnect the LP cylinder from the regulator assembly and remove the LP cylinder from the heater before putting the heater into storage. If, for any reason, the heater is to be stored in-doors, the heater MUST be disconnected from the LP cylinder, and the cylinder stored outdoors in a well-ventilated area, out of the reach of children, and in accordance with the Standard for Storage and Handling of Liquefied Gasses, ANSI/NFPA 58 and Natural Gas and Propane Installation Code, CSA B149.1- latest edition. The plastic valve plug or valve cover supplied with the LP cylinder must be reinstalled on the valve to protect the fitting from damage.
NOTE: Repair of this heater should be done by a qualified service person.
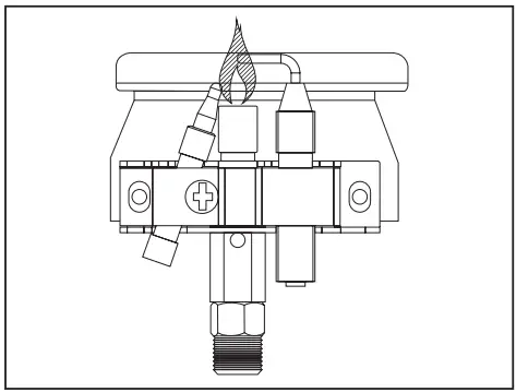
It is recommended that you save all the packaging materials that came with your heater, and re-package the heater using these materials for safe storage. Debris, dust, and dirt inside of the heater body can affect the performance of your heater. This debris can impair the heater’s ability to draw air for ventilation and combustion. Spiderwebs can also appear during periods of inactivity. Be sure to inspect the heater before each use to look for any such obstructions. Be sure to keep the air passageways (the slots below and above the heater plaques), burner and combustion areas clean. Wipe with a damp cloth or use a vacuum cleaner to clean these areas. It is suggested that you perform a thorough cleaning at least once every 30 days of operation. You may need to clean the heater more often if conditions arenaturally dirty. Keep heater area clear and free from combustible materials, gasoline, and other flammable vapors and liquids. Clean the ceramic plaques using compressed air (max. 30 PSI) to prevent damage to plaques. A yellow tip of the pilot flame indicates that the burner area may be in need of cleaning. Inspect and clean the pilot (mounted to bracket) by using a vacuum or apply air pressure through the holes in the pilot Figure 4.
- WARNING: Never use sharp objects to clean the pilot. Avoid damaging the precisely calibrated pilot orifice that controls the gas flow.
- DANGER: Never store an LP cylinder inside of a building or near any other gas or oil burning applications.
- CAUTION: Always be sure that the heater has been allowed to cool for at least 30 minutes before attempting to store, service, or perform maintenance.

TROUBLESHOOTING GUIDE


EXPLODED VIEW (HH-09SLN-A / -MA)
PARTS LIST (HH-09SLN-A / -MA)

EXPLODED VIEW (HH-18SLN-A / -MA)

PARTS LIST (HH-18SLN-A / -MA)

LIMITED WARRANTY
Pinnacle Climate Technologies, Inc. warrants this product to the original retail purchaser only, to be free from defects in material and workmanship for a period of one (1) year from the date of initial purchase. This productmust be properly installed, maintained and operated in accordance with the instructions provided. Pinnacle Climate Technologies, Inc. requires reasonableproof of your date of purchase from an authorized retailer or distributor. Therefore, you should keep your sales slip, invoice, or canceled check from the original purchase. This Limited Warranty shall be limited to the repair or replacement of parts, which prove defective under normal use and service within the warranty period, and which Pinnacle Climate Technologies, Inc. shall determine at its reasonable discretion. This warranty does not apply to products purchased for rental use. This Limited Warranty does not cover the replacement of belts or tightening of belts, or any failures or operating difficulties due to normal wear and tear, accident, abuse, misuse, alteration, misapplication, improper installation or improper maintenance and service by you or any third party. Failure to perform normal and routine maintenance on the fan, shipping damage, damage related to insects, birds, or animals of any kind, and damage due to weather conditions are also not covered. In addition, the Limited Warranty does not cover damage to the finish, such as scratches, dents, discoloration, rust or other weather damage, after purchase. All transportation costs for the return of the damaged product or parts will be the responsibility of the purchaser. Upon receipt of the damaged item, Pinnacle ClimatTechnologies, Inc. will examine the item and determine if defective. Pinnacle Climate Technologies, Inc. will repair or replace and return the item, freight pre-paid. If PinnacleClimate Technologies, Inc. finds the item to be in normal operating condition, or not defective, the item will be returned to freight collect. This Limited Warranty is in lieu of all other express warranties. Pinnacle Climate Technologies, Inc. disclaims all warranties for products that are purchased from sellers other than authorized retailers or distributors.
AFTER THE PERIOD OF THE ONE (1) YEAR LIMITED WARRANTY EXPIRES, Pinnacle Climate Technologies, Inc. DISCLAIMS ANY AND ALL IMPLIED WARRANTIES, INCLUDING WITHOUT LIMITATION THE IMPLIED WARRANTIES OF MERCHANTABILITY AND FITNESS FOR A PARTICULAR APPLICATION. FURTHER, PinnacleClimate Technologies, Inc. SHALL HAVE NO LIABILITY WHATSOEVER TO PURCHASER OR ANY THIRD PARTY FOR ANY SPECIAL, INDIRECT, PUNITIVE, INCIDENTAL, OR CONSEQUENTIAL DAMAGES.
Pinnacle Climate Technologies, Inc. assumes no responsibility for any defects caused by third parties. This Limited Warranty gives the purchaser specific legal rights; a purchaser may have other rights depending upon where he or she lives. Some states do not allow the exclusion or limitation of special, incidental or consequential damages, or limitations on how long a warranty lasts, so the above exclusion and limitations may not apply to you. Pinnacle Climate Technologies, Inc. does not authorize any person or company to assume for it any other obligation or liability in connection with the sale,installation, use, removal, return, or replacement of its equipment, and no such representations are binding on Pinnacle Climate Technologies, Inc. Always be sure to specify the model number and serial number when making any claim with Pinnacle Climate Technologies, Inc. For your convenience, use the space provided below to list this information.
- Model #: ________________________________________________
- Serial #: _________________________________________________
- Date of Purchase: _______________________________________


























