Thank you for purchasing your new heater.
These operating instructions will help you use it properly and safely.
We recommend that you spend some time reading this instruction manual in order that you fully understand all the operational features it offers.
Read all the safety instructions carefully before use and keep this instruction manual for future reference.
Safety warnings
READ ALL INSTRUCTIONS BEFORE ATTEMPTING TO OPERATE THIS UNIT. KEEP THE ASSEMBLY INSTRUCTIONS FOR FUTURE REFERENCE. KEEP THE ASSEMBLY INSTRUCTIONS FOR FUTURE REFERENCE. KEEP THE ORIGINAL PACKAGING FOR USE WHEN STORING THE HEATER DURING EXTENDED PERIODS OF NON-USE.
-Read all instructions before using this unit.
-Do not leave this unit unattended when in use.
-This heater will get hot when in use. Do not touch hot surfaces.
-Caution: Some parts of this product can become very hot and cause burns.
Particular attention has to be given when children and vulnerable people are present.
-Do not move the unit when in use. Wait until the heater is completely cool before moving and check that it has been unplugged from the power supply.
-Position the unit at least 1m away from highly combustible materials such as furniture, trees, leaves, dry grass, and bushes.
-The heater must be a minimum of 1.8m away from the ground and a minimum of 0.5m away from the ceiling of a building or overhanging items.
-The heater must not face the heating element pointing upwards towards a ceiling. The heater element must be facing the area it is to heat.
-Warning: In order to avoid overheating do not cover the heater. It is not for drying clothes.
-Keep children and pets at a safe distance from the unit.
-This appliance can be used by children aged from 8 years and above and persons with reduced physical, sensory or mental capabilities or lack of experience and knowledge if they have been given supervision or instruction concerning use of the appliance in a safe way and understanding the hazards
involved.
-Children shall not play with the appliance. Cleaning and user maintenance shall not be made by children without supervision.
-Do not operate the heater if any signs of damage or malfunction manifest themselves.
-Do not attempt to repair or adjust any electrical or mechanical functions on this unit. The unit does not contain any user-serviceable parts. Only a qualified electrician should perform servicing or repairs. Attempting to repair the unit yourself will void your warranty.
-If the power cable is damaged, it must be replaced by the manufacturer, its service agent, or similarly qualified persons in order to avoid a hazard.
-Do not handle the element with bare hands. If it is inadvertently touched, remove finger marks with a soft cloth and methylated spirits or alcohol, otherwise, the marks will burn into the element causing premature heater failure.
-Do not replace or attempt to replace the element in this product.
-This product is suitable for indoor and outdoor use. Do not use this heater in the immediate surroundings of a bath, shower, or swimming pool.
-This product must not be left outdoors exposed to the elements for long periods of time.
-Do not touch the plug with wet or damp hands.
-Do not run the power cable under carpeting. Do not cover the power cable with rugs, runners, or similar coverings. Arrange the power cable away from foot traffic and where it will not be tripped over.
-Do not wind the power cable around the unit.
-Do not insert or allow foreign objects to enter any ventilation or opening on the heater, as this may result in electric shock, fire, or damage to the heater.
-To prevent a possible fire, do not block the air vents.
-A heater has hot and arcing or sparking parts inside. Do not use in areas where petrol, paint, explosives, and/or flammable liquids are used or stored. Keep the unit away from heated surfaces and open flames.
-Where possible, avoid the use of an extension cable as this may overheat and cause a fire. However, if you have to use an extension cable, ensure it is suitable for the purpose, has been tested for outdoor use, and preferably has an RCD device fitted or attached.
-Always ensure the heater is plugged into a suitable socket, one that is tested for outdoor use.
-To disconnect the heater, turn controls to OFF, then remove the plug from the socket. Do not unplug by pulling on the power cable.
-Always unplug the unit and ensure the unit is completely cold before moving, cleaning, or storing.
-This heater is intended for domestic use only and should not be used commercially for contract purposes. Any alternative use, not recommended by the manufacturer, may result in fire, electric shock, or injury to persons.
-The use of attachments on the heater is not recommended.
-Warning: This heater is not equipped with a device to control the room
temperature. Do not use this heater in small rooms when occupied by persons not capable of leaving a room on their own, unless constant supervision is provided.
-Check exterior walls for areas of damage before installing the heater.
-Always use on a dry, suitably strong, stable, flat, and level surface.
-Check exterior walls for communication and electrical cables and pipelines.
Should any service lines be present in the immediate vicinity do not install your heater, find an alternative location to install this product.
-Do not position directly above or below an electrical socket.
-Do not remove any of the warning stickers or signs from the product.
Installation
- Before the installation, these matters need attention
1. Products should be put down gently
2. Acid and alkali environment installation are not recommended.
3. The product must be grounding
4. The products are required to check the product brandmark on the voltage and the local voltage whether conforming.
5. Ensure the power rating should have sufficient current-carrying capacity. - Ensure the production’s installation site
For the safe use of the product, the product installation position should guarantee the bottom minimum height of 1.8 m from the ground, ceiling, roof, or other coverings minimum distance is 0.5 m, minimum distance with both sides wall is 0.5 m (as shown in figure 1).
- Installation steps
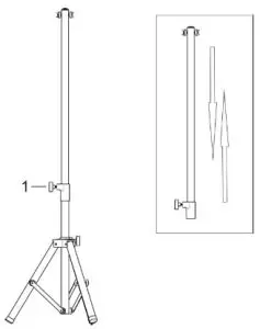
B. Turn Knob 1 in the opposite direction to adjust the height of the required upper tube, and then turn Knob 1 in the positive direction to fix the lifting tube (as shown below)

C. Turn Knob 2 in the opposite direction to adjust the distance between the required height of the middle pipe and the bottom branch.
After adjusting to the desired position, turn Knob 2 in the positive direction to make it fixed (as shown below)

Step3: Put the rocker switch on the right side and use M6*14mm screws and butterfly nuts to fix the L shape bracket and the heater head.
Use M6*47 screws and M6 nuts to fix the whole heater head to the stand.

Operating Instructions

The rocker power switch on the right side to control power on/off.
Remote Control

- Power indicator
When in use, press any button, the red indicator will flash. - On/Off
Switches on or off the heater or stands it by. - First gear
After turning on the heater, you can choose low heating. - Second gear
After turning on the heater, you can choose moderate heating. - Third gear
After turning on the heater, you can choose high heating.
Maintenance and Cleaning
Maintenance
Attention! Careful and regular maintenance of the Infrared Heater is required to attain a long and efficient operation of your appliance.
- Check the cleanliness of the Reflector and IR-Filament at least once a month. If necessary, apply cleaning and maintenance instructions.
- The number of checks may be increased considering the amount of dust in the environment.
- Check the deformation of the Reflector, Wire, and Frame visually while cleaning the appliance. In case of any deformation, consult a qualified technician.
- Check the power cable and plug visually while cleaning the appliance. In case of any deformation, consult a qualified technician.
- It is recommended to change the reflector every 2 years for more efficient operation.
Cleaning
Attention! Regular and careful cleaning helps your heater operate for longer years and more efficiently.
- Unplug your power cable for your safety before cleaning your appliance.
- Take out the front grid wire through the inlets on the frame using a slotted screwdriver.
- Make sure that the power is off for your safety. Power cable plug must be unplugged.
- The reflector and filament must be cleaned with a soft cloth, a smooth brush, or cool or dry air. The cloth may be damp but never too wet and the cleaner should not include any chemicals.
- Refrain from using cleaning material likely to damage the reflector (cleanser etc.).
- Insert the wire grid using a slotted screwdriver.
Specifications
Model: HB-1500LRC
| Voltage | AC120V |
| Frequency | 60Hz |
| Electric Power | 1500W |
The symbol on the product or in the instructions means that your electrical and electronic equipment should be disposed of at the end of its life separately from your household waste.
There are separate collection systems for recycling.
For more information, please contact the local authority or your retailer where you purchased the product.


















