SortWise SW-POCS-MG004F Kitchen Cabinet Blind Corner

Swing Tray Assembly Instruction(RIGHT)



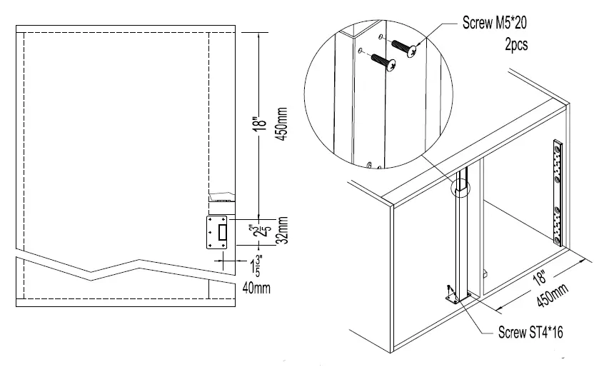
- Fix the side support and cabinet with 4pcs screws ST4*16 as the requested size shown as the picture.
- Fix the bottom of middle tube holder and cabinet with 5pcs screws ST4*16 as the requested size, fix the top of middle tube holder and cabinet as same , then fix the middle tube holder with 2pcs screws M5*20 shown as the picture.

- Fix one long arm support with middle tube holder with 4pcs screws M5*10 as show in picture , the fix another one long arm support as same shown as the picture.

- Fix one short arm support with side support with 4pcs screws M5*10 as show in picture , the fix another one short arm support as same shown as the picture.

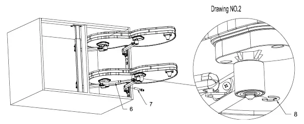
- Fix the gas support and 2pcs long arm support & 2pcs short arm support with 2pcs screws M4*6 each shown as the picture.

- Insert the 2pcs tray into the long arm supports & short arm supports shown as the picture.picture.

- .Fix the 2pcs gas supports one by one shown as Drawing NO. 1 .

- Click the 4pcs plastic clips one by one on one side of long arm support & short arm support shown as Drawing NO. 2 .


























