![]()

USER’S MANUAL
JZ10009
Low Cabinet
THIS INSTRUCTION BOOKLET CONTAINS IMPORTANT SAFETY INFORMATION. PLEASE READ AND KEEP FOR FUTURE REFERENCE.
![]()
(1) (2) (3)
x1
x1
x1
(4) (5) (6)
x2
x1
x1
(7) (8) (9)
x1
x1
x1
(10) (11) (12)
x1
x1
x2
(13) (14)
x1
x1
a b c
![]()
Ø6x30mm x18 Ø6x35mm x16 Ø15x10mm x16
d e f

x2 Ø3x12mm x4 Ø3x10mm x4
g h i

x4 Ø4x18mm x4 x8
j k l

x1 Ø4x12mm x1 x4
m n o

x8 Ø2.5x12mm x48 Ø4x25mm x2
p q r
![]()
Ø3x14mm x22 Ø8x40mm x1 Ø4x60mm x1
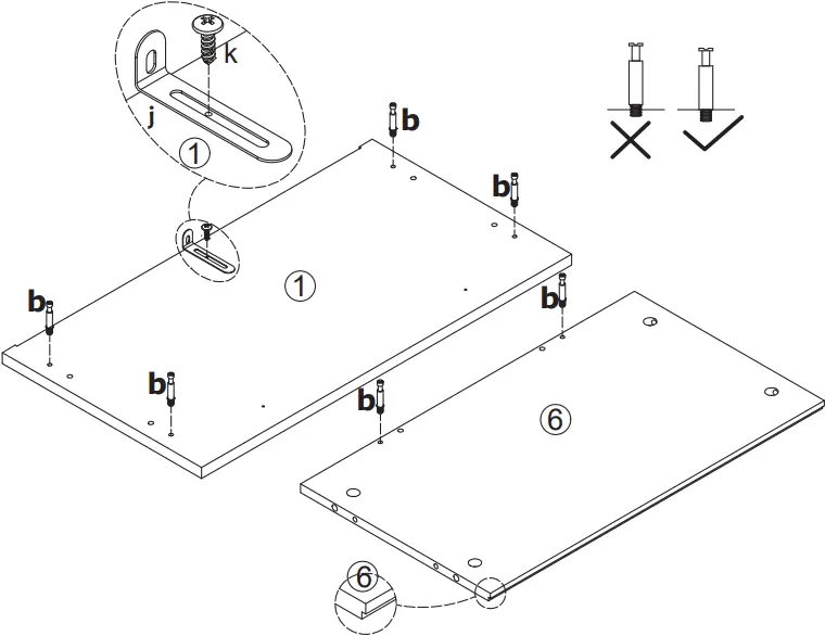
1

| b x6 | |
![]() | j x1 |
| k x1 |
2

| a x2 | |
| c x2 |

3

![]() | d x2 |
![]() | e x4 |
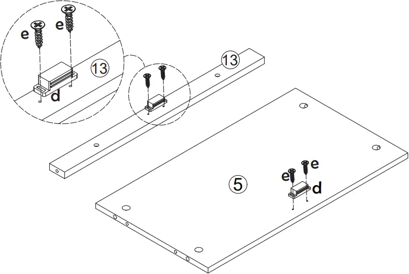
4

![]() | f x2 | ![]() | l x2 |
![]() | g x2 | ![]() | m x4 |
![]() | h x2 | ![]() | n x12 |
5

![]() | g x2 | ![]() | m x4 |
![]() | h x2 | ![]() | n x12 |
![]() | l x2 | ![]() | f x2 |
6

| b x10 |
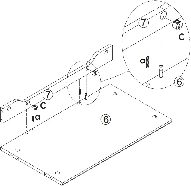
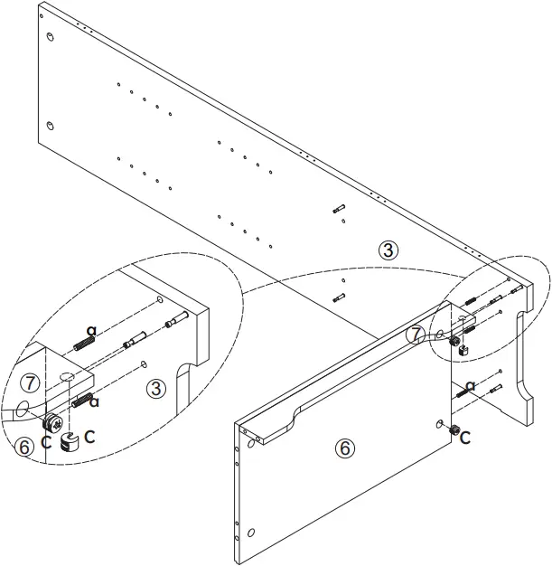
7

| a x3 | |
| c x3 |

8

| a x2 | |
| c x2 |

9

| a x7 |
10

| c x5 |

11

| a x4 | |
| c x4 | |
![]() | o x2 |
12

| p x22 |
13

![]() | n x12 |
14

![]() | i x8 |
15

![]() | n x12 |
16

- WALL
![]() | q x1 |
| r x1 |
![]()
With your inspiring rating, COSTWAY will be more consistent to offer you EASY SHOPPING EXPERIENCE, GOOD PRODUCTS and EFFICIENT SERVICE!
US office: Fontana UK office: Ipswich
DE office: FDS GmbH, Neuer Höltigbaum 36, 22143 Hamburg, Deutschland
FR office : 26 RUE DU VERTUQUET, 59960 NEUVILLE EN FERRAIN, FRANCE

















