
RAP6262 Wireless Outdoor Omni-directional Access
Installation Guide
Hardware Installation and Reference Guide V1.0
RG-RAP6262 Wireless Outdoor Omni-directional Access
Copyright
Ruijie Networks©2022
Ruijie Networks reserves all copyrights of this document.
Any reproduction, excerption, backup, modification, transmission, translation or commercial use of this document or any portion of this document, in any form or by any means, without the prior written consent of Ruijie Networks is prohibited.
Trademarks including
are owned by Ruijie Networks.
All other trademarks or registered trademarks mentioned in this document are owned by their respective owners.
Disclaimer
The products, services or features you purchase are subject to commercial contracts and terms. Some or all of the products, services or features described in this document may not be within the scope of your purchase or use. Unless otherwise agreed in the contract, Ruijie Networks does not make any express or implied statement or guarantee for the content of this document.
Due to product version upgrades or other reasons, the content of this document will be updated from time to time. Ruijie Networks reserves the right to modify the content of the document without any notice or prompt.
This manual is for reference only. Ruijie Networks endeavors to ensure content accuracy and will not shoulder any responsibility for losses and damages caused due to content omissions, inaccuracies or errors.
Preface
Intended Audience
This document is intended for:
- Network engineers
- Technical support and servicing engineers
- Network administrators
Technical Support
- The official website of Ruijie Reyee: https://www.ruijienetworks.com/products/reyee
Conventions
1. Signs
The symbols used in this document are described as follows:
Danger
An alert that calls attention to safety operation instructions that if not understood or followed when operating the device can result in physical injury.
Warning
An alert that calls attention to important rules and information that if not understood or followed can result in data loss or equipment damage.
Caution
An alert that calls attention to essential information that if not understood or followed can result in function failure or performance degradation.
Note
An alert that contains additional or supplementary information that if not understood or followed will not lead to serious consequences.
Specification
An alert that contains a description of product or version support.
Note
This manual provides the device installation steps, hardware troubleshooting, module technical specifications, and specifications and usage guidelines for cables and connectors. It is intended for the users who have some experience in installing and maintaining network hardware. At the same time, it is assumed that the users are already familiar with the related terms and concepts.
Product Overview
The RG-RAP6262(G) is an outdoor wireless access point (AP) designed by Ruijie Networks for high-speed wireless networks. Adhering to the latest 802.11ax standard, the AP delivers an access rate of up to 1200Mbps@5G + [email protected]. RAP6262(G) features security, radio frequency (RF) control, mobile access, Quality of Service (QoS) and seamless roaming. In addition, it can be managed by RG-WS series wireless access controllers (ACs) to implement wireless data forwarding, security, and access control.
The IP68 design adapts to inclement outdoor environments such as the cold and humidity. This substantially simplifies installation and maintenance. RAP6262(G) supports PoE to take over challenges in a wide variety of deployment scenarios, including large-scaled campuses, enterprises, hospitals and Wi-Fi hotspots.
1.1 Technical Specifications
Table 1-1 Technical Specifications of RG-RAP6262(G)
| Model | RG-RAP6262(G) |
| Dimensions (L x W x H) | 222 mm × 200 mm × 166 mm (8.74 in. x 7.87 in. x 6.54 in.) |
| Access Rate | Built-in antenna: 1775 Mbps 2.4 GHz: up to 575 Mbps 5 GHz: up to 1200 Mbps |
| Operating Frequency | 802.11b/g/n/ax: 2.4 GHz to 2.483 GHz 802.11a/n/ac/ax: 5.150 GHz to 5.350 GHz, 5.47 GHz to 5.725 GHz, 5.725 GHz to 5.850 GHz (Country-Specific) |
| Maximum Transmit Power | 500 mW (Country-Specific) |
| Antenna Type | Built-in omnidirectional antenna |
| Antenna Gain | 2.4 GHz: 3 dBi 5 GHz: 4 dBi |
| Beam Width | 2.4G: E: 30°; H: 360° 5G: E: 30°; H: 360° |
| Ports | Two 10/100/1000 Base-T Ethernet ports Uplink LAN 1/PoE port supports PoE |
| FIT/FAT Mode | Not supported |
| LED | System and port status indicators |
| Power Supply | 12 V DC/2 A IEEE 802.3at (PoE+) |
| Power Consumption | Maximum: 17 W |
| Temperature | Operating: -30°C to 65°C (-22°F to 149°F) Storage: -40°C to 85°C (-40°F to 185°F) |
| Humidity | Operating: 0% to 100% (non-condensing) Storage: 0% to 100% (non-condensing) |
| IP Rating | IP68 |
| Weight (Without Bracket) | < 1 kg (2.20 lbs) |
| Safety Standards | IEC62368-1 |
| EMC Standards | EN55032 EN55035 EN301489-1 EN301489-17 |
| Vibration | IEC61373 |
| Radio Approvals | EN300328 EN301893 EN62311 EN50385 EN62232 |
Table 1-2 LEDs of RG-RAP6262(G)
| Indicator | Status | Meaning |
| Wi-Fi (Green) | Blinking | Data is transmitted by Wi-Fi. |
| Solid on | Wi-Fi is enabled and no data is transmitted. | |
| Off | Wi-Fi is disabled. | |
| SYS(Blue) | Blinking | Fast blinking: The device is being initialized. Slow blinking (0.5 Hz): The device cannot access the Internet. Blinking twice*: 1. Restoring the factory settings. 2. Upgrading the firmware. 3. Restoring the image file. *In this case, please do not power off the device. |
| Solid on | The device is working properly. | |
| Off | The device is powered off. | |
| LAN 1(Green) | Blinking | The port is up and data is transmitted. |
| Solid on | The port is up and no data is transmitted. | |
| Off | The port is not connected. | |
| LAN 2(Green) | Blinking | The port is up and data is transmitted. |
| Solid on | The port is up and no data is transmitted. | |
| Off | The port is not connected. |
Table 1-3 Reset Button
| Button | Function | Operation |
| Reset | Reboot | Press the button for less than 2 seconds, and the device will be rebooted. |
| Restore Factory Settings | Press the button for over 5 seconds, and the device will restore the factory settings. |
1.2 Appearance
The RG-RAP6262(G) provides a Wi-Fi indicator, a SYS indicator, and two LAN port indicators.
Figure 1-1 Appearance

1.3 Ports
Figure 1-2 Ports

| Note | |
| 1. 10/100/1000BASE-T Ethernet port 2. DC power supply port 3. 10/100/1000BASE-T Ethernet port/PoE port | 4. Reset button 5. Waterproof cap |
1.4 Power Supply
The AP supports 802.3at PoE (port LAN 1) or 12 V DC/2 A power supply (If needed, you can buy the adapter from Ruijie Networks).
Preparing for Installation
Note
- To prevent device damage and physical injury, please read carefully the safety recommendations described in this chapter.
- The following safety suggestions do not cover all possible hazardous situations.
- RGRAP6262(G) series AP is a class A product. In a domestic environment, this product may cause radio interference in which case the user may be required to take adequate measures.
2.1 Grounding and Lightning Protection
- Keep the grounding connection within 30 m, and use a 40mm x 4mm or 50mm x 5mm grounding bar of hotdip zinc-coated flat steel sheet.
- When the connection cable between the main grounding conductor and local equipotential earthing terminal board (LEB) on each floor is shorter than 2 meters, use a stranded copper wire with a sectional area not less than 1.318 mm (16 AWG) for the connection cable.
- Use a shielded network cable if possible, ensure that devices connected to both ends of the shielded network cable are reliably grounded, and make sure that the sheath of the shielded network cable is also grounded if possible. If no shielded network cable is available, wire the network cable through a steel pipe and bury the steel pipe for lead-in, and properly ground both ends of the steel pipe.
- No additional lightning protector is required as a high-profile lightning protector is built in the RG-RAP6262(G), and the antenna port and power port support 6kV lightning protection. If a lightning protector of a higher profile is available, configure the lightning protector optionally. Before the configuration, connect the lightning protector to the ground cable.
- Use a power cable with the PE end to ground the power supply (AC). Ensure that the PE end is properly grounded, with a ground resistance less than 5 ohms. Do not use a two-wire power cable with only the live (L) wire and naught (N) wire. Do not connect the N wire to the protection ground cable of other communication devices, and ensure that the L wire and N wire are properly connected.
- Ensure that the ground resistance is less than 5 ohms. In areas with high soil resistivity, reduce the soil resistivity via measures such as spreading resistivity reduction mixture around the grounding conductor.
2.2 Preparing the Installation Site
- Do not expose the AP to high temperature, dust, or harmful gases.
- Do not install the AP in an area prone to fire or explosions.
- Keep the AP away from EMI sources such as large radar stations, radio stations, and substations.
- Do not subject the AP to unstable voltage, vibration, and noises.
- Keep the AP at least 500 meters away from the ocean and do not face it towards the sea breeze.
- The installation site should be protected from water and flooding, seepage, dripping, or condensation.
- The installation site should be selected according to network planning, communications equipment features and considerations such as climate, hydrology, geology, earthquake, electric power, and transportation.
2.2.1 Temperature and Humidity Requirements
Table 2-1 Temperature and Humidity Requirements
| Operating Temperature | Operating Humidity: |
| -30°C to 65°C (-22°F to 149°F) | 0% to 100% RH (non-condensing) |
2.2.2 Outdoor Installation
The AP can be installed outdoors and mounted on a wall or a pole.
2.2.3 Waterproof
- Use waterproof caps to seal the unused ports.
- After using the reset button and DC power port, please ensure that the caps are put back.
- The network cable needs to be threaded through the cable gland before connecting to the AP. For details, see Chapter 3 Installation.
2.2.4 EMI
All interference sources (from outside or inside of the device or application system) affect the device by capacitive coupling, inductive coupling, or electromagnetic waves.
Electromagnetic interference (EMI) occurs due to electromagnetic radiation or conduction, depending on the transmission path.
Radiation interference occurs when energy (usually radio frequency energy) is emitted from a device and propagated through space to disrupt other devices. The interference source can be part of disrupted system or a fully electrically isolated unit. Conduction interference occurs when interference is transferred from one unit to another through cables, which are usually electromagnetic wires or signal cables connected between the source and the device(s) experiencing interference. Conduction interference often affects the power supply of the device.
It is eliminated by using filters. Radiation interference can influence the path of any signal from the device and is difficult to shield.
- Take effective measures against interference from the power grid.
- Keep the AP far away from the grounding or lightning protection devices for power equipment.
- Keep the AP away from high-power radio stations, radar stations, and high-frequency high-current devices.
- Take electrostatic shielding measures.
2.2.5 Installation Tools
Table 2-1 Installation Tools
| Tools | Marker, Phillips (crosshead) screwdriver, slotted screwdriver, drill, paper knife, crimping pliers, diagonal pliers, wire stripper, network cable tester, related power and fiber cables, wrench, hammer, cable ties, ESD tools, multimeter |
The tool kit and cables are customer-supplied.
2.3 Checking before Installation
Please check your materials carefully against the package contents. If there are any errors, please contact your distributor.
Installing the Access Point
Note
- Before installing the device, make sure you have carefully read the requirements described in Chapter 2.
3.1 Installation Flowchart

3.2 Before You Begin
Before you install the AP, verify that all the parts in the package contents are there and make sure that:
- The installation site meets temperature and humidity requirements.
- The installation site is equipped with a proper power supply.
- Network cables are in place.
3.3 Precautions
The outdoor AP can be mounted on a wall and a pole (diameter: 50 mm to 70 mm). If the diameter of the pole is out of the range, the hose clamp is customer-supplied. In this case, it is recommended that you use a hose clamp with thickness of 2.5mm at least. The installation site varies due to on-the-spot surveys conducted by technical personnel. Please make full preparations as described in Chapter 2 and observe the following precautions before installing the device.
- Before connecting the power supply, make sure the external power supply matches the power module of the AP.
- Before connecting the power cord, make sure the power module is turned off.
- When connecting the power cord to a binding post, make sure their colors are the same.
- Make sure the power supply is properly connected.
3.4 Installing the Device
3.4.1 Wall Mounting
Use the mounting plate and expansion bolts to implement wall mounting.
- Attach the mounting plate to the wall (ensure that the semicircle opening is downward vertically) and mark the locations of screw holes. Secure the mounting plate on the wall with M8 x 60 expansion bolts.
Figure 3-1 Installing the Mounting Plate
- Install the access point and the connecting rod to the mounting plate on the wall, and tighten the M8 x 20 screws to complete installation.
Figure 3-2 Wall Mounting
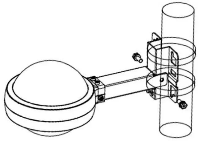
3.4.2 Vertical Pole Mounting
- Secure the mounting plate to the vertical pole by threading two clamps through the mounting plate, and fasten the clamps with screws.
Figure 3-3 Mounting the Plate on a Pole
- Install the access point and the connecting rod to the mounting plate with M8 x 20 screws.
Figure 3-4 Vertical Pole Mounting
3.4.3 Horizontal Pole Mounting
Figure 3-5 Mounting the Plate on a Pole

Figure 3-6 Horizontal Pole Mounting

Note
The procedures of horizontal pole mounting are similar to that of vertical pole mounting.
3.5 Connecting Cables
Caution
The waterproof materials are customer-supplied.
- Trim an Ethernet cable according to the distance between the access point and the power supply.
- Insert the unterminated end of the Ethernet cable through part D, C and B in sequence.

- Install an RJ45 connector on the unterminated end of the Ethernet cable with an Ethernet cable installation tool.
- Insert the RJ45 connector into the LAN 1/PoE/uplink port of the access point, and tighten part B, C and D in sequence.
- If you want to install the cable gland without an Ethernet cable threaded through it, insert the waterproof rubber rod into the washer (rubber gasket), and tighten part B, C and D in sequence.

Caution
Please ensure that the RJ45 connector is properly inserted. Otherwise, the connector may be damaged when the waterproof cap is tightened. Before removing the network cable, please remove the waterproof cap first and then the RJ45 connector.
Warning
The device should not be installed in the place prone to water accumulation, seepage, dripping, and condensation.
It is recommended to install the device horizontally.
If any requirement above cannot be fulfilled, please use waterproof duct tape and waterproof plaster.
Appendix A Connectors and Media
1000BASE-T/100BASE-TX/10BASE-T
The 1000BASE-T/100BASE-TX/10BASE-T is a 10/100/1000 Mbps auto-negotiation port that supports auto MDI/MDIX.
Compliant with IEEE 802.3ab, 1000BASE-T requires Category 5e 100-ohm UTP or STP (STP is recommended) with a maximum distance of 100 meters (328 feet).
1000BASE-T requires all four pairs of wires be connected for data transmission, as shown in Figure 7-1.
Figure 4-1 1000BASE-T Connection
Straight-Through | Crossover |
![]() | ![]() |
10BASE-T uses Category 3, 4, 5 100-ohm UTP/STP and 1000BASE-T uses Category 5 100-ohm UTP/STP for connections. Both support a maximum length of 100 meters. Figure A-2 shows100BASE-TX/10BASE-T pin assignments.
Figure 4-2 100BASE-TX/10BASE-T Pin Assignments
| Pin | Socket | Plug |
| 1 | Input Receive Data+ | Output Transmit Data+ |
| 2 | Input Receive Data- | Output Transmit Data- |
| 3 | Output Transmit Data+ | Input Receive Data+ |
| 6 | Output Transmit Data- | Input Receive Data- |
| 4,5,7,8 | Not used | Not used |
Figure 4-3 shows wiring of straight-through and crossover cables for 100BASE-TX/10BASE-T.
Figure 4-3 100BASE-TX/10BASE-T Connection
Straight-Through | Crossover |
![]() | ![]() |
Appendix B Package Contents
| Item | Quantity | Remark |
| RG-RAP6262(G) Access Point | 1 | |
| Mounting Plate | 1 | |
| Connecting Rod (Pre-installed on Access Point) | 1 | |
| M8 x 20 Screws | 2 | |
| Cable Glands (Pre-installed on Access Point) | 2 | |
| Pole Clamps | 2 | |
| Expansion Bolts (M8 x 60) | 4 | |
| Quick Start Guide | 1 | |
| Management Software | 1 | Installed on the access point upon delivery |




























