EnGenius EWS850APA WiFi 6 Outdoor Access Point or Client Bridge

Package Contents
- AP/Bridge

- Quick Installation Guide

- Power Cord

- PoE Adapter

- Pole Mounting Strap x2

- Detachable Antennas
2 x 2.4GHz Antennas
2 x 5GHz Antennas
- Mounting Bracket

- Mounting Screw Set x 2

- Ground Wire & Screw Set

Connecting the AP/ Bridge
A) Connect one end of the Ethernet cable to the LAN (PoE) port of the AP/bridge and the other end to the PoE port on the PoE adapter.
B) Connect the power cord to the PoE adapter and plug the other end into an electrical outlet.
C) Screw the provided antennas onto the top of the device.
D) When the process is complet e, the LED indicators will activate as shown below:
| LED | State | Description |
| PWR (ORANGE) | OFF | No power connection. |
| On Steady | When the device is connected to a power source. | |
| LAN (PoE) (Green/ Amber) | OFF | No Ethernet connection. |
| On Steady | An active Ethernet connection is made to the LAN (PoE ) port | |
| Blink | Data is being Transmitting/Receiving. The LEO color indicates the Ethernet connection speed. Amber for 2.S(jbps and Green for 1 Gbps or 1 00Mbps . | |
| 2.4G1Hz (Green) | On Steady | Ready for data Transmitting/Receiving. |
| Blink | Data is being Transmitting/Receiving | |
| 5GHz(Green) | On Steady | Ready for data Transmitting/Receiving. (Green) |
| Blink | Data is being Transmitting/Receiving. |
Note: The AP/Bridge should ,QNL Y be powered via Ethernet cable connected to, the included PoE Adapter EPA5006GR. You can covert the device to factory default or users def a ult via the reset button on it.
Configure the AP/ Bridge
On the En Wif i App
A) Download the En WiFi app through your mobile device.

B} Run the En WiFi app and follow the instructions through the setup wizard.

On the Device Web UI
A) Turn on your computer and connect wirelessly to the En Genius management SSID with the last 6 digits of your desired device’s MAC address. The default Wi-Fi password is 12345678. (Find the desired management SSID on your device label.)
B) Open a web browser. In the address bar of the web browser, type 192.168.1.1 and click Enter.
C) A login screen will appear. By default, the username of the AP/bridge is admin and the password is admin. Enter the current username and password of the AP/bridge and click Login.

* The model name will be varied by different models.
D) Now you can enter the device web user interface (UI) for configurations.

Note: The management SSID will be available and on standby for 30 minutes after the device is powered on. To bring the management SSfD back on, 11power cycle11 (turn off and on) the device. Once the device has been configured or logged in to by the client, the management SSID will be available and on standby for 15 minutes. To bring the management SSID back on, power cycle the device or go to the device’s GUI and click the “Always on” button.

Manage on ez Master I Sky Key
A) Register Devices into Inventory
a. Log in to your ez Master/Sky Key.
b. Before adding devices to your inventory, note the ETH MAC and Check Code of your device.
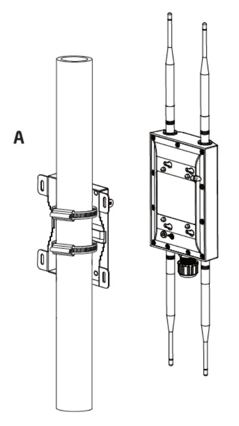
Pole Mounting the Access Point
A) Thread the open end of the pole strap through the two tabs on the pole mount bracket.
B) Lock and tighten pole strap to secure pole mount bracket to pole.
C) Slide the mount bracket into the slot of the access point.
B) Add Device into a Project
a. Select a project (network) and go to the device list. Unmanaged devices including access points and switches wi ll be displayed on the list .*
b. Select devices and click “Add” to assign them to the project.
c. You can choose to manage one device, some devices} or all devices under the same project.
* All managed devices connected to the same network as ez Master/Sky Key will appear automatically on the device list. You do not need to add the device manually to the inventory list.
Troubleshooting of the ez Master/Sky Key https://docs.engenius.ai/engenius-wi-ft-faq/
Technical Support
| Country of Purchase | Service Center | Service Information | |
| North America www.engeniusetch.com | Los Angeles, USA | [email protected] local (+1)7144328668 Press1- Techsupport | |
| www.engeniuscanadcao.m | Canada | [email protected] l ocal(+1) 905 940 8181 and then follow theprolll) tspr 3 -RMA and Tech Support | |
| Europe www.engeniusnetworkseu | Netherlands | [email protected] | |
| Africa/ CIS / Middle www.engenius-m.ceom | Dubai, UAE | [email protected] Local:(+971) 4 3391227 | |
| Asia / Oceania www.engeniustechcomsg | Singapore | [email protected] l ocal:(+65) 62271088 | |
| Taiwan www.engenlustechcom.tw | Taiwan, R.O.C. | [email protected] TollFree:0800 003 885 l oca1 +886)2 26521808 | |
Mounting the Outdoor Access Point
Wall Mounting the Access Point
A) Determine where the access point will be placed and mark the location of the four mounting holes using the wall mount base. Use the appropriate driH bit to drill four 8.1mm diagram and 25mm deep holes in the markings and hammer the bolts into the openings. Screw the anchors into the holes until they are flush with the wall.
B) Screw the included screws into the anchors.
Notes
Federal Communication Commission Interference Statement
Federal Communication Commission Interference Statement This device complies with Part 15 of the FCC Rules. Operation is subject to the following two conditions: (1) This device may not cause harmful Interference, and (2) this device must accept any interference received, including Interference that may cause undesired operation.
This equipment has been tested and found to comply with the limits for a Class B digital device, pursuant to Part 15 of the FCC Rules.
These limits are designed to provide reasonable protection against harmful Interference in a residential installation.
This equipment generates, uses and can radiate radio frequency energy and if not Installed and used In accordance with the instructions, may cause harmful Interference to radio communications. However, there is no guarantee that interference will not occur In a particular installation.
If this equipment does cause harmful Interference to radio or television reception, which can be determined by turning the equipment off and on, the user is encouraged to try to correct the Interference by one of the following measures:
Reorient or relocate the receiving antenna. Increase the separation between the equipment and receiver. Connect the equipment Into an outlet on a circuit different from that o which the receiver is connected. Consult the dealer or an experienced radio/TV technician for help. FCC Caution: Any changes or modifications not expressly approved by the party responsible for compliance could void the users authority to operate this equipment This transmitter must not be co-located or operating in conjunction with any other antenna or transmitter. FOR MOBILE DEVICE USAGE (>20cm/Icrw power) Radiation Exposure Statement: This equipment complies with FCC radiation exposure limits set forth for an uncontrolled environment This equipment should be Installed and operated with minimum distance 20cm between the radiator & your body.
Professional Installation Instruction
- Installation personal This product Is designed for specific application and needs to be Installed by a qualified personal who has RF and related rule knowledge. The general user shall not attempt to Install or change the setting.
- Installation location The product shall be Installed at a location where the radiating antenna can be kept 20cm from nearby person in normal operation condition to meet regulatory RF exposure requirement.
- External antenna Use only the antennas which have been approved by the applicant. The non-approved antenna(s) may produce unwanted spurious or excessive RF transmitting power which may lead to the violation of FCC limit and Is prohibited.
- Installation procedure Please refer to users manual for the detail.
- Warning Please carefully select the installation position and make sure that the final output power does not exceed the limit set force in relevant rules. The violation of the rule could lead to serious federal penalty.
Maximum data rates are based on IEEE 802.11 standards. Actual throughput and range may vary 1depending on many factors including environmental conditions, distance between ,devices, radio interference in the operating environment1 and mix of devices in the network. Features and specifications subject to change without notice. Trademarks and registered trademarks are the property of their respective owners. For United States of America: Copyright o 2021 En Genius Technologies, Inc. All rights reserved.




























