Crank Height Adjustable Desk

Crank Height Adjustable Desk – Black
Instruction Manual

SKU: DESK-M55TB
Scan the QR code with your mobile device or follow the link for helpful videos and specifications related to this product. https://vivo-us.com/products/desk-m55tb
GET IN TOUCH | Monday-Friday from 7:00am-7:00pm CST
![]()
www.vivo-us.com Chat live with an agent!
![]()
309-278-5303
WARNING!
If you do not understand these directions, or if you have any doubts about the safety of the installation, please call a qualified technician. Check carefully to make sure there are no missing or defective parts. Improper installation may cause damage or serious injury. Do not use this product for any purpose that is not explicitly specified in this manual and do not exceed weight capacity. We cannot be liable for damage or injury caused by improper mounting, incorrect assembly, or inappropriate use.
WARNING: CHOKING HAZARD
SMALL PARTS – NOT FOR CHILDREN UNDER 3 YEARS. ADULT SUPERVISION IS REQUIRED.
PACKAGE CONTENTS

A (x2) Lifting Column

E (x1) Desktop
![]()
B (x1) Sync Rod

C (x1) Upper Crossbar
![]()
D (x1) Lower Crossbar

F (x1) Crank
![]()
S-A (x4) M6x12mm
![]()
S-B (x6) M6x35mm
![]()
S-C (x4) M5x60mm
![]()
S-D (x9) Pad
![]()
S-E (x6) D6 Washer
![]()
S-F (x1) Allen Wrench

TOOLS NEEDED

Phillips Screwdriver
DO NOT EXCEED WEIGHT CAPACITY.
Failure to do so may result in serious injury.
88lbs 39.92kg

ASSEMBLY STEPS
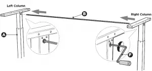
STEP 1
Stand up the lifting columns (A) and insert the sync rod (B) into the socket on each column. Use the crank (F) to align columns if needed.
STEP 2
Assemble the upper crossbar (C) to the top of the columns using the M5x60mm bolts (S-C) and the lower crossbar (D) to the back using M6x12mm bolts (S-A). Tighten all bolts using the Allen wrench (S-F).
STEP 3
Apply the pads (S-D) to the top of the assembled frame.

STEP 4
Place the desktop (E) on top of the frame. Secure using the M6x35mm bolts (S-B) with D6 washers (S-E), and tighten with a Phillips screwdriver.
STEP 5
Insert the crank (F) into the hex socket of the lifting column.
Figure 1: Turn the crank to raise or lower the desk.
Figure 2: Store the crank in the rear of the desk support bracket on the column as shown.
Figure 3: Turn the foot pads to adjust the desk level.
Figure4 : Use a bubble level to ensure the desk is sitting perfectly level.
STEP 5

CAUTION!

Do not exceed desk weight limit.

Keep area of vertical motion free of obstacles.

Keep weight on desk balanced for correct operation and longer life of components.

Failure to follow these instructions may result in property damage and/or personal injury.
Love your new VIVO setup and want to share? Tag us in your photo! @vivo_us
LAST UPDATED: 01/07/2021 REV1
Open Monday – Friday 7:00am – 7:00pm CST, our dedicated support team can offer immediate assistance with rapid response times. If any parts are received damaged or defective, please contact us. We are happy to replace parts to ensure you have a fully functioning product.
[email protected]
www.vivo-us.com
Chat live with an agent!
AVG. RESPONSE TIME (within office hrs): 1HR 8M – 23% within < 15m – 38% within < 30m – 61% within < 1hr – 83% within < 2hr – 92% within < 3hr
AVG. RESOLUTION TIME (within office hrs): < 15 M
309-278-5303
AVG. RESOLUTION TIME (within office hrs): 5M 4S
FOR MORE VIVO PRODUCTS, CHECK OUT OUR WEBSITE AT: www.vivo-us.com











