LC-M35-UWQHD-120-C
GAMING MONITOR
BEDIENUNGSANLEITUNG
SAFETY PRECAUTIONS
Do not expose the monitor to a humid environment, rain, or other liquids.
Do not open the monitor housing to avoid any shock due to electrical or mechanical hazards.
Operation:
- Keep the monitor out of direct sunlight or other heat sources like stoves.
- Keep the monitor away from any liquid.
- Remove any object that could fall into the ventilation holes.
- Do not block the ventilation holes to avoid overheaing.
- Do not knock or drop the monitor.
MAINTENANCE
CAUTION: Unplug the power cable from the outlet before cleaning the monitor.
- To clean your screen, slightly moisten a soft, clean cloth with water.
- Please use a special screen-cleaning tissue if possible.
- Do not use benzene, thinner, ammonia, abrasive cleaners or compressed air.
- Inappropriate cleaning solutions may damage the monitor or leave a milkyfilm on the screen or housing.
- Unplug the monitor if you are not going to use it for a longer time period.
- Do not expose the monitor to dust, liquids or a humid environment.
- ln case the monitor gets in touch with any liquid, wipe it down immediately using a dry cloth.
- ln case any liquid gets spilled into the ventilation holes, do not use the monitor anymore. Please contact a professional service technician.
Legal notice:
![]()
The terms HDMl and HDMIl High Definition Multimedia interface, and the HDMl logo are trademarks or registered trademarks of HDMI Licensing Administrator, Inc. in the USA and other countries.
Box Contents

Extra screws may be included as backup.
Product Overview
4.1 —Monitor Buttons

- M Menu Button: Press to display the OSD menu or enter sub-menus.
- ▼Down Button: Press to move down in the menus.
- ▲Up Button: Press to move up in the menus.
- E Exit Button: Press to exit.
Power Button: Press to turn the monitor on/off.- LED indicator: Changes color to indicate the status.
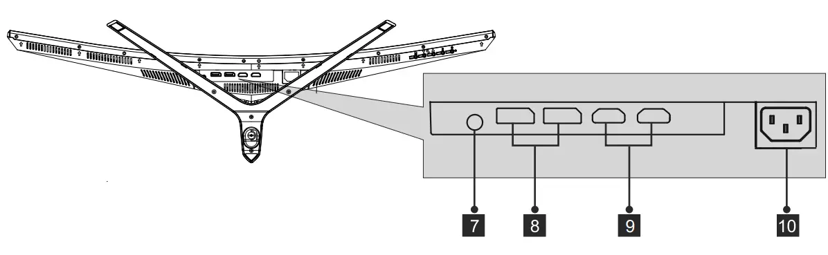
4.2—Monitor Ports
- Audio Output: Insert the audio cable for the output of audio signals.
- DP Connectors: Insert one end of the DP cable into the computer’s DP output and connect the other end to the monitor’s DP port.
- HDMI Input: Insert one end of the HDMI cable into the computer’s HDMI output and connect the other end to the monitor’s HDMI port.
- Power Connector: Insert the power cable to supply power to the monitor.
Stand installation
- Open the package, and then take out the foam and place it on a table.

- Take off the upper styrofoam and place it on the table. Keep the monitor attached on the lower foam.

- As shown below, lock the hand screw.

- As shown below, placed the assembled stand into the back cover with the quick-click button inserted.
Note:
1. Make sure the bracket is well placed in the back cover before straightening up the monitor
2. Push the quick-click button will unlock the bracket. - Hold the support shaft by hand and erect the machine.
Note: in the process of erecting the machine, please do not hold the screen or turn it upside down with your hands to prevent the machine from breaking the screen.
Make sure the monitor is laid on a flat surface before removing the stand.
Wall Mounting
This monitor only includes screws which may be used when attaching the monitor to a VESA 75*75mm type mount. No VESA mount or mounting accessory is included.
- Open the package, and then take out the foam and place it on a table.

- Take off the upper styrofoam and place it on the table. Keep the monitor attached on the lower foam. Take out screws in the back cover.

- Take out the VESA connectors and tighten them with four screws.

- Do not touch the screen directly with your hands during operating the wall mount.

Connectivity Options
- Insert one end of the DP cable into your PC’s graphics card. An HDMl cable may also be used. HDMI cable is included.
- Connect the other end of the cable to the corresponding connector on your monitor.

- Connect the power cable to your monitor then connect the other end to your power source. It is recommended that you use a surge protector with adequate voltage if a wall outlet cannot be reached directly.
- Locate the power button on the monitor and press it to turn the monitor on.
Light lndicator

lndicator Light
Solid blue light indicates power is on and the monitor is operating normally. Flashing blue light indicates no video source, no horizontal or vertical signal has been detected or power is low. Please ensure your computer is on and all video cables are fully inserted and/or connected.
OSD
The On-Screen Display (OSD) Menu may be used to adjust your monitor’s settings and appears on the screen after turning on the monitor and pressing the M button.
When using the monitor for the first time, settings will automatically adjust to optimal settings according to your computer’s configuration and parts, etc.
OSD Menu
- Press any one of the buttons (M, ▼, ▲, E.
) to activate the navigation window.
- Press M(
) to enter the OSD screen.
- Press▼or▲ to scroll through the functions.
a. Highlight the features you want to set, and press M to open the submenu.
b. Press) ▼or▲ to browse the submenu and press M to highlight the features you want to set.
c. Press ▼or▲ to highlight the options and press M to confirm the settings and exit the current screen.
d. Press
‘to exit the current screen.
9.1- OSD Menu Functions
| Main Menu | Sub-Menu | Options | Description |
| Input Source | DP 1 |
NONE |
Selects the primary video source |
| DP 2 | |||
| HDMI 1 | |||
| HDMI 2 | |||
| Brightness/ Contrast | Brightness | 0~100 | Adjust display brightness |
| Blacklevel | 0~100 | Adjust display black level | |
| Contrast | 0~100 | Adjust display contrast | |
| DCR | On | Turn on DCR function | |
| Off | Turn off DCR function | ||
| Color Setting | Gamma | 1.8 | Set Gamma add-in |
| 2.0 | |||
| 2.2 | |||
| 2.4 | |||
| 2.6 | |||
| Picture Mode | Standard, Photo, Movie, Game, FPS, RTS, | Set visual mode according to activity | |
| Color Temperature | Warm, Cool, User | Select color temperature | |
| Low Blue Light | 0~100 | ||
| Hue | 0~100 | Adjust hue levels | |
| Saturation | 0~100 | Adjust saturation levels | |
| Picture Quality Setting | Sharpness | 0~100 | Set display sharpness |
| Response Time | Off, High, Middle, Low | Adjust response time | |
| Noise Reduction | Off, High, Middle, Low | Reduce the interference of image noise caused by signal source interference | |
| Super Reduction | Off, High, Middle, Low | Enhances the irmage resolution when the actual resolution is low | |
| Dynamic Luminous Control | On, Off | Compensate for gray scale display screen and strengthen the expression of gray scale | |
| Display | Aspect Ratio | Wide Screen, 4:3, 1:1, Auto | Select the on-screen aspect ratio |
| Led Mode | Normal, Off, Flicker | Adjusts the LED effects | |
| Audio | Mute | On, Off | Turn mute mode on/off |
| Volume | 0-100 | Adjust audio volume | |
| Audio Source | DP1, DP2, HDMI1, HDM2, | Select audio signal input via HDMI or DP |
| Main Menu | Sub-Menu | Options | Description |
| Multi-Window | Multi-Window | Off, PIP Mode, PBP 2Win | Sets the multi-window mode |
| Sub Win2 Input | DP1, DP2, HDMI1,HDMI2, | Selects the secondary input source for the PIP or PBP window | |
| PIP Size | Small, Medium, Large | Adjusts the PIP or PBP window size | |
| PIP Position | Top Right, Top Left, BottomRight, BottomLeft | Adjusts the position of the PIP or PBP window | |
| Swap | NONE | Swap the two-channel signal source of only the PIP/PBP 2 screens function | |
| OSD | Language | English, | Set OSD language |
| OSD H-Position | 0-100 | Adjust the OSD’s horizontal position | |
| OSD V-Position | 0-100 | Adjust the OSD’s vertical position | |
| OSD Transparency | 0-100 | Set the OSD’s overall transparency | |
| OSD Time Out | 5-100 | Set how long the OSD remains open after non-use | |
| OSD Rotation | Normal,90,180,270 | When the user flips the display, this function can also flip the OSD to achieve the best display angle | |
| Other | DP Version | DP1.1, DP1.2, DP1.4 | |
| Adaptive-Sync | On, Off | Turn the Adaptive-sync function on/off | |
| HDR | On, Off; Auto Detect | Turn the HDR mode on/off | |
| Reset | None | Reset monitor configurations |
Display Mode and GamePlus Switching
- Press one of the buttons (m,▼,▲,E,
) to activate the browser window.
- Press
Sbutton to switch GamePlus modes. Choose the corresponding game icon that best suits your game. These game icons are primarily designed to optimize your aim during shooting games, but they can be used for other scenarios.
- Press
button to switch ECO modes. These modes include Standard, Text, Movie, Game, FPS, and RTS and can be used to optimize settings according to your activity. Standard mode is suitable for most activities.

Technical Specifications
| Model | LC-M35-UWQHD-120-C |
| Screen Size | 35″ |
| Aspect Ratio | 21:09 |
| Backlight | E-LED |
| Brightness | 300 cd/m2 |
| Panel | VA |
| Resolution | DP1.4×2: 3440*1440@120Hz HDMI 2.0×2: 3440*1440@60Hz |
| Refresh Rate | 120Hz |
| Response Time | OD 5ms |
| Viewing Angle | ≥178°(H) / ≥178°(V) |
| Contrast Ratio | 3000:1 |
| VESA Mounting | 75 x 75mm |
| Colours | 16.7M |
| Adaptive-Sync | Yes |
| Signal Input | DP 1.4*2, HDMI 2.0*2 |
| Power Input | AC 100-240V— 50/60Hz, 2.0A |
| Audio | |
| Speakers | No |
| Audio Out | Yes |
| Accessories | |
| Power Cable | Yes |
| HDMI Cable | Yes |
| DP Cable | Yes |
| Additional Functions | |
| Low Blue Light | Yes |
| Physical Dimensions | |
| Dimensions (w/ Stand) | 837.4*245.6*539.8mm |
| Dimensions (w/o Stand) | 837.4*126.1*377.9mm |
| Net Weight | 8.1kg |
| Gross Weight | 11.7kg |
Silent power Electronics GmbH
Formerweg 8
47877 Willich
Germany
www.lc-power.com




Note:



























