LC-POWER LC-M27-FHD-165-C-V2 Curved Gaming Monitor

SAFETY PRECAUTIONS
Do not expose the monitor to a humid environment, rain or other liquids. Do not open the monitor housing to avoid any shock due to electrical or mechanical hazards.
Operation
- Keep the monitor out of direct sunlight or other heat sources like stoves.
- Keep the monitor away from any liquid.
- Remove any object that could fall into the ventilaton holes.
- Do not block the ventilaton holes to avoid overheang.
- Do not knock or drop the monitor.
MAINTENANCE
CAUTION: Unplug the power cable from the outlet before cleaning the monitor.
- To clean your screen, slightly moisten a soft, clean cloth with water.
- Please use a special screen-cleaning tissue if possible.
- Do not use benzene, thinner, ammonia, abrasive cleaners or compressed air.
- Inappropriate cleaning solutions may damage the monitor or leave a milkyfilm on screen or housing.
- Unplug the monitor if you are not going to use it for a longer time period.
- Do not expose the monitor to dust, liquids or a humid environment.
- ln case the monitor gets in touch with any liquid, wipe it down immediately using a dry cloth.
- ln case any liquid gets spilled into the ventlation holes, do not use the monitor anymore.Please contact a professional service technician.
Legal notice:
The terms HDMl and HDMIl High Defination Multi media lnterface, and the HDMl logo are trademarks or registered trademarks of HDMI Licensing Administrator, Inc. in the USA and other countries.
Box Contents


Product Overview
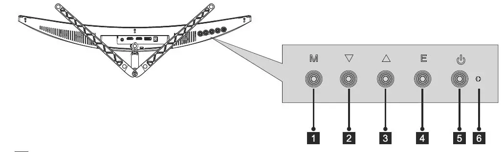
Monitor Butions
- M Menu Button: Press to view the OSD menu or access the sub-menus.
- Down Button: Press to go down in the menus.
- UP Button: Press to get into the menus.
- E Exit Button: Press to exit.
- On / Off Button: Press to turn on / off the monitor.
- LED indicator: Changes color to indicate the status.

- Audio Output: Insert the audio cable for the output of audio signals.
- HDMI Input: Insert one end of the HDMI cable into the computer’s
- HDMI output and connect the other end to the monitor’s HDMI port.
- DP Connectors: insert one end of the DP cable into the computer’s DP output and connect the other end to the monitor’s DP port.
- Power connector: Connect the adaptor cable to the monitor and a wall outlet.
Stand installation





Wall Mounting
This monitor only includes screws that may be used when attaching the monitor to a VESA 75*75mm type mount. No VESA mount or mounting accessory is included.






Connectivity Options
- Insert one end of the DP cable into your PC’s graphics card. An HDMI cable may also be used. HDMI cable is included.
- Connect the other end of the cable to the corresponding connector on your monitor.

- Connect the power cable to your monitor then connect the other end to your power source.
It is recommended that you use a surge protector with adequate voltage if a wall outlet cannot be reached directly. - Locate the power button on the monitor and press it to turn the monitor on.
Light indicator


OSD
The On-Screen Display (OSD) Menu may be used to adjust your monitor’s settings and appears on the screen after turning on the monitor and pressing the M button.
When using the monitor for the first time, settings will automatically adjust to optimal settings according to your computer’s configuraon and parts, etc.
The On-Screen Display (OSD) Menu may be used to adjust your monitor’s settings and appears on the screen after turning on the monitor and pressing the M button.![]()

![]()




ECO Modes and Game plus Switching

Technical Specifications























