TOOLCRAFT 2373534 USB Microscope Monocular

Introduction
Dear customer,
Thank you for purchasing this product. This product complies with the statutory national and European requirements. To maintain this status and to ensure safe operation, you as the user must observe these operating instructions!
- These operating instructions are part of this product. They contain important notes on commissioning and handling. Also consider this if you pass on the product to any third party. Therefore, retain these operating instructions for reference!
If there are any technical questions, please contact: www.conrad.com/contact
Symbols in this document
- The symbol warns of hazards that can lead to personal injury. Read the information carefully.
- The symbol warns of dangerous voltage that can lead to personal injury by electric shock. Read the information carefully.
Intended use
The product outputs a magnified image and is suitable for examining solid objects such as coins, stamps, rocks, insects, plants, textiles, circuit boards, etc. The product is intended for indoor use only. Do not use it outdoors. Contact with moisture must be avoided under all circumstances. If you use the product for purposes other than those described, the product may be damaged. Improper use can result in short circuits, fires, electric shocks or other hazards. The product complies with the statutory national and European requirements. For safety and approval purposes, you must not rebuild and/or modify the product. Read the operating instructions carefully and store them in a safe place. Make this product available to third parties only together with the operating instructions. All company names and product names are trademarks of their respective owners. All rights reserved.
Delivery contents
- Microscope
- Remote control
- Stand
- Power adapter
- Calibration ruler
- USB cable
- TV cable
- HDMI cable
Operating instructions
Latest product information
- Download the latest product information at www.conrad.com/downloads or scan the QR code shown. Follow the instructions on the website.
Safety instructions
Read the operating instructions carefully and especially observe the safety information. If you do not follow the safety instructions and information on proper handling in this manual, we assume no liability for any resulting personal injury or damage to property. Such cases will invalidate the warranty/guarantee.
General information
- The device is not a toy. Keep it out of the reach of children and pets.
- Do not leave packaging material lying around carelessly. This may become dangerous playing material for children.
- If you have questions which remain unanswered by these operating instructions, contact our technical support service or other technical personnel.
- Maintenance, modifications and repairs must only be completed by a technician or an authorised repair centre.
Handling
- Please handle the product carefully. Jolts, impacts or a fall even from a low height can damage the product.
Operating environment
- In schools, training facilities, hobby or self-service workshops, handling of electrical devices must be monitored by trained personnel.
- When operating on commercial premises, the relevant accident prevention regulations of workers’ compensation boards for electrical equipment must be observed.
- Do not place the product under any mechanical stress.
- Protect the appliance from extreme temperatures, strong jolts, flammable gas-es, steam and solvents.
- Protect the product from high humidity and moisture.
- Protect the product from direct sunlight.
- Do not switch the product on after it has been taken from a cold to a warm environment. The condensation that forms might destroy the product. Allow the product to reach room temperature before you use it.
Power adapter
- Do not tamper with power supply components. Risk of death by electric shock!
- Always ensure proper connection.
- Never use damaged power supply components.
- Do not modify power supply components.
- Connect the appliance to a wall socket that can be accessed easily.
- As power supply, only use the supplied mains adaptor.
- Only connect the power adaptor to a normal mains socket connected to the public supply. Before plugging in the power adaptor, check whether the volt-age stated on the power adaptor complies with the voltage of your electricity supplier.
- Never connect or disconnect power adaptors if your hands are wet.
- Never unplug the power adaptor from the mains socket by pulling on the cable; always use the grips on the plug.
- For safety reasons, disconnect the power adaptor from the mains socket during storms.
- Do not touch the power adapter if there are any signs of damage, as this may cause a fatal electric shock! Take the following steps:
- Switch off the mains voltage to the socket containing the power adapter (switch off the corresponding circuit breaker or remove the safety fuse, and then switch off the corresponding RCD protective switch).
- Unplug the power adapter from the mains socket.
- Use a new power adapter of the same design. Do not use the damaged adapter again.
Li-ion battery
- The rechargeable battery is permanently built into the product and cannot be replaced.
- Never damage the rechargeable battery. Damaging the casing of the recharge-able battery might cause an explosion or a fire!
- Never short-circuit the contacts of the rechargeable battery. Do not throw the battery or the product into fire. There is a danger of fire and explosion!
- Charge the rechargeable battery regularly, even if you do are not using the prod-uct. Due to the rechargeable battery technology being used, you do not need to discharge the rechargeable battery first.
- Never charge the rechargeable battery of the product unattended.
- When charging, place the product on a surface that is not heat-sensitive. It is normal that a certain amount of heat is generated during charging.
Toxic materials
- The clear plastic distance shell can pick up dirt or toxic material from an ob-served surface. Only use protective gloves to touch.
Operation
- Consult an expert when in doubt about the operation, safety or connection of the appliance.
- If it is no longer possible to operate the product safely, take it out of operation and protect it from any accidental use. DO NOT attempt to repair the product yourself. Safe operation can no longer be guaranteed if the product:
- is visibly damaged,
- is no longer working properly,
- has been stored for extended periods in poor ambient conditions or
- has been subjected to any serious transport-related stresses.
7.8 LED light Attention,
LED light:
- Do not look directly into the LED light!
- Do not look into the beam directly or with optical instruments!
Connected devices
- Also observe the safety and operating instructions of any other devices which are connected to the product.
Product overview
Microscope




- Menu button ▲(up)
- Menu button ▼(down)
- Menu button
- Menu button OK (Confirm)
- Power button
- Light dial
- Remote control port KEY
- Charging indicator light
- microSD card slot
- Display
- Focus dial +/–
- Port HDMI-out
- Tripod thread
- Port TV-out
- Port DC/USB
- Mode button (photo/video)
- Capture button
- Playback button
- Zoom in button
- Zoom out button
Display

| Symbol | Indication |
![]() | Photo capture mode activated |
![]() | Video capture mode activated |
![]() | Exposure |
![]() | Remaining image capacity based on the cur- rent resolution |
![]() | microSD card installed |
![]() | Resolution |
![]() | Remaining battery capacity |
Getting started
Charging the battery
- Connect the USB cable to the power adaptor.
- On the microscope, connect the USB plug of the USB cable to the port DC/USB.
- Connect the power adaptor to the mains supply to start charging.
The charging indicator light lights up.
Turning on and off
- Flip the display open.
- To turn on, press and hold the power button until the display lights up.
- To turn off, press the power button .
- (If turned on) Press the power button to turn the microscope off.NOTICE: Do not force card to prevent damage!
- Insert a microSD card (class 10, min. 4 GB) into the microSD card slot. Gently push in until the card latches.
To record images and video, the microSD card must be formatted.
PRECONDITIONS
- The microSD card is installed in the microscope.
- (If turned off) Press the power button to turn the microscope on.
- Press the menu button to open the menu.
- With the menu buttons ▲ and ▼navigate to Format.
- Press the menu button OK two times (2x) and follow the on-screen instructions to format the microSD card.
- Press the menu button to leave the menu.
Setting the date and time
- (If turned off) Press the power button to turn the microscope on.
- Press the menu button to open the menu.
- With the menu buttons ▲ and ▼navigate to Date/Time.
- Press the menu button OK to open the Date/Time entry.
- Set the date, time and date format. Set values with the menu buttons ▲ and ▼. Confirm entries with the button OK.
- Press the menu button to exit the menu.
Connecting the remote control
Connect the remote control to capture images and video and control the digital zoom.
- Connect the jack on the remote control cable to the remote control port KEY.
Setting up the microscope



- Set up
Note: The base of the stand may leave marks on sensitive surfaces.
- Place the base onto a stable flat surface.
- Insert the column into the base and tighten the screw to secure the column.
- Mount the microscope.
Operation
Controlling the light
Use the light dial on the microscope to adjust the brightness.
Focusing the microscope



- Focus adjustment
- Place the object to be examined onto the base.
- (If necessary) Secure the object with the clips on the base.
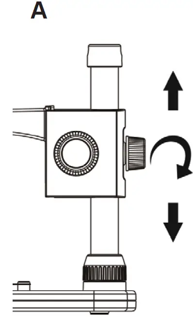
- Use the height adjuster to coarsely adjust the distance between the microscope and the object (see A).
- Fine-adjust the distance with the height dial DOWN/UP. Set the friction with the dial UNLOCK/LOCK (see B).
- Adjust the focus dial +/- to bring the image into sharp focus (see C).
Using the digital zoom
On the remote control, use the zoom button +/– to digitally zoom in and out.
Displaying the camera image on a TV
- On the microscope, connect the jack of the TV cable to the port TV-out.
- Connect the RCA plug of the TV cable to the TV. In case of doubts, consult the operating instructions of the TV.
- The microscope image displays on the TV
Displaying the camera image on an HDMI monitor
- On the microscope, connect the mini-HDMI plug of the HDMI cable to the port HDMI-out.
- Connect the HDMI plug of the HDMI cable to the HDMI monitor. In case of doubts, consult the operating instructions of the monitor.
- The microscope image displays on the monitor.
Note:
If the camera is connected to an HDMI monitor, you cannot capture video.
Capturing images
PRECONDITIONS
- A formatted microSD card is installed.
- The remote control is connected.
- Bring the object into focus.
- On the remote control, continue pressing the mode button until the symbol shows on the display.
- On the remote control, press the capture button to take a image.
- The image is saved to the microSD card.
Capturing videos
PRECONDITIONS
- A formatted microSD card is installed.
- The remote control is connected.
- Bring the object into focus.
- On the remote control, continue pressing the mode button until the symbol shows on the display.
- On the remote control, press the capture button to start recording a video.
- The symbol flashes on the display.
- The video is saved to the microSD card.
- Press the capture button to stop recording.
Note:
If the camera is connected to an HDMI monitor, you cannot capture video.
Viewing images and videos
- On the remote control, press the playback button to activate the viewing mode.
- Press the menu buttons ▲ and ▼to navigate through images and videos.
Playing back video
Follow the playback instructions on the display to playback video.
Note:
If the camera is connected to an external monitor, played back images and videos will show on the monitor.
Deleting images and videos
Deleting one image or video
- On the remote control, press the playback button to activate the viewing mode.
- Press the menu buttons ▲ and ▼to select the image or video you want to delete.
- Press the menu button and select the entry Delete Current with the menu buttons ▲ and ▼.
- Press the menu button OK and follow the on-screen instructions to delete the image or video.
Deleting all images and videos
- On the remote control, press the playback button to activate the viewing mode.
- Press the menu button and select the entry Delete All with the menu buttons ▲ and ▼.
- Press the menu button OK and follow the on-screen instructions to delete all images and videos.
Transferring photos and videos to a computer
Connect the microscope to a computer to transfer captured images and videos from the microSD card to the computer.
- Connect the USB cable to the microscope and the other end to a USB port on the computer.
- Switch the microscope on.
- The microSD card shows up as a drive on the computer.
- Transfer images and videos to the computer.
- After the transfer is complete, remove the drive through the operating system and then remove the USB cable from the computer.
Configuration
In the configuration menu you can configure the microscope.
Menu navigation buttons
| Button | Function |
| Enter and exit the menu | |
| ▲▼ | Scrolling and selecting entries |
| OK | Confirm selections |
Settings
| Menu entry | Function |
| Photo Resolution | Set the photo resolution. |
| Video Resolution | Set the video resolution. |
| Exposure | Set the exposure. |
| Date/Time | Set date, time, and date format. |
| Date Stamp | Enable and disable time stamp on photos. |
| TV Out | Select TV out signal. |
| Loop Recording | Set length of video clips. |
| Auto Power Off | Set auto-off time. |
| Language | Select language. |
| Format | Format the microSD card. |
| Default settings | Reset all settings to the factory default settings. |
Computer operation
The microscope can be operated in combination with a computer and computer software. Download the software instructions from www.conrad.com/downloads.
Cleaning and care
Important:
- Do not use aggressive cleaning agents, rubbing alcohol or other chemical solutions. They damage the housing and can cause the product to malfunction.
- Do not immerse the product in water.
Product body
- Disconnect the product from the power supply/computer.
- Clean the product with a dry, fibre-free cloth.
Lens
- Clean the lens periodically with low pressure compressed air. Avoid touching the lens with any substance.
Disposal
This symbol must appear on any electrical and electronic equipment placed on the EU market. This symbol indicates that this device should not be disposed of as unsorted municipal waste at the end of its service life. Owners of WEEE (Waste from Electrical and Electronic Equipment) shall dispose of it separately from unsorted municipal waste. Spent batter-ies and accumulators, which are not enclosed by the WEEE, as well as lamps that can be removed from the WEEE in a non-destructive manner, must be removed by end users from the WEEE in a non-destructive manner before it is handed over to a collection point. Distributors of electrical and electronic equipment are legally obliged to provide free take-back of waste. Conrad provides the following return options free of charge (more details on our website):
- in our Conrad offices
- at the Conrad collection points
- at the collection points of public waste management authorities or the collection points set up by manufacturers or distributors within the meaning of the ElektroG
End users are responsible for deleting personal data from the WEEE to be disposed of. It should be noted that different obligations about the return or recycling of WEEE may apply in countries outside of Germany.
Technical data
Microscope
Input………………………………………. 5 V/DC, min. 500 mA
Battery …………………………………… 3.7 V Li-ion battery, 800 mAh
Charging time …………………………. approx. 2 h
Operation time ………………………… approx. 1.5 h
Connection …………………………….. USB
Image sensor ………………………….. 3 MP
Magnification ………………………….. max. 260x
Focus range ……………………………. 10 – 60 mm
Light source ……………………………. LED
Video output …………………………… HDMI (1080P, 60 fps), TV (NTSC 720 x 480, PAL 720 x 576), USB
Storage ………………………………….. microSD card, class 10, max. 32 GB
Supported operating systems ……. Windows® 7/8/10; MacOS 10.6 or above
Operating conditions ………………… 0 to +45 °C, 20 – 85 % RH (non-condensing)
Storage conditions …………………… -10 to +60 °C, 20 – 85 % RH (non-condensing)
Dimensions (W x H x D) …………… 78 x 115 x 60 mm (microscope)
Weight …………………………………… 150 g (microscope)
Power adapter
Input………………………………………. 100 – 240 V/AC, 50 – 60 Hz, 0.2 A
Output ……………………………………. 5 V/DC, 1 A
This is a publication by Conrad Electronic SE, Klaus-Conrad-Str. 1, D-92240 Hirschau (www.conrad.com). All rights including translation reserved. Reproduction by any method, e.g. photocopy, microfilming, or the capture in electronic data processing systems require the prior written approval by the editor. Reprinting, also in part, is prohibited. This publication represent the technical status at the time of printing.
References
France.fr : Actualités, destinations et infos du tourisme en France
Conrad Electronic » Your sourcing platform
Conrad Electronic » Your Sourcing Platform
Conrad Electronic – Alle Teile des Erfolgs
Conrad Electronic » Your Sourcing Platform
Contact Us | Conrad.com
Document
Conrad Electronic Online Shop » Alle Teile des Erfolgs
Conrad Electronic » Your Sourcing Platform






















