TOOLCRAFT 1713198 Digital Microscope Camera PRO Instruction Manual

1. Introduction
Dear customer,
Thank you for purchasing this product. This product complies with the statutory national and European requirements. To maintain this status and to ensure safe operation, you as the user must observe these operating instructions!
These operating instructions are part of this product. They contain important notes on commissioning and handling. Also consider this if you pass on the product to any third party. Therefore, retain these operating instructions for reference! If there are any technical questions, please contact: www.conrad.com/contact
2. Explanation of Symbols
The symbol with the exclamation mark in the triangle is used to indicate important information in these operating instructions. Always read this information carefully. The arrow symbol indicates special information and advice on operation.
3. Intended Use
The product outputs a magnified image to your computer via USB 2.0 connection and is suitable for examining solid objects such as coins, stamps, rocks, insects, plants, textiles, circuit boards, etc. Dimmable built-in LED lights provide brightness, and the bundled software allow the user to calibrate the microscope, edit and measure saved images.
It is intended for indoor use only. Do not use it outdoors. Contact with moisture, e.g. in bathrooms, must be avoided under all circumstances.
For safety and approval purposes, you must not rebuild and/or modify this product. If you use the product for purposes other than those described above, the product may be damaged. In addition, improper use can result in other hazards. Read the instructions carefully and store them in a safe place. Make this product available to third parties only together with its operating instructions.
All company names and product names are trademarks of their respective owners. All rights reserved.
4. Delivery Content
- Main unit with USB cable
- Base
- Calibration ruler
- Operating instructions

Up-to-Date Operating Instructions
Download the latest operating instructions at www.conrad.com/downloads or scan the QR code shown. Follow the instructions on the website.
5. Features and Functions
- 20x – 200x variable magnification
- Camera: 5.0 megapixels (true)
- Focus range 10 – 100 mm
- Video frame rate 30 fps
- 8 x LED / adjustable brightness (max. 500 lux)
- Windows®, Mac OS compatible
- Software: Micro Capture Plus
6. System Requirements
- OS: Windows® 7/8/10; Mac OS 10.12 or above
- CPU: Pentium 300 or compatible AMD Processor
- 100 MB free hard disc space
- 512 MB RAM
- 24-bit video card
- Available USB 2.0 port
7. Safety Instructions
Read the important information and operating instructions carefully and especially observe the safety information. If you do not follow the safety instructions and information on proper handling, we assume no liability for any resulting personal injury or damage to property. Such cases will invalidate the warranty/guarantee.
a) General
- The device is not a toy. Keep it out of the reach of children and pets.
- Do not leave packaging material lying around carelessly. This may become dangerous playing material for children.
- Protect the device from extreme temperatures, direct sunlight, strong jolts, high humidity, moisture, flammable gases, steam and solvents.
- Do not place the product under any mechanical stress.
- If it is no longer possible to operate the product safely, take it out of operation and protect it from any accidental use. Safe operation can no longer be guaranteed if the product:
– is visibly damaged,
– is no longer working properly,
– has been stored for extended periods in poor ambient conditions or
– has been subjected to any serious transport-related stresses. - Please handle the product carefully. Jolts, impacts or a fall even from a low height can damage the product.
- Also observe the safety and operating instructions of any other devices which are connected to the product.
- Consult an expert when in doubt about the operation, safety or connection of the device.
- Maintenance, modifications and repairs must only be completed by a technician or an authorised repair centre.
- If you have questions which remain unanswered by the operating instructions, contact our technical support service or other technical personnel.
- Attention, LED light:
– Do not look directly into the LED light!
– Do not look into the beam directly or with optical instruments! - In schools, training facilities, hobby or self-service workshops, handling of electrical devices must be monitored by trained personnel.
- When operating on commercial premises, the relevant accident prevention regulations of workers’ compensation boards for electrical equipment must be observed.
b) Microscope
Do not examine objects with temperatures outside the given operating temperature range of the product.- Sudden temperature change may form dew inside the Microscope like entering a warm room in cold winter. Put it inside a handbag or plastic bag to slow down temperature changes.
- Do not point Microscope lens to the sun or strong light for a long time. Powerful light may damage the light-sensitive electronics.
- Do not force the card into the slot as this may damage the microscope and the MicroSD memory card.
- The base of the microscope may leave marks on sensitive surfaces.
c) Cable
- When setting up the product, make sure that the cable is not pinched, kinked or damaged by sharp edges.
- Always lay the cables so that nobody can trip over or become entangled in them. This poses a risk of injury.
d) Protection Against Dust
- Dust and debris from the air can lead to deterioration of image quality. Keep the Microscope away from dusty environments.
- The opening of the camera lens should always be protected either with dust covers such. Suitable options include aluminium foil or plastic bags.
- If dark specks or similar in-focus artefacts are observed in digital images, and they are not in the specimen plane, their most likely cause is particulate contamination on the image sensor or an associated filter surface. The cameras always need to be handled with the utmost care and protected from dirt according to the manufacturer`s recommendations.
- Before every critical use, check the front lens of the objective for dirt.
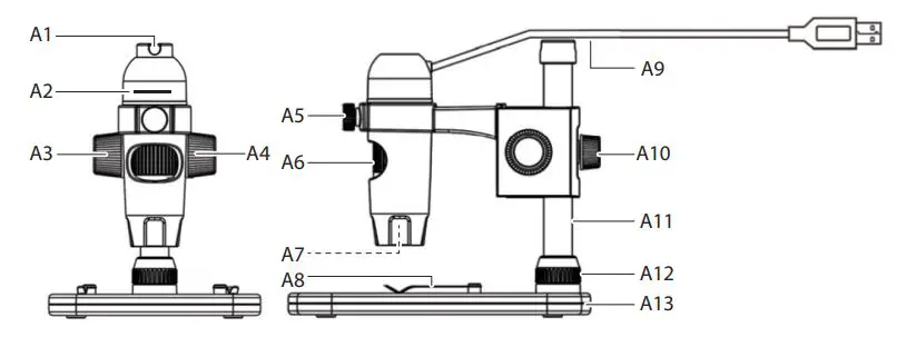
8. Operating Elements

- A1 USB Cable guide
- A2 LED brightness adjuster
- A3 Coarse focus lock
- A4 Coarse focus dial
- A5 Microscope holder lock
- A6 Fine focus dial
- A7 LED light source / camera lens
- A8 Stage with stage clips
- A9 USB 2.0 Type-A cable
- A10 Arm height adjustment lock
- A11 Column
- A12 Column attachment screw
- A13 Base
9. Setting Up the Microscope
Gently take the microscope out of the packaging and place onto a stable flat surface. The base of the stand may leave marks on sensitive surfaces. Make sure the column (A11) is fully inserted and secured using the column attachment screw (A12).

10. Focus the Microscope
Do not cover the microscope when it is in use.
- Place the object to be examined onto the stage (A8). If observing slides or similar, insert under the stage clips.
- While holding the coarse focus dial in place (A4), release the coarse focus lock (A3).
- Rotate the coarse focus dial (A4) to lower the lens towards the object.
- Adjust the fine focus dial (A6) to bring the image into sharp focus.
- Depending on the size of the object, you may need to adjust the arm height by releasing the arm height adjustment lock (A10), adjusting the position, then tightening it again.
→ It may take a few moments for the white balance to auto adjust and bring the image into focus. If there is too much reflection from the object, consider lowering the LED brightness (A2) or turning it off completely.

11. Connect Microscope to Computer
- Connect the microscope USB 2.0 cable (A9) to an available USB 2.0 port on your computer.
- Tidy up the loose cable by clipping it into the USB cable guide (A1).
12. Download and install software
a) Windows®
- Visit: www.conrad.com/downloads .
- Enter item number 1713198 .
- Select Micro Capture Plus to install the software, then follow the on-screen instructions to complete the installation process.
- Run the software by clicking the Micro Capture Plus icon generated on the desktop after installation.
→ If needed change the display language e.g. Options > Language > English.
b) Mac OS
- Visit: www.conrad.com/downloads .
- Enter item number 1713198.
- Select the file Micro Capture Plus.pkg file.
- Follow the on screen instructions to complete the installation process.
- Run the software by clicking the Micro Capture Plus icon generated on the desktop after installation.
→ If needed change the display language e.g. Options > Language > English.
13. MicroCapture Plus Software
a) Overview

B1 Menu items
– File > Photos or Videos Folder: Captured images location.
– Options > Resolution: Change image capture resolution.
– Options > Date /Time: Show/hide the recorded date and time in photo or video.
– Options > Language: Change user interface language. – Options > XY Guide: Show/hide guidelines.
B2 Shortcuts: Camera / Video / Timer / Full Screen.

Enter / exit full screen mode by double-clicking the preview area or selecting the full screen icon.
B3 X and Y axis guidelines.
B4 Image preview area.
B5 Magnification information.
B6 Photo / Video tab: Select a tab to view saved Photos or Videos.
B7 Saved images window (thumbnail view).
– Captured images / videos show up as thumbnails.
– If you hover the mouse over a thumbnail, the image will show in the preview area (B4).
– Right mouse click an image for further options such as Open, Save as, Copy, Delete, Delete All.
b) Take Photo
- Adjust the microscope so that the camera lens (A7) is close to and pointing at the object.
- Make sure the object to be examined is cantered under the lens.
- While observing the image preview area (B4), bring the image into focus.
- To capture the image select the camera shortcut
icon, or press the snapshot button. - Photos will be stored in File > Photos Folder.
→ Captured images show as thumbnails in the saved images window (B7). If you hover the mouse over a thumbnail, the image will show in the preview window. Images are stored in the JPG format.
c) Record Videos
- Adjust the microscope so that the camera lens (A7) is close to and pointing at the object.
- Make sure the object to be examined is cantered under the lens.
- While observing the image preview area (B4), bring the image into focus.
- To start recording click on the Video shortcut
.The icon will flash to indicate recording has started. - Click the flashing icon to stop recording.
- Videos will be stored in File > Videos Folder.
→Captured videos show as thumbnails in the saved images window (B7). If you hover the mouse over a thumbnail, the image will show in the preview window. Videos are stored in the AVI format.
d) Photo and Video Timer

e) Image Measuring Tools
For measuring tools to be accurate, first calibrate your microscope. See section “Calibrating Microscope” for information about how to do this.
→ Double-click an image in the saved images window (B7) to enter the measurement interface, then select the measure
icon.

- Any Angle Line Measurement. Click and drag from one point to another.
- Continuous Line Measurement. Click and drag from one point to multiple points.
- Radius Circle Measurement. Click and drag to extend the radius.
- Diameter Circle Measurement. Click and drag to extend the diameter.
- Three Points Angle Measurement. Click and drag from one point to
another, measure the angle, then click the mouse to release.
f) Draw and Text

14. Calibrating the Microscope

15. High and Low Magnification
- High magnification (1.5 mm field of view): Turn the fine focus dial (A6) all the way to the right, then slowly dial back until the image comes into focus.
- Low magnification (6 mm field of view): Turn the fine focus dial (A6) all the way to the left, then slowly dial back until the image comes into focus. → After turning the fine focus dial (A6) all the way right or left, it will take a few seconds for the LED light balance to adjust.
16. Care and Cleaning
- Disconnect the product from your computer before each cleaning. If it is hot, wait for it to cool down.
- Do not use any aggressive cleaning agents, rubbing alcohol or other chemical solutions as they can cause damage to the housing and malfunctioning.
- The LED lights are not replaceable.
- Avoid touching the lens with any substance. Clean the lens periodically with low pressure compressed air.
- Clean the product with a dry, fibre-free cloth.
17. Disposal
Electronic devices are recyclable and must not be disposed of in the household waste. At the end of its service life, dispose of the product in accordance with applicable regulatory guidelines. You thus fulfil your statutory obligations and contribute to the protection of the environment.
18. Technical Data
Operating voltage ………………………………………5 V/DC, 1 A (via USB 2.0)
Connection ……………………………………………….USB 2.0 (Type A)
Image sensor…………………………………………….5 MP (true)
Video / still capture resolution………………………2592×1944, 2320×1744,2048×1536,1920×1080, 1280×1024 Pixel
Focus range………………………………………………0 mm to 150 mm (manual focus)
Magnification …………………………………………….20x – 200 x
Image format …………………………………………….JPG
Video format ……………………………………………..AVI
White balance……………………………………………Automatic
Light Source ……………………………………………..LED
Operating conditions…………………………………..0 to +70 °C; 25 – 50 % relative humidity (non-condensing)
Storage conditions……………………………………..-5 to +50 °C; 25 – 50 % relative humidity (non-condensing)
Supported operating systems………………………Windows® 7/8/10; Mac OS 10.12 or above
Dimensions camera (Ø x L)…………………………33 mm x 110 mm
Dimensions stand (L x W x H) ……………………..165 x 118 x 12 mm
Weight ………………………………………………………1 kg
This is a publication by Conrad Electronic SE, Klaus-Conrad-Str. 1, D-92240 Hirschau (www.conrad.com). All rights including translation reserved. Reproduction by any method, e.g. photocopy, microfilming, or the capture in electronic data processing systems require the prior written approval by the editor. Reprinting, also in part, is prohibited. This publication represent the technical status at the time of printing. Copyright 2021 by Conrad Electronic SE.
1713198_v5_0221_02_dh_m_2L















