HOMEWERKS 7148-01-AX Bathroom Ventilation Fan User Guide

READ AND SAVE THESE INSTRUCTIONS
Amazon, Alexa and all related logos are trademarks of Amazon.com, Inc. or its affiliates.
The Bluetooth word mark and logos are owned by Bluetooth SIG, Inc. Other third-party brands and names are the property of their respective owners.
Homewerks, Homewerks Worldwide, the Homewerks house design, and all related logos are trademarks owned by Homewerks Worldwide, LLC U.S. Pat. No. 9,398,357
PRODUCT SPECIFICATIONS

FCC COMPLIANCE
NOTICE: This equipment has been tested and found to comply with the limits for a Class B digital device, pursuant to part 15 of the FCC Rules. These limits are designed to provide reasonable protection against harmful interference in a residential installation.
This equipment generates, uses, and can radiate radio frequency energy and, if not installed and used in accordance with the instructions, may cause harmful interference to radio communications. However, there is no guarantee that interference will not occur in a particular installation.
If this equipment does cause harmful interference to radio or television reception, which can be determined by turning the equipment off and on, the user is encouraged to try to correct the interference by one or more of the following measures:
– Reorient or relocate the receiving antenna.
– Increase the separation between the equipment and receiver.
– Connect the equipment into an outlet on a circuit different from that to which the receiver is connected.
– Consult the dealer or an experienced radio/TV technician for help.
Changes or modifications made to this equipment not expressly approved by the party responsible for compliance could void the user’s authority to operate the equipment.
Federal Communication Commission (FCC) Radiation Exposure Statement: When using the product, maintain a distance of 20cm from the body to ensure compliance with RF exposure requirements.
This device complies with part 15 of the FCC rules. Operation is subject to the following two conditions:
(1) this device may not cause harmful interference, and
(2) this device must accept any interference received, including interference that may cause undesired operation.
NOTE: The manufacturer is not responsible for any radio or TV interference caused by unauthorized modifications or changes to this equipment. Such modifications or changes could void the user’s authority to operate the equipment.
FCC ID:2AW5J-7148-01-AX
PACKAGE CONTENTS

HARDWARE CONTENTS (not actual size)

SAFETY INFORMATION
Please read and understand this entire manual before attempting to assemble, operate or install the product.
- Always disconnect the power supply prior to servicing the fan, motor or junction box.
- Follow all local building, safety and electrical codes as well as NEC (National Electrical Code) and OSHA (Occupational Safety and Health Act).
- Electric Service supply must be 120 volts, 60 hertz.
- This product must properly connect to the grounding conductor of the supply circuit.
- Do not bend or kink the power wires.
- Do not use this fan with any solid state control device, such as a remote control, dimmer switch, or certain timers. Mechanical timers are not solid state devices.
- Do not install in a ceiling with insulation greater than R40.
- Duct work should be installed in a straight line with minimal bends.
- Duct work size must be the same size as the discharge and should not be reduced. Reducing the duct size may increase fan noise.
CAUTION
- For general ventilating use only. Do not use to exhaust hazardous or explosive materials and vapors.
- Not for use in kitchens.
- To reduce the risk of injury to persons, install the fan at least 7 feet (2.1 m) above the floor.
WARNING: To reduce the risk of fire, electric shock, or injury to persons, observe the following:
- Use this unit in the manner intended by the manufacturer. If you have any questions, please call customer service.
- Before servicing or cleaning unit, switch power off at service panel and lock the service disconnecting means to prevent power from being switched on accidentally. When the service disconnecting means cannot be locked, securely fasten a prominent warning device, such as a tag, to the service panel.
- Installation work and electrical wiring must be done by a qualified person(s) in accordance with all applicable codes and standards, including fire-rated construction.
- Sufficient air is needed for proper combustion and exhausting of gases through the flue (chimney) of fuel burning equipment to prevent backdrafting. Follow the heating equipment manufacturer´s guideline and safety standards such as those published by the National Fire Protection Association (NFPA), and the American Society for Heating, Refrigeration and Air Conditioning Engineers
(ASHRAE) and local code authorities. - When cutting or drilling into the wall or ceiling, do not damage electrical wiring and other hidden utilities.
- Ducted fans must always be vented to the outdoors.
- If this unit is to be installed over a tub or shower, it must be marked as appropriate for the application and be connected to a GFCI (Ground Fault Circuit Interrupter) – protected branch circuit.
- This ventilation fan is intended to be installed at least 3.28 ft. (1 m) from the showerhead when installing over a bathtub or shower. Installation within a shower stall is not recommended for this unit, unless the 3.28 ft. (1 m) distance can be met.
CAUTION: Installation of this unit requires the power to be OFF until installation is complete. If you encounter issues with the unit not powering up, please review the troubleshooting section of the instruction manual. If you require additional assistance, please call 1-877-319-3757, 7:30 a.m. – 4:30 p.m., CST, Monday – Friday. DO NOT RETURN TO STORE.
PREPARATION
Before beginning assembly of product, make sure all parts are present. Compare parts with package contents list and hardware contents. If any part is missing or damaged, do not attempt to assemble the product. Contact customer service for replacement parts at 1-877-319-3757, 7:30 a.m. – 4:30 p.m., CST, Monday – Friday.
Tools Required for Assembly (not included): Hammer, Flathead Screwdriver, Wire Connectors, Nails, Duct Tape, Phillips Screwdriver, Electrical Tape, and Utility Knife or Drywall Saw.
Helpful Tools (not included): Electric Drill, Drill Bits
IMPORTANT: 2.4 GHz Wi-Fi connection and Amazon Alexa account are required for full functionality.
WARNING: RISK OF ELECTRIC SHOCK! Ensure the electricity to the wires you are working on is shut off. Either remove the fuse or turn off the circuit breaker before removing the existing bath fan or installing the new one.
Before removing your current ventilation fan, verify the wall switch box has the required wires necessary for this installation. These wires are power (black) and neutral (white), as shown in the wiring diagram below. If you do not see both of these wires, consult a licensed electrician.
Check area above installation location to be sure that wiring can run to the planned location and that duct work can be run and the area is sufficient for proper ventilation.
Inspect duct work and wiring before proceeding with installation.
Before installation, provide inspection and future maintenance access at a location that will not interfere with installation work.
You may need the help of a second person to install this fan; one person on the attic side and one on the room side.
Installation may vary depending on how the previous bath fan was installed. Supplies necessary for the installation of your bath fan are not all included; however, most are available at your local home improvement or hardware store.
DIMENSIONS

IMPORTANT: ATTIC ACCESS IS REQUIRED FOR PROPER INSTALLATION.
WIRING
All wiring must be connected for full functionality. Do not use metal wall plate with switch.

INSTALLATION INSTRUCTIONS
BEFORE INSTALLATION
WARNING: RISK OF ELECTRIC SHOCK! Ensure the electricity to the wires you are working on is shut off. Either remove the fuse or turn off the circuit breaker before removing the existing bath fan or installing the new one.

- Remove existing fan.
If you are not replacing an existing fan, skip to step 7.
- Measure the opening to ensure it is large enough to accommodate the 9 in. x 9 in. dimensions of the new fan housing (A).

- If this fan is not replacing an old fan, be sure to cut a 9-1/4 in. x 9-1/4 in. opening for the fan housing (A).

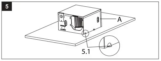
- Bend the tabs (4.1) on the sides of the fan housing (A) down 90° using a screwdriver.

- The tabs (5.1) will help hold the fan housing (A) in place in the ceiling opening while installing the suspension brackets.

- Insert suspension bracket (C) into the rails on the fan housing (A) on the side with the duct opening. Insert suspension bracket (D) into the rails on the opposite side of the fan housing (A) and then slide suspension bracket (E) into suspension bracket (D).

- Insert the fan housing (A) into the opening in the ceiling.

- Position the fan housing (A) so the bottom edge of the fan housing (A) is flush with the ceiling board. Do not the flush mount the fan housing (A) to the joist.
Attach the end of each of the suspension brackets (C, D, E) to the ceiling joists using wood screws (AA).
- Secure the suspension brackets (C, D, E) to the fan housing (A) using machine screws (BB).

- Slide the duct connector (F) into the tabs on the fan housing (A) until the duct connector (F) snaps firmly into place over the opening in the fan housing (A).
NOTE: Remove the protective tape on the duct adapter (F) flap.
- Install the wall switch according to the wiring diagram on page 5. Remove the wiring box cover from the fan housing (A). Pull the house wires through the hole in the wiring box cover. Using the quick connectors, connect the house wiring to the wall switch (G) and fan housing (A). 14 AWG is the smallest conductor that should be used for branch circuit wiring. Please refer to the wiring diagram on page 5 to ensure proper wire connections are made. Carefully push the wire connections into the wiring box and reattach the wiring box cover.
NOTE: Do not use metal wall plate with the wall switch (G), as it may cause interference with the fan operation.
CAUTION: The switch included with this ventilation fan requires a neutral wire connection. If a neutral line is not present, one must be run by a qualified electrician. If you require assistance, please call 1-877-319-3757 before attempting switch installation.
CAUTION: This switch is intended to only operate with this bath fan. Connections to other electrical fixtures are prohibited and could cause electrical issues.
- Connect a 4 in. circular duct to the fan housing (A), securing it with duct tape or a clamp. Vent the duct to the outside.

- Join the connectors from the fan housing (A) to the grille (B). The grille (B) must be connected BEFORE turning on power to the fan.

- Attach the grille (B) by pinching the mounting springs and inserting them into the narrow rectangular slots in the fan housing (A).
Turn on the power source. Test the unit.
WALL SWITCH OPERATION

SETTING UP AND PAIRING YOUR ALEXA BATH FAN TO THE HOMEWERKS CONNECT APP
Occasionally, there are updates to the app which may change the steps below. If you are having any difficulty with the
steps below, please go to Homewerks.com/HomewerksConnectApp to check for updates.
- Connect your phone or smart device to a steady 2.4 GHz Wi-Fi connection that can be accessed where your bath fan will be installed.
- Download the Homewerks Connect app from your smart device compatible app store. If you don’t have an Amazon Alexa account, download the Amazon Alexa app from the app store and choose “Create a new account”.
- If using IOS, open the Amazon Alexa app and log in to your Amazon Alexa account with your User ID and Password, then click “Sign In”. IMPORTANT: If using Android, this step is not needed.
- Turn on the bath fan at the LED wall switch by pressing the ( ) button for at least 3 seconds, until you hear a click.
The bath fan grille will light up. - The bath fan speaker will say “Now in set-up mode”. If you do not hear “Now in set-up mode”, long press the ( ) button on the LED wall switch for 5 seconds to enter set-up mode.
- Open the Homewerks Connect app on your smart device and follow the instructions provided in the app.
- In the Homewerks Connect app, select “Add device” and then “Next.”
- Click “Indicator is Blinking” and the app will search for the bath fan. Once the app has discovered the bath fan, identified as BATHROOM, click “Set up this device”.
- Set up Wi-Fi for the bath fan by entering the password for the same 2.4 GHz Wi-Fi signal your smart device is connected to and click “Next”. The app will then connect the bath fan to Wi-Fi. Once the bath fan is connected to Wi-Fi, click “Next”.
- The Homewerks Connect app will now search for and install the latest version of the firmware. Please be patient while the firmware is updated to provide you with the best experience.
- A list of available names will appear in the app and BATHROOM will be selected as the default setting. Click “Next”
in the upper right corner of the app screen to proceed to the next step. - Now the Homewerks Connect app will need you to log in to your Amazon Alexa account. Click “Get Started,” then enter the User ID and Password for your Amazon account. Select “Keep me signed in” and then click “Sign In”.
- After logging in to Amazon, choose your preferred language.
- When the next Amazon Alexa screen says “Alexa is ready”, click “Next” and then “Next” again to initiate the pairing process.
- After pairing the bath fan to the app, the commands in this step will activate the special skills needed to control additional functions of the bath fan. Click “Connect” on the next screen. Connect the Homewerks Smart Fan skills by clicking “Link”.
Then click “Link” again. To finish the process, click “Done” and “Done” again. IMPORTANT FOR ANDROID USERS: After clicking “Connect” and “Link”, the app will need you to log in to your Amazon Alexa account again.
You have successfully completed the set-up process and your Homewerks SmartVent fan is ready for use. You can now speak your commands or questions to Alexa, control the fan via the Homewerks Connect app, or use the included wall switch!
IMPORTANT: To operate the bath fan using standard Alexa commands, Step 14 must be completed successfully. To activate the special skills needed to control additional functions of the bath fan, please complete all 15 steps. If the set-up process fails for any reason after Step 14, click the Gear icon (
) next to BATHROOM in the Homewerks Connect app. Then click “Amazon Alexa Settings” and select “Link skill”. Continue to pair the Homewerks Connect app to your Amazon Alexa in Step 15. Please follow the Homewerks Connect app instructions until the Amazon log in and pairing process are complete.
NOTE: If you wish to set up and pair a second Alexa bath fan, long press the (
) button on the wall switch to power OFF the first fan before setting up and pairing the second fan.
OPERATING THE BATH FAN USING ALEXA COMMANDS
The following commands can be used with Alexa in your bath fan:
– Alexa, turn on BATHROOM light.
– Alexa, turn off BATHROOM light.
– Alexa, dim BATHROOM light.
– Alexa, brighten BATHROOM light.
– Alexa, change BATHROOM light to daylight.
– Alexa, change BATHROOM light to cool white.
– Alexa, change BATHROOM light to soft white.
– Alexa, change BATHROOM light to warm white.
– Alexa, turn on BATHROOM night light.
– Alexa, turn off BATHROOM night light.
– Alexa, turn on BATHROOM fan.
– Alexa, turn off BATHROOM fan.
– Alexa, ask smartfan to run for “x” minutes on BATHROOM.
IMPORTANT: If you rename the bath fan from BATHROOM to a custom name, your Alexa commands will need to be
directed to the new name. For example, if you renamed the fan as BATH, your command would be “Alexa, turn on the
BATH light” or “Alexa, turn off the BATH fan”.
You can also ask Alexa to do other things for you in addition to operating the bath fan. Examples include:
– Alexa, play music.
– Alexa, play Amazon music.
– Alexa, play Spotify.
– Alexa, turn up the volume.
– Alexa, turn down the volume.
– Alexa, order more shampoo.
– Alexa, what is the traffic on the way to work?
– Alexa, what is the temperature outside?
CONNECTING YOUR BLUETOOTH® DEVICE TO THE BATH FAN SPEAKER
- To play your personal music files, you need a wireless BLUETOOTH® device. After the firmware upgrade is completed during the initial set-up and pairing, you will be able to connect your BLUETOOTH® device directly to the bath fan speaker.
- Set your device to a midrange volume level before connecting to the bath fan speakers.
• The optimal volume setting for the BLUETOOTH® speakers is 70% or lower. Settings higher than 70% may cause
sound distortion. - Long press the (
) button on the LED wall switch to activate BLUETOOTH® (
). - From the Home screen on your smart device, choose Settings > BLUETOOTH®, to search for BATHROOM.
NOTE: While your device can maintain multiple pairing records, it can only connect to one accessory at a time. This prevents your device from sending your data to the wrong BLUETOOTH® accessory. - Select BATHROOM from the list of available BLUETOOTH device options. If BATHROOM does not appear on the list, speak “Alexa, Bluetooth Mode” and then “BATHROOM”.
- When pairing is complete, use the bath fan’s BLUETOOTH® speakers to play audio from your device.
- If preferred, you can also connect to your BLUETOOTH® device via the Homewerks Connect app. Download and open the Homewerks Connect app and follow the steps in the prior section to pair your Alexa bath fan to the Homewerks Connect app.
- To switch to a Wi-Fi connection, just speak “Alexa…..” and the device will automatically switch back to a Wi-Fi connection.
- To switch back from a Wi-Fi connection to BLUETOOTH®, press play from your BLUETOOTH® device.
SPOTIFY CONNECT
Use your phone, tablet, or computer as a remote control for Spotify.
Go to spotify.com/connect to learn how.
To enable and link Spotify:
- Open the Amazon Alexa app and click
. Select “Skills & Games.” Search for “Spotify” and click “Enable the skill”. - Follow the pop-up page to enter your Spotify user name and password to link it to your Amazon account. After completing these two steps, you can speak the command “Alexa, play music on Spotify”.
ADDITIONAL FUNCTIONS
RENAMING A BATH FAN
- If you have purchased more than one Homewerks Alexa bath fan, you will need to change the name of the second fan
to avoid duplication. You can also choose to change the name of a Homewerks Alexa bath fan from BATHROOM to
a customized name, if that is your preference. - From the Device List screen in your Homewerks Connect app, click the Gear icon (
) and choose “Rename”. - Select from the list of options on the screen or select “Custom” to create your own name. Once you have chosen the new name for your bath fan, click “Finish” in the top right corner.
- Please allow 20 seconds for the bath fan to refresh with the new name before using commands.
UPGRADING THE FIRMWARE
Periodically a new firmware version will be released and your Homewerks bath fan will need to be updated for maximum
functionality and security. From the pop-up window, click “Upgrade”. Do not turn off the power to the bath fan while the firmware is updated via Wi-Fi.
CARE AND CLEANING
CAUTION: Before attempting to clean the fixture, disconnect the power to the fixture by turning the breaker off or removing the fuse from the fuse box.
- See safety information before proceeding. Routine maintenance should be done at least once a year.
- Never use solvents, thinner or harsh chemicals for cleaning the fan.
- Do not allow water to enter the motor.
- Do not immerse metal parts in water.
- Do not immerse resin parts in water more than 140°F.
- Do not immerse speakers in water.
BEFORE CLEANING
WARNING: RISK OF ELECTRIC SHOCK! Ensure the electricity is shut off at the main breaker box. Either remove the fuse or turn off the circuit breaker before cleaning.

- Remove the grille (B) by squeezing the mounting springs and pulling the grille (B) down from the fan housing (A). Disconnect the electrical connections from the fan housing (A) to the grille (B) by pulling the connectors apart. Wipe grille (B) with a damp cloth.
CAUTION: Do not immerse grille in water.
- Remove dust and dirt from the fan housing (A) with a vacuum cleaner.

- Wipe the fan housing (A) with a damp cloth and wipe dry.

- Join the connectors from the fan housing (A) to the grille (B). Attach the grille (B) by pinching the mounting springs and inserting them into the narrow rectangular slots in the fan housing (A).
Turn on the power source.
TROUBLESHOOTING



FAN – LIMITED 3-YEAR WARRANTY
If the fan fails due to a defect in materials or workmanship at any time during the first THREE years of ownership, the manufacturer will replace it free of charge, postage-paid at their option. This warranty does not cover products that have been abused, altered, damaged, misused, cut or worn. This warranty does not cover use in commercial applications. Use only manufacturer-supplied genuine warranty repair replacement parts to repair this fan. Use of non-genuine repair parts will void your warranty. The manufacturer DISCLAIMS all other implied or express warranties including all warranties of merchantability and/or fitness for a particular purpose. As some states do not allow exclusions or limitations on an implied warranty, the above exclusions and limitations may not apply. This warranty gives you specific legal rights, and you may have other rights that vary from state to state.
This warranty is limited to the replacement of defective parts only. Labor charges and/or damage incurred during installation, repair, replacement as well as incidental and consequential damages connected with the above are excluded. Any damage to this product as a result of neglect, misuse, accident, improper installation or use other than the purpose SHALL VOID THIS WARRANTY.
Shipping costs for return product as part of a claim on the warranty must be paid for by the customer.
Inquiries regarding warranty claims can be directed to 1-877-319-3757, 7:30 a.m. – 4:30 p.m., CST, Monday – Friday.
BLUETOOTH® SPEAKER – LIMITED 1-YEAR WARRANTY
If the BLUETOOTH® speaker fails due to a defect in materials or workmanship at any time during the first year of ownership, the manufacturer will replace it free of charge, postage-paid at their option. This warranty does not cover products that have been abused, altered, damaged, misused, cut or worn. This warranty does not cover use in commercial applications. Use only manufacturer-supplied genuine warranty repair replacement parts to repair this fan. Use of non-genuine repair parts will void your warranty. The manufacturer DISCLAIMS all other implied or express warranties including all warranties of merchantability and/or fitness for a particular purpose. As some states do not allow exclusions or limitations on an implied warranty, the above exclusions and limitations may not apply. This warranty gives you specific legal rights, and you may have other rights that vary from state to state.
This warranty is limited to the replacement of defective parts only. Labor charges and/or damage incurred during installation, repair, replacement as well as incidental and consequential damages connected with the above are excluded. Any damage to this product as a result of neglect, misuse, accident, improper installation or use other than the purpose SHALL VOID THIS WARRANTY.
Shipping costs for return product as part of a claim on the warranty must be paid for by the customer.
Inquiries regarding warranty claims can be directed to 1-877-319-3757, 7:30 a.m. – 4:30 p.m., CST, Monday – Friday.
AMAZON ALEXA – LIMITED 1-YEAR WARRANTY
Products covered by this warranty are identified at https://www.amazon.com/devicewarranty
If you purchased your Amazon Device or Accessory (the “Device”) from Amazon.com or from authorized resellers located in the United States, the Warranty for the Device is provided by Amazon.com Services LLC, 410 Terry Ave. North, Seattle, WA 98109-5210, United States. If you purchased your Device from any other Amazon website or from authorized resellers located in other countries, the warranty for the Device is provided by the entity identified at https://www.amazon.com/devicewarrantyprovider. The provider of this warranty is sometimes referred to herein as “we.”
When you purchase a new or Certified Refurbished Device , we warrant the Device against defects in materials and workmanship under ordinary consumer use for one year from the date of original retail purchase. During this warranty period, if a defect arises in the Device, and you follow the instructions for returning the Device, we will at our option, to the extent permitted by law, either (i) repair the Device using either new or refurbished parts, (ii) replace the Device with a new or refurbished Device that is equivalent to the Device to be replaced, or (iii) refund to you all or part of the purchase price of the Device. This limited warranty applies, to the extent permitted by law, to any repair, replacement part or replacement device for the remainder of the original warranty period or for ninety days, whichever period is longer. All replaced parts and Devices for which a refund is given shall become our property. This limited warranty applies only to hardware components of the Device that are not subject to accident, misuse, neglect, fire or damage from other external causes, alteration, repair, or commercial use.
INSTRUCTIONS: For specific instructions about how to obtain warranty service for your Device, please contact Customer Service using the contact information on the left side of this page. In general, you will need to deliver your Device in either its original packaging or in equally protective packaging to the address specified by Customer Service. Before you deliver your Device for warranty service, it is your responsibility to remove any removable storage media and back up any data, software, or other materials you may have stored or preserved on your Device. It is possible that such storage media, data, software or other materials will be destroyed, lost or reformatted during service, and we will not be responsible for any such damage or loss.
LIMITATION: TO THE EXTENT PERMITTED BY LAW, THE WARRANTY AND REMEDIES SET FORTH ABOVE ARE EXCLUSIVE AND IN LIEU OF ALL OTHER WARRANTIES AND REMEDIES, AND WE SPECIFICALLY DISCLAIM ALL STATUTORY OR IMPLIED WARRANTIES, INCLUDING, BUT NOT LIMITED TO, WARRANTIES OF MERCHANTABILITY, FITNESS FOR A PARTICULAR PURPOSE AND AGAINST HIDDEN OR LATENT DEFECTS. IF WE CANNOT LAWFULLY DISCLAIM STATUTORY OR IMPLIED WARRANTIES, THEN TO THE EXTENT PERMITTED BY LAW, ALL SUCH WARRANTIES SHALL BE LIMITED IN DURATION TO THE DURATION OF THIS EXPRESS LIMITED WARRANTY AND TO REPAIR OR REPLACEMENT SERVICE.
SOME JURISDICTIONS DO NOT ALLOW LIMITATIONS ON HOW LONG A STATUTORY OR IMPLIED WARRANTY LASTS, SO THE ABOVE LIMITATION MAY NOT APPLY TO YOU. WE ARE NOT RESPONSIBLE FOR DIRECT, SPECIAL, INCIDENTAL OR CONSEQUENTIAL DAMAGES RESULTING FROM ANY BREACH OF WARRANTY OR UNDER ANY OTHER LEGAL THEORY. IN SOME JURISDICTIONS THE FOREGOING LIMITATION DOES NOT APPLY TO DEATH OR PERSONAL INJURY CLAIMS, OR ANY STATUTORY LIABILITY FOR INTENTIONAL AND GROSS NEGLIGENT ACTS AND/OR OMISSIONS, SO THE ABOVE EXCLUSION OR LIMITATION MAY NOT APPLY TO YOU. SOME JURISDICTIONS DO NOT ALLOW THE EXCLUSION OR LIMITATION OF DIRECT, INCIDENTAL OR CONSEQUENTIAL DAMAGES, SO THE ABOVE EXCLUSION OR LIMITATION MAY NOT APPLY TO YOU. THIS “LIMITATIONS” SECTION DOES NOT APPLY TO CUSTOMERS IN THE EUROPEAN UNION.
This limited warranty gives you specific rights. You may have additional rights under applicable law, and this limited warranty does not affect such rights.
You can find the Customer Service contact information and other applicable terms and Device information (including in other languages) at https://www.amazon.com/devicesupport.




































