
SMARTVENT
BATHROOM EXHAUST FAN
WITH ALEXA BUILT-IN, LED LIGHT,
AND BLUETOOTH® SPEAKERS
MODEL #7148-01-AX

Questions, problems, missing parts? Before returning to your retailer, call our customer service department at 1-877-319-3757, 7:30 a.m. – 4:30 p.m., CST, Monday – Friday.
READ AND SAVE THESE INSTRUCTIONS
Amazon, Alexa, and all related logos are trademarks of Amazon.com, Inc. or its affiliates. The Bluetooth word mark and logos are owned by Bluetooth SIG, Inc. Other third-party brands and names are the property of their respective owners. Home networks, Homewerks, Homewerks Worldwide, the Homewerks house design, and all related logos are trademarks owned by Homewerks Worldwide, LLC Guangdong Wintek Science and Technology Co., Ltd.
U.S. Pat. No. 9,398,357
Homewerks.com V2 — 09022020
PRODUCT SPECIFICATIONS
| Airflow: 110 CFM 120V, 60Hz Duct diameter: 4 in. Sound output: 1.5 Sones Total power consumption: 50W Fan power consumption: 28W Exhaust fan speed: 920 RPM | LED light power consumption: 18W LED light brightness: 800 lumens LED light color (CCT): 2200K Warm White / 3000K Soft White / 4000K Cool White / 5000K Daylight Night light color (CCT): 2200K Warm White Weight: 12.8 lbs. |
FCC COMPLIANCE
NOTICE: This equipment has been tested and found to comply with the limits for a Class B digital device, pursuant to part 15 of the FCC Rules. These limits are designed to provide reasonable protection against harmful interference in a residential installation.
This equipment generates, uses, and can radiate radio frequency energy and, if not installed and used in accordance with the instructions, may cause harmful interference to radio communications. However, there is no guarantee that interference will not occur in a particular installation.
If this equipment does cause harmful interference to radio or television reception, which can be determined by turning the equipment off and on, the user is encouraged to try to correct the interference by one or more of the following measures:
- Reorient or relocate the receiving antenna.
- Increase the separation between the equipment and receiver.
- Connect the equipment into an outlet on a circuit different from that to which the receiver is connected.
- Consult the dealer or an experienced radio/TV technician for help.
Changes or modifications made to this equipment not expressly approved by the party responsible for compliance could void the user’s authority to operate the equipment.
Federal Communication Commission (FCC) Radiation Exposure Statement:
When using the product, maintain a distance of 20cm from the body to ensure compliance with RF exposure requirements.
This device complies with part 15 of the FCC rules. Operation is subject to the following two conditions:
(1) this device may not cause harmful interference, and (2) this device must accept any interference received, including interference that may cause undesired operation.
NOTE: The manufacturer is not responsible for any radio or TV interference caused by unauthorized modifications or changes to this equipment. Such modifications or changes could void the user’s authority to operate the equipment.
FCC ID:2AW5J-7148-01-AX
PACKAGE CONTENTS

| PAR | DESCRIPTION | QTY |
| A | Fan Housing with BLUETOOTH® Speakers | 1 |
| B | Grille with Amazon Alexa and LED Light | 1 |
| C | Suspension Bracket | 1 |
| D | Suspension Bracket | 1 |
| E | Suspension Bracket | 1 |
| F | 4 in. Duct Adapter | 1 |
| G | Wall Switch | 1 |
HARDWARE CONTENTS (not actual size)

SAFETY INFORMATION
Please read and understand this entire manual before attempting to assemble, operate or install the product.
- Always disconnect the power supply prior to servicing the fan, motor or junction box.
- Follow all local building, safety, and electrical codes as well as NEC (National Electrical Code) and OSHA (Occupational Safety and Health Act).
- Electric Service supply must be 120 volts, 60 hertz.
- This product must properly connect to the grounding conductor of the supply circuit.
- Do not bend or kink the power wires.
- Do not use this fan with any solid-state control device, such as a remote control, dimmer switch, or certain timers. Mechanical timers are not solid state devices.
- Do not install in a ceiling with insulation greater than R40.
- Ductwork should be installed in a straight line with minimal bends.
- Ductwork size must be the same size as the discharge and should not be reduced. Reducing the duct size may increase fan noise.
CAUTION
- For general ventilating use only. Do not use it to exhaust hazardous or explosive materials and vapors.
- Not for use in cooking areas.
- To reduce the risk of injury to persons, install the fan at least 7 feet (2.1 m) above the floor.
WARNING: To reduce the risk of fire, electric shock, or injury to persons, observe the following:
- Use this unit in the manner intended by the manufacturer. If you have any questions, please call customer service.
- Before servicing or cleaning the unit, switch power off at the service panel and lock the service disconnecting means to prevent power from being switched on accidentally. When the service disconnecting means cannot be locked, securely fasten a prominent warning device, such as a tag, to the service panel.
- Installation work and electrical wiring must be done by a qualified person(s) in accordance with all applicable codes and standards, including fire-rated construction.
- Sufficient air is needed for proper combustion and exhausting of gases through the flue (chimney) of fuel-burning equipment to prevent back-drafting. Follow the heating equipment manufacturer´s guidelines and safety standards such as those published by the National Fire Protection Association (NFPA), the American Society for Heating, Refrigeration and Air Conditioning Engineers (ASHRAE), and local code authorities.
- When cutting or drilling into the wall or ceiling, do not damage electrical wiring and other hidden utilities.
- Ducted fans must always be vented to the outdoors.
- If this unit is to be installed over a tub or shower, it must be marked as appropriate for the application and be connected to a GFCI (Ground Fault Circuit Interrupter) – protected branch circuit.
- This ventilation fan is intended to be installed at least 3.28 ft. (1 m) from the showerhead when installed over a bathtub or shower. Installation within a shower stall is not recommended for this unit unless the 3.28 ft. (1 m) distance can be met.
CAUTION: Installation of this unit requires the power to be OFF until installation is complete. If you encounter issues with the unit not powering up, please review the troubleshooting section of the instruction manual. If you require additional assistance, please call 1-877-319-3757, 7:30 a.m. – 4:30 p.m., CST, Monday – Friday. DO NOT RETURN TO THE STORE.
PREPARATION
Before beginning the assembly of the product, make sure all parts are present. Compare parts with package contents list and hardware contents. If any part is missing or damaged, do not attempt to assemble the product. Contact customer service for replacement parts at 1-877-319-3757, 7:30 a.m. – 4:30 p.m., CST, Monday – Friday. Tools Required for Assembly (not included): Hammer, Flathead Screwdriver, Wire Connectors, Nails, Duct Tape, Phillips Screwdriver, Electrical Tape, and Utility Knife or Drywall Saw. Helpful Tools (not included): Electric Drill, Drill Bits
IMPORTANT: 2.4 GHz Wi-Fi connection and an Amazon Alexa account are required for full functionality.
PREPARATION (Continued)
WARNING: RISK OF ELECTRIC SHOCK! Ensure the electricity to the wires you are working on is shut off. Either remove the fuse or turn off the circuit breaker before removing the existing bath fan or installing the new one.
Before removing your current ventilation fan, verify the wall switch box has the required wires necessary for this installation. These wires are power (black) and neutral (white), as shown in the wiring diagram below. If you do not see both of these wires, consult a licensed electrician.
Check the area above the installation location to be sure that wiring can run to the planned location and that ductwork can be run and that the area is sufficient for proper ventilation.
Inspect ductwork and wiring before proceeding with the installation.
Before installation, provide inspection and future maintenance access at a location that will not interfere with installation work.
You may need the help of a second person to install this fan; one person on the attic side and one on the room side.
Installation may vary depending on how the previous bath fan was installed. Supplies necessary for the installation of your bath fan are not all included; however, most are available at your local home improvement or hardware store.
DIMENSIONS
| Ceiling Opening (L) | Ceiling Opening (W) | Ceiling Opening (H) | Housing Dimension (L) | Housing Dimension (W) | Housing Dimension (H) |
| 9-1/4 in. | 9-1/4 in. | 5-29/32 in. | 9 in. | 9 in. | 5-25/32 in. |
IMPORTANT: ATTIC ACCESS IS REQUIRED FOR PROPER INSTALLATION.
WIRING
All wiring must be connected for full functionality. Do not use a metal wall plate with a switch.

ATTENTION:
The switch included with this ventilation fan requires a neutral wire connection. If a neutral line is not present, one must be run by a qualified electrician.
NOTE: This switch is intended to only operate independently with this bath fan, connections to other electrical fixtures is prohibited and could cause electrical issues.
If you require assistance, please call 1-877-319-3757 before attempting this switch installation.
INSTALLATION INSTRUCTIONS
BEFORE INSTALLATION
WARNING: RISK OF ELECTRIC SHOCK! Ensure the electricity to the wires you are working on is shut off. Either remove the fuse or turn off the circuit breaker before removing the existing bath fan or installing the new one.

- Remove the existing fan.
If you are not replacing an existing fan, skip stepping 4. - Measure the opening to ensure it is large enough to accommodate the 9 in. x 9 in. dimensions of the new fan housing (A).

- If this fan is not replacing an old fan, be sure to cut a 9-1/4 in. x 9-1/4 in. opening for the fan housing (A).
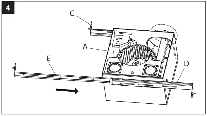
- Insert suspension bracket (C) into the tabs on the fan housing (A) on the side with the duct opening. Insert suspension bracket (D) into the tabs on the opposite side of
the fan housing (A) and then slide suspension bracket (E) into the suspension bracket (D).
- Position the fan housing (A) so the bottom edge of the fan housing (A) is flush with the ceiling board. Do not the flush-mount the fan housing (A) to the joist.
Attach the end of each of the suspension brackets (C, D, E) to the ceiling joists using wood screws (AA).
- Secure the suspension brackets (C, D, E) to the fan housing (A) using machine screws (BB).
- Slide the duct connector (F) into the tabs on the fan housing (A) until the duct connector (F) snaps firmly into place over the opening in the fan housing (A).
NOTE: Remove the protective tape on the duct adapter (F) flap.
Install the wall switch according to the wiring diagram on page 5. Remove the wiring box cover from the fan housing (A). Pull the house wires through the hole in the wiring box cover. Using the quick connectors, connect the house wiring to the wall switch (G) and fan housing (A). 14 AWG is the smallest conductor that should be used for branch circuit wiring. Please refer to the wiring diagram on page 5 to ensure proper wire connections are made. Carefully push the wire connections into the wiring box and reattach the wiring box cover.
NOTE: Do not use a metal wall plate with the wall switch (G), as it may cause interference with the fan operation.
CAUTION: The switch included with this ventilation fan requires a neutral wire connection. If a neutral line is not present, one must be run by a qualified electrician. If you require assistance, please call 1-877-319-3757 before attempting switch installation.
CAUTION: This switch is intended to only operate with this bath fan. Connections to other electrical fixtures are prohibited and could cause electrical issues.Connect a 4 in. circular duct to the fan housing (A), securing it with duct tape or a clamp. Vent the duct to the outside.

- Join the connectors from the fan housing (A) to the grille (B). The grille (B) must be connected BEFORE turning on power to the fan.

- Attach the grille (B) by pinching the mounting springs and inserting them into the narrow rectangular slots in the fan housing (A).
Turn on the power source. Test the unit.
WALL SWITCH OPERATION
| Button | Action |
| •Shod press to turn light ON/OFF • Long press for 8 seconds to initiate the switch pairing process | |
| •Shod press to adjust brightness | |
| •Short press to mute Alexa microphone ON/OFF •Long press for 5 seconds to activate BLUETOOTH- pairing | |
| •Short press to activate Alexa •Long press for 5 seconds to start or restart the WiFi pairing process | |
| •Short press to turn on fan •Long press for 8 seconds to activate a factory reset | |
| •Short press to turn light and fan ON/OFF together •Long press for 3 seconds to power ON/OFF |

CAUTION: If you long-press the (
) button on the LED wall switch, you will need to repeat the setup process.
SETTING UP AND PAIRING YOUR ALEXA BATH FAN TO THE HOME NETWORKS CONNECT APP
- Connect your phone or smart device to a steady 2.4 GHz WiFi connection that can be accessed where your bath fan will be installed.
- Download the Home NetWerks Connect app from your smart device compatible app store. If you don’t have an Amazon Alexa account, download the Amazon Alexa app from the app store and choose “Create a new account”.
- If using IOS, open the Amazon Alexa app and log in to your Amazon Alexa account with your User ID and Password, then click “Sign In”.
IMPORTANT: If using Android, this step is not needed. - Turn on the bath fan at the LED wall switch by pressing the (
) button for at least 3 seconds, until you hear a click. The bath fan grill will light up. - The bath fan speaker will say “Now in set-up mode”. If you do not hear “Now in set-up mode”, long-press the (
) button on the LED wall switch for 5 seconds to enter set-up mode. - Open the Home NetWerks Connect app on your smart device and follow the instructions provided in the app.
- In the Home NetWerks Connect app, select “Add device” and then “Next.”
- Click “Indicator is Blinking” and the app will search for the bath fan. Once the app has discovered the bath fan, identified as BATHROOM, click “Set up this device”.
- Set up WiFi for the bath fan by entering the password for the same 2.4 GHz WiFi signal your smart device is connected to and click “Next”. The app will then connect the bath fan to WiFi. Once the bath fan is connected to WiFi, click “Next”.
- The Home NetWerks Connect app will now search for and install the latest version of the firmware. Please be patient while the firmware is updated to provide you with the best experience.
- A list of available names will appear in the app and BATHROOM will be selected as the default setting. Click “Next” in the upper right corner of the app screen to proceed to the next step.
- Now the Home NetWerks Connect app will need you to log in to your Amazon Alexa account. Click “Sign in with Amazon”, then enter the User ID and Password for your Amazon account, and click “Keep me signed in”.
- After logging in to Amazon, choose your preferred language.
- When the next Amazon Alexa screen says “Alexa is ready”, click “Next” and then “Next” again.
- In order to pair the bath fan to the Home NetWerks Connect app, you will need to create a User ID and Password for the app. Click “Log in” and then click “Sign Up” at the bottom of the page. Enter a User ID & Password, using at least 8 characters with one number and one letter included, and sign in.
- The screen will say your device is not paired. Click “Pair Device”.
- After pairing the bath fan to the app, the commands in this step will activate the special skills needed to control additional functions of the bath fan. Click “Connect” on the next screen. Connect the Home NetWerks Smart Fan skills by clicking “Link”. To finish the process, click “Done”.
You have successfully completed the set-up process and your Home NetWerks SmartVent fan is ready for use. You can now speak your commands or questions to Alexa, control the fan via the Home NetWerks Connect app, or use the included wall switch!
OPERATING THE BATH FAN USING ALEXA COMMANDS
The following commands can be used with Alexa in your bath fan:
| – Alexa, turn on the BATHROOM light. – Alexa, turn off the BATHROOM light. – Alexa, dim the BATHROOM light. – Alexa, brighten the BATHROOM light. – Alexa, change the BATHROOM light to daylight. – Alexa, change the BATHROOM light to cool white. – Alexa, change the BATHROOM light to soft white. | – Alexa, change the BATHROOM light to warm white. – Alexa, turn on the BATHROOM night light. – Alexa, turn off the BATHROOM night light. – Alexa, turn on the BATHROOM fan. – Alexa, turn off the BATHROOM fan. – Alexa, ask a smart fan to run for “x” minutes on BATHROOM. |
IMPORTANT: If you rename the bath fan from BATHROOM to a custom name, your Alexa commands will need to be directed to the new name. For example, if you renamed the fan as BATH, your command would be “Alexa, turn on the BATH light” or “Alexa, turn off the BATH fan”.
OPERATING THE BATH FAN USING ALEXA COMMANDS (Continued)
You can also ask Alexa to do other things for you in addition to operating the bath fan. Examples include:
– Alexa, play music.
– Alexa, play Amazon music.
– Alexa, play Spotify.
– Alexa, turn up the volume.
– Alexa, turn down the volume.
– Alexa, order more shampoo.
– Alexa, what is the traffic on the way to work?
– Alexa, what is the temperature outside?
CONNECTING YOUR BLUETOOTH® DEVICE TO THE BATH FAN SPEAKER
- To play your personal music files, you need a wireless BLUETOOTH® device. After the firmware upgrade is completed during the initial set-up and pairing, you will be able to connect your BLUETOOTH® device directly to the bath fan speaker.
- Set your device to a midrange volume level before connecting to the bath fan speakers. • The optimal volume setting for the BLUETOOTH® speakers is 70% or lower. Settings higher than 70% may cause sound distortion.
- Long press the (
) button on the LED wall switch to activate BLUETOOTH® (
). - From the Home screen on your smart device, choose Settings > BLUETOOTH®, to search for BATHROOM. NOTE: While your device can maintain multiple pairing records, it can only connect to one accessory at a time. This prevents your device from sending your data to the wrong BLUETOOTH® accessory.
- Select BATHROOM from the list of available BLUETOOTH device options. If BATHROOM does not appear on the list, speak “Alexa, Bluetooth Mode” and then “BATHROOM”.
- When pairing is complete, use the bath fan’s BLUETOOTH® speakers to play audio from your device.
- If preferred, you can also connect to your BLUETOOTH® device via the Home NetWerks Connect app. Download and open the Home NetWerks Connect app and follow the steps in the prior section to pair your Alexa bath fan to the Home NetWerks Connect app.
- To switch to a WiFi connection, just speak “Alexa ” and the device will automatically switch back to a WiFi connection.
- To switch back from a WiFi connection to BLUETOOTH®, press play from your BLUETOOTH® device.
SPOTIFY CONNECT
Use your phone, tablet, or computer as a remote control for Spotify. Go to spotify.com/connect to learn how.
ADDITIONAL FUNCTIONS
RENAMING A BATH FAN
- If you have purchased more than one Home NetWerks Alexa bath fan, you will need to change the name of the second fan to avoid duplication. You can also choose to change the name of a Home NetWerks Alexa bath fan from BATHROOM to a customized name if that is your preference.
- From the Device List screen in your Home NetWerks Connect app, click the Gear icon (
) and choose “Rename”. - Select from the list of options on the screen or select “Custom” to create your own name. Once you have chosen the new name for your bath fan, click “Finish” in the top right corner.
- Please allow 20 seconds for the bath fan to refresh with the new name before using commands.
UPGRADING THE FIRMWARE
Periodically a new firmware version will be released and your Home NetWerks bath fan will need to be updated for maximum functionality and security. From the pop-up window, click “Upgrade”. Do not turn off the power to the bath fan while the firmware is updated via WiFi.
CARE AND CLEANING
CAUTION: Before attempting to clean the fixture, disconnect the power to the fixture by turning the breaker off or removing the fuse from the fuse box.
- See safety information before proceeding. Routine maintenance should be done at least once a year.
- Never use solvents, thinner or harsh chemicals for cleaning the fan.
- Do not allow water to enter the motor.
- Do not immerse metal parts in water.
- Do not immerse resin parts in water more than 140°F.
- Do not immerse speakers in water.
BEFORE CLEANING
WARNING: RISK OF ELECTRIC SHOCK! Ensure the electricity is shut off at the main breaker box. Either remove the fuse or turn off the circuit breaker before cleaning.

- Remove the grille (B) by squeezing the mounting springs and pulling the grille (B) down from the fan housing (A). Disconnect the electrical connections from the fan housing (A) to the grille (B) by pulling the connectors apart. Wipe grille (B) with a damp cloth.
CAUTION: Do not immerse grille in water. - Remove dust and dirt from the fan housing (A) with a vacuum cleaner.

- Wipe the fan housing (A) with a damp cloth and wipe dry.

- Join the connectors from the fan housing (A) to the grille (B). Attach the grille (B) by pinching the mounting springs and inserting them into the narrow rectangular slots in the fan housing (A).
Turn on the power source. Test the unit.
TROUBLESHOOTING
| PROBLEM | POSSIBLE CAUSE | SOLUTION |
| The fan seems louder than it should be. | The CFM is too great for the space. | Be sure the CFM rating on the fan matches the square footage of your room. |
| The damper is damaged or not working properly. | Check the damper to ensure it is opening and closing properly. If the damper has become damaged, please call Customer Service. | |
| The bend in the duct is too close to the fan discharge. | Be sure you do not have any sharp bends in the duct within 18 in. of the fan discharge. | |
| The fan discharge is reduced to fit a smaller duct. | Use the recommended size ducting to reduce fan noise. | |
| The fan body is not attached securely. | Be sure the fan is securely attached to the ceiling joists. | |
| The fan is not clearing the humidity from the room. | There is insufficient airflow intake in the room. | Be sure a door or window is slightly ajar or open to allow airflow. The fan is not able to draw air out of the room without enough airflow. |
| There is insufficient CFM. NOTE: Using a tissue is not the correct method for determining if the fan is operating properly. If the fan clears steam from the room within approximately 15 minutes of completing your shower, then the fan is operating properly. | Be sure the CFM rating of the fan matches the square footage of your room. | |
| The BLUETOOTH® device will not pair with the fan. | Another device is already paired. | Make sure the BLUETOOTH® signal is turned off on other devices. |
| The switch will not power up. | There is a wiring issue at the switch, or the power is not turned on at the fuse box or circuit breaker. | Check the wiring diagram on page 5 and confirm the wiring is correct. Verify the power is turned on. |
| The switch has power, but the fan does not. | The grille is not receiving a signal from the switch. | Turn off the power. Disconnect the grill for 5 seconds, then reconnect the grille and test. Repeat as necessary. |
| Long press the ( | ||
| The speaker and the smart device are not connected to the same WiFi network. | Ensure your smart device is connected to the same WiFi network that the speaker was configured to. | |
| The neutral wire connection from the switch to the fan is not engaging. | Run a dedicated neutral wire from the switch to the fan. Consult an electrician if necessary. | |
| The wall switch does not work with the bath fan. | The wall switch is not paired to the bath fan. | Press the ( |
| PROBLEM | POSSIBLE CAUSE | SOLUTION |
| The Home NetWerks fan cannot be discovered by the Home NetWerks Connect app. | The fan is not in set-up mode. | Long press the ( |
| The fan and the mobile device are not connected to the same WiFi network. | Ensure that your mobile device is connected to the same WiFi network that the fan was configured on. | |
| Alexa is not responding. | The microphone on the bath fan is muted. | If the red LED indicator is illuminated on the fan, the microphone is muted. Press the ( |
| The bath fan may have lost the WiFi signal or the connection to the Home NetWerks Connect app. | Follow the steps in Pairing your Alexa Bath Fan to the Home NetWerks Connect App on page 9. | |
| The Amazon Alexa and Home NetWerks Connect apps are logged into different accounts. | Sign out of the Amazon Alexa and Home NetWerks Connect apps. Sign into each again using the same account. | |
| There is no sound coming from the speaker. | A software problem has occurred. | Press the ( |
| Perform a factory reset by pressing the ( NOTE: This will delete all user settings. After the factory reset, the speaker will need to be set up again. Follow the instructions on page 9. | ||
| Volume is turned down or off. | Turn up or turn on the volume. | |
| The bath fan is having WiFi connectivity issues. | There is an unsteady network connection. | Make sure that your bath fan is within range of your WiFi router and has a strong and stable connection. |
| Other devices are causing interference. | Check that your bath fan is away from any other devices that cause interference, such as microwaves, baby monitors, or other electronic devices. | |
| WiFI is not connected because the password was entered incorrectly. | Verify you have the correct WiFi password. If your WiFi password recently changed, update your device’s WiFi settings. | |
| Network congestion is causing poor signal strength. | If you have several devices connected to your WiFi network, try removing some of them to reduce congestion. | |
| No WiFi signal is being received. | The fan is 2.4GHz WiFi-compatible. Please make sure your smart device and bath fan are connected to 2.4GHz. |
FAN – LIMITED 3-YEAR WARRANTY
If the fan fails due to a defect in materials or workmanship at any time during the first THREE years of ownership, the manufacturer will replace it free of charge, postage-paid at their option. This warranty does not cover products that have been abused, altered, damaged, misused, cut or worn. This warranty does not cover use in commercial applications. Use only manufacturer-supplied genuine warranty repair replacement parts to repair this fan. Use of non-genuine repair parts will void your warranty. The manufacturer DISCLAIMS all other implied or expresses warranties including all warranties of merchantability and/or fitness for a particular purpose. As some states do not allow exclusions or limitations on an implied warranty, the above exclusions and limitations may not apply. This warranty gives you specific legal rights, and you may have other rights that vary from state to state. This warranty is limited to the replacement of defective parts only. Labor charges and/or damage incurred during installation, repair, and replacement as well as incidental and consequential damages connected with the above are excluded. Any damage to this product as a result of neglect, misuse, accident, improper installation or use other than the purpose SHALL VOID THIS WARRANTY. Shipping costs for return products as part of a claim on the warranty must be paid for by the customer. Inquiries regarding warranty claims can be directed to 1-877-319-3757, 7:30 a.m. – 4:30 p.m., CST, Monday – Friday.
BLUETOOTH® SPEAKER – LIMITED 1-YEAR WARRANTY
If the BLUETOOTH® speaker fails due to a defect in materials or workmanship at any time during the first year of ownership, the manufacturer will replace it free of charge, postage-paid at their option. This warranty does not cover products that have been abused, altered, damaged, misused, cut or worn. This warranty does not cover use in commercial applications. Use only manufacturer-supplied genuine warranty repair replacement parts to repair this fan. Use of non-genuine repair parts will void your warranty. The manufacturer DISCLAIMS all other implied or expresses warranties including all warranties of merchantability and/or fitness for a particular purpose. As some states do not allow exclusions or limitations on an implied warranty, the above exclusions and limitations may not apply. This warranty gives you specific legal rights, and you may have other rights that vary from state to state. This warranty is limited to the replacement of defective parts only. Labor charges and/or damage incurred during installation, repair, and replacement as well as incidental and consequential damages connected with the above are excluded. Any damage to this product as a result of neglect, misuse, accident, improper installation or use other than the purpose SHALL VOID THIS WARRANTY. Shipping costs for return products as part of a claim on the warranty must be paid for by the customer. Inquiries regarding warranty claims can be directed to 1-877-319-3757, 7:30 a.m. – 4:30 p.m., CST, Monday – Friday.
AMAZON ALEXA – LIMITED 1-YEAR WARRANTY
Products covered by this warranty are identified at https://www.amazon.com/devicewarranty
If you purchased your Amazon Device or Accessory (the “Device”) from Amazon.com or from authorized resellers located in the United States, the Warranty for the Device is provided by Amazon.com Services LLC, 410 Terry Ave. North, Seattle, WA 98109-5210, United States. If you purchased your Device from any other Amazon website or from authorized resellers located in other countries, the warranty for the Device is provided by the entity identified at https://www.amazon.com/devicewarrantyprovider. The provider of this warranty is sometimes referred to herein as “we.”
When you purchase a new or Certified Refurbished Device, we warrant the Device against defects in materials and workmanship under ordinary consumer use for one year from the date of original retail purchase. During this warranty period, if a defect arises in the Device, and you follow the instructions for returning the Device, we will at our option, to the extent permitted by law, either (i) repair the Device using either new or refurbished parts, (ii) replace the Device with a new or refurbished Device that is equivalent to the Device to be replaced, or (iii) refund to you all or part of the purchase price of the Device. This limited warranty applies, to the extent permitted by law, to any repair, replacement part or replacement device for the remainder of the original warranty period or for ninety days, whichever period is longer. All replaced parts and Devices for which a refund is given shall become our property. This limited warranty applies only to hardware components of the Device that are not subject to accident, misuse, neglect, fire or damage from other external causes, alteration, repair, or commercial use.
INSTRUCTIONS: For specific instructions about how to obtain warranty service for your Device, please contact Customer Service using the contact information on the left side of this page. In general, you will need to deliver your Device in either its original packaging or in equally protective packaging to the address specified by Customer Service. Before you deliver your Device for warranty service, it is your responsibility to remove any removable storage media and back up any data, software, or other materials you may have stored or preserved on your Device. It is possible that such storage media, data, software or other materials will be destroyed, lost or reformatted during service, and we will not be responsible for any such damage or loss.
LIMITATION: TO THE EXTENT PERMITTED BY LAW, THE WARRANTY AND REMEDIES SET FORTH ABOVE ARE EXCLUSIVE AND IN LIEU OF ALL OTHER WARRANTIES AND REMEDIES, AND WE SPECIFICALLY DISCLAIM ALL STATUTORY OR IMPLIED WARRANTIES, INCLUDING, BUT NOT LIMITED TO, WARRANTIES OF MERCHANTABILITY, FITNESS FOR A PARTICULAR PURPOSE AND AGAINST HIDDEN OR LATENT DEFECTS. IF WE CAN NOT LAWFULLY DISCLAIM STATUTORY OR IMPLIED WARRANTIES, THEN TO THE EXTENT PERMITTED BY LAW, ALL SUCH WARRANTIES SHALL BE LIMITED IN DURATION TO THE DURATION OF THIS EXPRESS LIMITED WARRANTY AND TO REPAIR OR REPLACEMENT SERVICE.
SOME JURISDICTIONS DO NOT ALLOW LIMITATIONS ON HOW LONG A STATUTORY OR IMPLIED WARRANTY LASTS, SO THE ABOVE LIMITATION MAY NOT APPLY TO YOU. WE ARE NOT RESPONSIBLE FOR DIRECT, SPECIAL, INCIDENTAL, OR CONSEQUENTIAL DAMAGES RESULTING FROM ANY BREACH OF WARRANTY OR UNDER ANY OTHER LEGAL THEORY. IN SOME JURISDICTIONS THE FOREGOING LIMITATION DOES NOT APPLY TO DEATH OR PERSONAL INJURY CLAIMS, OR ANY STATUTORY LIABILITY FOR INTENTIONAL AND GROSS NEGLIGENT ACTS AND/OR OMISSIONS, SO THE ABOVE EXCLUSION OR LIMITATION MAY NOT APPLY TO YOU. SOME JURISDICTIONS DO NOT ALLOW THE EXCLUSION OR LIMITATION OF DIRECT, INCIDENTAL, OR CONSEQUENTIAL DAMAGES, SO THE ABOVE EXCLUSION OR LIMITATION MAY NOT APPLY TO YOU. THIS “LIMITATIONS” SECTION DOES NOT APPLY TO CUSTOMERS IN THE EUROPEAN UNION.
This limited warranty gives you specific rights. You may have additional rights under applicable law, and this limited warranty does not affect such rights. You can find the Customer Service contact information and other applicable terms and Device information (including in other languages) at https://www.amazon.com/devicesupport.

























