Baia 163×163 Prefabricated Sauna Cabin Dry Finnish Sauna Cabin
![]()
Prefabricated sauna cabin
Dry finnish sauna cabin
INSTALLATION MANUAL
MODEL Baia 163×163

ASSEMBLY INSTRUCTION
1, Preparations
- Sauna package must be stored in a heated and dry room.
- Prior to installation ithe package must be opened and stored for 48h to adjust to relative humidity of the room (22°C, 40-60% RH),
- Ensure the sauna model fits in the designated room with sufficient extra room for ease of installation,
- Clean the location of sauna with care in order to not damage any details, elements
- Room must be well ventilated and with water drain on or near the position of the sauna.
- Sauna is intended to be installed on a level surface to ensure proper installation and quality of the installed product.
- Adequate electrical supply must be ensured for electrical components of the sauna,
- Refer to user manuals of respective products.
- Electrical connections to the power grid and to the sauna may only be carried out by legally competent and certified specialist.
- Producer cannot be held responsible for any errors resulting from disregard to the levelness of substructure, inadequate storing conditions, inadequate power supply, unauthorized alterations to components or any other circumstances occurring from deviations described in this manual and/or good customs.
2, List of tools
- Water level
- Tape measure
- Power drill
- Rubber or plastic mallet
- Silicone gun
- Screwdriver set
Installation of a sauna requires at least two (2) persons,
3. Installations
- Follow the instructions precisely,
- Always start from 1 and continuously move forward in an organized manner,
- Keep the installation site always clean and organized,
- This manual does not take into account any possible peculiarities of the installation site.
- Take care not to damage any components during installation due to dropping, dragging or careless handling.
- Special attention towards elements – they must be stored with care and kept away from any hard or sharp objects. Glasses are tempered and even smallest damages to the surface or corners can lead to concentration of stress and shattering of the glass.
1. BASE FRAME
- Check substructure level. Sauna must be installed on a level surface,
- Connect the base frame elements
- Fix the elements with screws
- Check baseframe diagonals for equality and right corners
- Apply silicone under basefame and fix in place
NOTE! If the sauna is to be moved after installation, silicone can be installed afterwards.
Figure 1a.

Figure 1b.

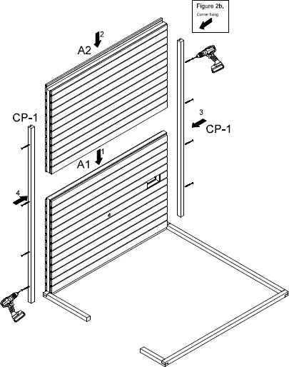
2. WALL ELEMENTS
1, Start assembly by placing previously assembled elements A1 & A2 on stable
baseframe.
2. Fix A1 & A2 elements with corner posts CP-1 as indicated on Figure 2a, 2b.
Figure 2.a

2.1 WALL ELEMENTS
1, Place previously assembled elements 81 & B2 on stable baseframe,
2, Fix B1 & 82 elements with comer post CP-1 as indicated on Figure 2,12, 2,10,

2.2 WALL ELEMENTS
1, Place previously assembled elements C1 & C2 on stable basetrame.
2, Fox & C2 elements with comer post GP-1 as indicated on Figure 2,2a, 2.2.
Figure 2.2a

2.3 WALL ELEMENTS
1, Place previously assembled element D1 on stable baseftame
2, FixD1 & D2 elements with comer post CP-1 as indicated on Figure 2.3a.
Figure 2.3a

3. CEILING ELEMENTS
1, Place the first celling element on top of perilously installed and fixed wall elements (Figure 3a),
(Check walls for vertical level. Celling element must sit tush with walls external layer and with excessive gaps between internal panels, Fic with screws,
2, Place the second ceiling element on top of walls with approx. 10mm gap with previous ceiling and slide into place, Attach additional plywood support pieces on the joint between celling’s, Fix with screws around.
NOTE! Do not support elements on edge of previous installed element!
Figure 3a

4. BENCH SUPPORT PLACEMENT
1, Place bench supports in sauna, check for level
2, Fix bench supports with screws.
Figure 4a

Figure 4b

5. BENCH FRAMES
1. Place upper bench frame and fix with screws.
2, Place ergonomic bench and fix with screws.
NOTE! First fasten the screws on sidewalls, then backwall
Figure 5a

5.1 BENCH FRAMES
1. Fix ergonomic bench from beneath.
Figure 5.1a

7. BACKREST
1, Fix backrest mounting blocks to the wall
2. Lift backrest in place and fix wit screws, cover screw holes with caps.

8. BENCH GRIDS
- Place bench grids on bench frames.
Figure 8a.

10. CORNER MOULDING
- Attach corner Mouldings with multiclips.
Figure 10a.

11. DOOR
1. Insert door frame. inside surfaces must sit flush.
2. Fix door frame with screws, seal screw holes with caps.
3. Install the handle.
NOTE! Door glass must not be supported directly to a hard (led, concrete or
other floor due to risk of shattering, Always rest the door and glass on a protected
surface, De not remove protection material from door unlit is finally and properly fated.
Figure 11a
Figure 11b.

12. HEATHER GUARD
1. Fish heaters the wall
2. Fix heater guard to the wall with multiclips,
3. Mako electrical connections on top of the celling
NOTE! Electrical connections must be carried out by a locally certified professional
Figure 12a

13. FINISHING TOUCHES
- Intall moulding with nails.
- Fit a stove on marked position.

14. COMPLETED SAUNA
1. Check the evel of ll elements,
2. Check the functionality ofall moving parts,
3. needed make adjustments on adjustable components,
4. Before using the sauna read AUROOM terms and conditions and user manual
NOTE! Upon the fist use sauna must be gradually and steadily taken up to normal operating temperature under constant supervision and afterwards thoroughly ventilated due to evaporation of various, substances that might be present from production of the sauna andior ts components

SAUNA USER MANUALS
Before installation
- Read this user manual and saune installation guide.
- Make sure there is adequate ventilation in the room where the sauna is to be installed (including as directed by the manufacturer of the sauna heater).
- Make sure the sauna’s wooden parts are not constantly in contact with water during installation (such as the bottoms of the walls).
- Make sure that the external surfaces of the sauna do not remain directly exposed to water and moisture upon installation.
- Read the user manuals and installation guides for all electrical devices to be used in the sauna.
- Make sure that the work is performed by a licensed electrician (including the installation of the electric sauna heater).
Finishing wood details
- So the wood lasts longer in the sauna over use, treat all wooden components with a breathable protectant compound. Before assembling sauna components, treat walls and ceilings on the interior and exterior with products designated for that purpose (e.g. Tikkurila SUPI Saunasuoja). Treat all sides of seating platforms before assembly and use with a designated compound (e.g. Tikkurila SUPI Laudesuoja). Wood protectants give the wood resistance to soiling and moisture, and an attractive appearance. Treated wood surfaces are also easier to clean.
- In applying treatment to wood details, first read the user manual for the respective products.
- Note: Do not use paints and varnishes! The wood must be able to breathe,
Installation of heater stones and first use of the sauna
- Theheater must be installed as indicated by the heater manufacturer.
- The heater stones must be installed as directed by the heater manufacturer, advisably so the internal heating elements do not remain visible. Pouring water directly on to the heating elements may reduce their lifespan.
- To allow for removal of any production chemicals, the heater stones should be washed. When heating the sauna for the first time, heat the sauna under supervision to about 100° C over a period of 2 hours, keeping the sauna ventilated both during and after the heating. During the first heating, the wood treatment compounds will be absorbed by the wood and form a protective layer. Do not take a sauna during the first heating!
- Depending on the intensity of use of the sauna, keep an eye on how the heater stones are holding up (they may crack over time). If necessary, heater stones can be added or replaced all at once.
Regular use and maintenance of the sauna
- To keep the platform looking fresh, we advise using seating pads or boards.
- To clean the platform and other wood components, use the designated cleaning compounds, reading the instructions first.
- After each sauna sessio
◦ Wipe off the platform with a clean, damp cloth. Keep excess water from pooling on wood surfaces. Do not Use a stream of water to wash the platforms.
◦ After cleaning the sauna, ventilate the room and allow the surfaces to dry.
◦ If possible, lift up the platforms so they can dry better. - At least once a year and/or if the protective layer wears away (and if necessary, more frequently):
◦ Treat the sauna’s wood surfaces once again with a special sauna wood protectant (see the section on bFinishing wood details).
◦ Wash all parts of the platform on all sides with a special cleaning compound (such as Tikkurila SUPI Saunapesu), using a soft brush and/or cloth. Follow the directions of the cleaning compound manufacturer. For stronger stains and soiling, the platform surface can be cleaned gently using fine-grade sandpaper. The platform or sanded surface should then be re-treated with protectant (see the part on Finishing wood details). Avoid use of non-compliant cleaning agents. For example, disinfectants bleach the wood surface and may ruin it.
◦ Avoid pressure washing and streams of water when cleaning the sauna.
◦ Clean the walls and ceilings in the same way as the platform.
◦ Check the fastenings of the platform structures.
The following is forbidden in the sauna:
- Drying textiles such as carpets and clothing etc as this may pose a fire hazard. Excessive moisture may also damage the surface of the wood.
- Heating the sauna to a temperature beyond the specifications of the sauna and heater manufacturer. Excessive heat may cause the wood to warp or pose a fire hazard.
- Pressure washing or using a stream of water to clean the sauna, as excess moisture may permanently damage the wood surface and structures.
Properties of the wood used in the sauna
- Wood is a natural material and temperature changes may cause its surface to crack or bend. This risk varies according to material and intensity of use (it is minimal in the case of heat-treated material and home use).
- The wood material used in the part of the sauna exposed to steam may darken due to heat over the long term or from intense use.
- Heat-treated material may give off a particular smell when a new sauna is heated, but this phenomenon will fade over time.
WARRANTY TERMS AND CONDITIONS FOR MODULAR SAUNAS
This document provides the warranty terms and conditions for the prefabricated saunas to be used in indoor conditions (hereinafter
The Manufacturer shall provide a two-year warranty with respect to the initial buyer of the Product against any potentialconstruction, manufacturing and material defects a
The warranty period shall commence as of the delivery of the Product to the buyer. It shall be assumed that the date of delivery of the Product coincides with the date set out on the invoice submitted to the buyer of the Product.
or via the official sales channels of the Manufacturer, and provided that the buyer adheres to the installation instructions,user manual and maintenance instructions of the Product. Installation instructions are provided with the Product. The usermanual and maintenance instructions are available on the website
The warranty does not cover:
public and rental saunas (except upon special agreement);
damage caused during the transport of the Product, incorrect storage or the construction thereof (crushing, scratches,soot stains, filler/paint splatter, etc.);
damage caused due to the installation of altered (drilled, sawn or disassembled) extra details, incorrectly assembled Products and/or improperly used Products and extra details;
damage caused due to normal wear and tear when using the Product;
natural qualities of the materials used (e.g. differences in timber grain). Natural timber may crack or bend due to major fluctuations in humidity and temperature. This does not affect the functioning of the sauna and does not indicate thatthe timber is of inferior quality;
damage resulting from unforeseeable circumstances (e.g. vandalism, fire, flooding, etc.); storage of an unassembled Product by the buyer for more than one year;
Products that have been stored in unsuitable conditions (excessive humidity, major fluctuations in temperature,temperatures higher than 120 degrees, etc.);
Products that have been repaired during the warranty period by persons other than the Manufacturer or a personauthorised by the seller.
The buyer shall waive the right to exercise the rights arising from warranty if they:
have failed to duly and properly inspect the quantity, composition and quality of the Product upon the receipt thereof, if a deficiency of the Product could have been detected in the course of a reasonable inspection. The buyer is obligatedto inspect the quantity, composition and quality of the Product at the earliest opportunity after receiving the Product,and in all instances before commencing the assembly of the Product;
have failed to notify the seller of a deficiency detected in the Product in a timely manner. The buyer shall notify theseller of any issues related to the quantity, composition or quality of the Product immediately, but within at least tencalendar days as of the moment the buyer has detected the issue or should have detected the issue; have submitted false information to the seller or the Manufacturer in relation to the Product or an instance coveredunder warranty.
In the event of a defect in the Product, the use of the Product must be stopped immediately, the seller of the Product mustbe contacted as soon as possible, and the following information and documents must be submitted: Product name or code;
purchase invoice of the Product;
description and photograph(s) of the defect.
The buyer has the right to request that repairs be made to the Product (or that the Product be replaced if the repairsfail to rectify the issue) free of charge within the framework of the warranty terms and conditions. Upon theagreement of the parties, the elimination or rectification of deficiencies may also take place in another manner;In the event of a defect, the buyer only has the right to return the Product and demand a full refund rather than thedefect is significant and repairs would be unlikely to produce the desired result or if repeated
repairs under warranty have not been performed in accordance with requirements. If the Product is returned, the purchase price of the Product shall be refunded to the buyer in full. If the Product is replaced, the buyer shall returnthe deficient Product;
The buyer shall be entitled to obtain a warranty on a replaced Product or part of a Product that is of the same durationas the original sales warranty.
The warranty only covers the replacement or repairs of defective parts and does not extend to other direct and/or indirectexpenses (e.g. transport) and/or damage caused due to a defect or failure of the Product. The legislation of the Republic of Estonia shall apply to these terms and conditions and the warranty to be granted by theManufacturer for the Products. The Tartu Courthouse of the Tartu County Court shall serve as the competent court for the resolution of any and all disputes related to the warranty.
















