![]()
Venetian blind drive Ja comfort-868
Application/special features/scope of delivery/accessories
Application:
- Electronic drive for indoor/outdoor venetian blinds
- Suitable for head rails from 51 x 57 mm (height x width)
Special features:
- Drive on both sides with silent soft brake
- Limit stop: electronic
- Slow travel during rotation of slats
- Standstill detection of drive shaft
- Soft start (2 speeds: slow/fast)
- The travel directions OPEN and DOWN/CLOSED are permanently assigned.
Important:
Observe the direction of the movement symbol on the cable side on the drive
- Safety cut-out limit switch: Optional as a reference point for band length compensation by means of cyclical reference runs
- Cyclical reference runs to balance changes in the winding behaviour of the Texbands (adjustable)
Standard scope of delivery:
- Drive with 0.5 m connecting cable with plug STAS3, assembly kit, safety instructions and assembly instructions
Accessories:
- Deflector for connecting cable, blind clamping set, clips, damper systems, QuickSnap shaft couplings, mushroom button extension (cut-out extension)
- STAK3 couplings, control units
Safety instructions
Important safety instructions. Observe all assembly instructions since incorrect assembly can lead to serious injuries.
General safety instructions for use including installation of venetian blind drives can be found in the “Safety instructions” leaflet supplied with each drive. Please read these installation instructions carefully as the procedure in this manual is a prerequisite for correct use of the product. Figures included are for illustration purposes only. The illustrations may differ from your product with in minor details and are provided for general information only. elero GmbH continuously strives to improve all products. As a result, the specifications, features and technology of this product may be changed at any time. The information provided is based on current information at the time of publication. Do not perform any modifications to the device.
No claims can be derived from the technical data, images and information provided in this manual.
Additional assembly instructions:
- Before installing the drive, all lines and equipment which are not required for operation must be deactivated.
- The rated torque and rated operating time must be suitable for the properties of the driven part (the blind).
Risk of injuries due to hot surfaces. The drive will heat up during operation, the drive casing can become hot. Skin burns are possible.
- Wear personal protection equipment (protective gloves).
- Venetian blind drives that are installed below 2.5 m above the floor or at another level that allows access to the drive must be installed so that direct contact with the drive or other components that heat up during operation is prevented e.g. by installing a cover.
Assembly
The drive is intended exclusively for horizontally right hand installation, whereby the lower end position is preset. Right-hand installation refers to the view from the outside of the building looking in, the cable outlet and front with marking (direction of movement symbol) are located on the right.
Mounting the safety cut-out
On the underside of the limit switch housing, insert the safety cut-out into the openings and clip it in. Check the safety cut-out is working. Any malfunctions may lead to damage.
If the safety cut-out is not long enough, it can be extended by 10 mm at a time with the safety cut-out extension (Accessories, article number 161014501) (attach max. 3 cut-out extensions).
Insert a small flat screwdriver into one of the notches on the orange cover and apply pressure to the blade towards the middle of the mushroom button, levering off the cover. Clip on the extension and then clip on the cover again.
Mounting the optional mushroom button extension
- Use the extended version of the mushroom button (accessories) instead of the original mushroom head push button. Clip this in/out to replace it.
Mounting the QuickSnap coupling
- Attach the coupling on the drive shaft so it is diagonal. Pay attention when doing so to the position of coupling and shaft. The retaining springs must slide on the top surface.
- Push on the coupling until the retaining spring audibly latches in the notch. Hold the drive shaft steady by pushing against it at the other end.
- Jerk the coupling to check whether it is held securely.
Dismantling the QuickSnap coupling
- Lift the retaining spring on the coupling using a suitable screwdriver and pull off the coupling.
Installation in venetian blind head rail
Note: Select the damper system according to the specified shaft height (see Accessories).
- Attach the damper on the drive or the head rail. Install the drive without pressure into the head rail so it is positioned correctly (mushroom button pointing down). Do not knock the drive, shaft or coupling. Do not load the drive shaft in radial direction.
- Note: Secure the drive from turning in the head rail using the countersunk screws and the optional clips.
- Insert the venetian blind shafts into the QuickSnap couplings in the correct position and secure them against slipping out.
After installation of the venetian blind, attach these instructions to the connecting cable for the electrician.

Electrical connection
All electrical work may only be carried out by authorised electricians according to the applicable rules and regulations of the trade association and the requirements laid out in DIN VDE 0100. Furthermore, the national legal regulations applicable in the respective country of use must be observed. Connect the electrical connection only when the power is turned off by de-energising the feeder and ensuring it cannot be switched on unintentionally. Persons failing to observe the requirements may be held liable for damage to property and personal injuries. Connect according to the following scheme while observing the following notes:
- Min. switchover delay 500 ms (voltage-free) in case of a change in direction of rotation due to locked buttons/ switches/control units.
- Parallel switching of several JA comfort-868 type drives is possible.
- Please note the maximum switching capacity of the control unit.
The use of non elero controls must be checked by the customer in each individual case.
2-wire radio mode
Plug drive cable assignment
| PE | Yellow/green protective conductor | ![]() |
| N | ① Neutral conductor/blue | |
| L open | ② Phase/black OPEN | |
| L close | ③ Phase/brown DOWN/CLOSE |
Terminal connection diagram

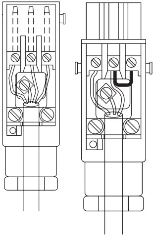
Plug and coupling with jumper (STAS3 / STAK3)


Distribution box with jumper 2-wire radio mode

Distribution box without jumper 1-wire radio mode

EU Declaration of Conformity
This product conforms to basic requirements and all other pertinent provisions in EU Directives. For the full declaration of conformity, see www.elero.com/downloads-service/
| Manufacturer’s address | Service |
| elero GmbH 73278 Schlierbach GERMANY www.elero.de | If malfunctions have occurred or the device has been damaged despite proper handling, please contact your contractor or dealer. |
2-wire radio mode Setting the end positions and the turning range Teaching the hand-held transmitter
The elero JA comfort-868 drive is in 2-wire radio mode as standard. This is compatible with the elero ProLine 2 radio system.
The procedure for the electrical connection and teaching of a transmitter with 2-wire radio mode essentially corresponds to the procedure familiar from elero RevoLine tubular motors with radio (RolTop-868, SunTop-868).
One difference (between RevoLine motors and JA comfort drives) is that the upper end position and the lower end position can only be set independently of one another.
Connection example
Connection to the electrical power supply (at customer) is by common electrical powering of the travel directions OPEN and DOWN/CLOSE.
Only in this way can the drive be in 2-wire radio mode. Required: jumper between OPEN and DOWN/CLOSED travel direction (in STAK3 or in distribution box).
Radio connection (transmitter operation)
- Connection at customer: Connect L open to OPEN and DOWN/CLOSE (jumper between L open and L close) to electrical network.
- Switch on mains. The drive travels upwards and downwards for a short time. The drive is in radio mode.
- Teaching or deleting the transmitter, fixing or deleting the blind positions: see instructions for the corresponding hand-held transmitter.
Connection for elero assembly cable
(see instructions for assembly cable 23 395 7701)
- Drive being powered via “OPEN” or “DOWN/CLOSE”
- Operation with coupling STAK 3 (without adapter cable and connection terminal in box) and rotary switch in right position.
- Switch on the power supply.
- Setting the end positions and turning range: see next page.
- If, after travel, “OPEN” and “DOWN/CLOSE” are pressed simultaneously, setting the end positions starts and the transmitter operation commences. After 9 seconds or after pressing the hand-held transmitter, setting the end positions is cancelled.
Changing from 2-wire radio mode to 1-wire radio mode with the assembly cable connected:
- Press and hold down one of the OPEN or DOWN/CLOSED buttons.
The drive starts up. - Within 0.5 s to 3 s, also press the travel button for the opposite direction twice in brief succession.
The drive stops. - Let go of both buttons.
Radio mode has been switched to 1-wire radio mode. - Remove the assembly cables.
- Make the electrical connection on the customer side (in distribution box or STAS3).
- Check the assignment of the travel directions.
1-wire radio mode | Setting the end positions and the turning range
1-wire radio mode Setting the end positions and the turning range Teaching the hand-held transmitter
Connection to the electrical power supply (on the customer side) by the individual (exclusively) electrical powering of the OPEN or DOWN/CLOSE travel direction.
The drive is always in radio mode (transmitter mode) regardless of whether it is powered via OPEN or DOWN/ CLOSE or via OPEN and DOWN/CLOSE. The 1-wire radio mode is also compatible with the elero ProLine 2 radio system.
Direct operation with an elero assembly cable is not possible here.
If required, change to 2-wire mode only after connecting the elero assembly cable (see further down). After completing the desired settings (programming blind positions, transmitter) return to 1-wire radio mode.
Connection for elero assembly cable
- Drive is powered via “OPEN” or “DOWN/CLOSE” via one of the cables a), b) or c)
a) Assembly cable 23 395.7702:
Operation with coupling STAK3 (without adapter cable and connection terminal in box) and rotary switch in right position.
b) Assembly cable 23 243.0002 with connection terminal
c) Assembly cable 23 246.0001 with STAK3 coupling - Setting the end postions and turning range: see next page
- If, after travel, “OPEN” and “DOWN/CLOSE” are pressed simultaneously, setting the end positions starts and the transmitter operation commences. After 9 seconds or after pressing the hand-held transmitter, setting the end positions is cancelled.
Changing from 1-wire radio mode to 2-wire radio mode with the assembly cable connected:
- Press and hold down one of the OPEN or DOWN/ CLOSED buttons.
The drive does not start up. - Within 0.5 s to 3 s, also press the travel button for the opposite direction twice in brief succession.
The drive starts up. - Let go of both buttons.
The radio mode has been switched to 2-wire radio mode. - Remove the assembly cables.
- Make the electrical connection on the customer side (in distribution box or STAS3 coupling).
- Check the assignment of the travel directions.
Radio connection (transmitter operation)
- Customer site connection: Connect L open to OPEN or DOWN/CLOSE or L close to OPEN or DOWN/CLOSE to the electrical network.
- Switch on mains.
The drive is in radio mode. - Teaching or deleting the transmitter, fixing or deleting the blind positions: see instructions for the corresponding hand-held transmitter..
Detection of radio mode 1-wire radio mode or 2-wire radio mode:
- If, on pressing the OPEN or the DOWN/CLOSED button on the connected assembly cable, the drive starts up, 2-wire radio mode is activated.
Setting the end positions and turning range
On initial commissioning, the drive is in delivery condition: Lower end position has been reached. Upper end position needs to be adjusted (see Setting upper end position). The end position and the turning range of the slats are set using the elero assembly cable or the programmed handheld transmitter (Programming an elero hand-held transmitter to an elero drive is described in the instructions for the respective transmitter).
Turning range of slats
- This is the range of movement in which the position of the slats is set at low speed. The standard setting is 270° based on the drive shaft.
- This can optionally be changed when setting the lower end position, at minimum 90° (first OPEN movement plus 1 increment), maximum 360°.
Setting end positions
Generally speaking only one end position (top or bottom) can be newly set, leading to the previous setting being deleted.
- If both the upper and the lower end position need to be set, the procedure needs to be carried out twice accordingly.
- On initial commissioning (lower end position reached, drive is in the setting mode for the upper end position), skip point 1 below and continue at point 2 depending on the upper limit stop required later on.
1. Alternative A with a elero assembly cable connected:
At a middle blind position, press the buttons OPEN and DOWN/CLOSED simultaneously and hold them down until the drive initiates a brief upward and downward motion.
Alternative B with a programmed elero handheld/ wall-mounted transmitter:
Start the programming mode by interrupting the power supply (Switch the fuse off and on again). In a time frame of 5 minutes, the same operating steps below are possible (Continuation from point 2)
Freely setting the upper end position without influence from the mushroom button
2. Press the OPEN button until the desired position is reached (drive starts up, stops briefly and continues).
3. Corrections are possible in inching mode using the OPEN and DOWN/CLOSE buttons. If the DOWN/CLOSE button is pressed down permanently, this position will be stored.
4. Press the DOWN/CLOSED button until the drive stops automatically.
The upper end position has been freely configured. Even if a mushroom button is present, no cyclical reference runs will be made.
5. Remove the assembly cable, make an electrical connection, check assignment of the travel directions.
Setting upper end position on the mushroom button
2. Press the OPEN button until the drive is stopped by the mushroom button (drive starts up, stops briefly and continues).
The upper end position is set and is at the position of the mushroom button. Cyclical reference runs are performed.
3. Remove the assembly cable, make an electrical connection, check assignment of the travel directions.
Technical data
Set the upper end position to the cover position *)
(with cyclical reference runs)
*) Cover position: at maximum 3 turns of the drive shaft
2. Press the OPEN button until the drive is stopped by the mushroom button (drive starts up, stops briefly and continues).
3. Press and hold down the OPEN button and the DOWN/ CLOSE button too until the desired position is reached. Let go of both buttons.
The upper end position is set and is located at the position in front of the mushroom button. Cyclical reference runs are performed.
When the cyclic reference runs are activated, the upper end position is automatically readjusted: in the 1st cycle, every 5 cycles up to the 20th cycle, every 10 cycles up to the 100th cycle, then every cycles.
4. Remove the assembly cable, make an electrical connection (open or down/closed), check assignment of the travel directions.
Setting the lower end position and the turning range to standard
2. Press the DOWN/CLOSE button until the desired position is reached (drive starts up, stops briefly and continues).
3. Corrections are possible in inching mode using the OPEN and DOWN/CLOSE buttons.
4. Press the OPEN button until the drive stops automatically.
The lower end position has been set. The turning range is set to 270° (standard).
5. Remove the assembly cable, make an electrical connection, check assignment of the travel directions.
Setting the lower end position and the turning range
2. Press the DOWN/CLOSE button until the desired position is reached (drive starts up, stops briefly and continues).
3. Corrections are possible in inching mode using the OPEN and DOWN/CLOSE buttons.
4. Press and hold down the OPEN button until the desired turning range is reached (slats open slightly to begin with and continue opening further in small increments after 2 seconds).
Corrections to the turning range in down/closed direction are not possible.
The lower end position has been set. The turning range is set.
5. Remove the assembly cable, make an electrical connection, check assignment of the travel directions.

| Technical data | JA 06 -868 comfort | JA 09 -868 comfort | JA 04/35 -868 comfort | JA 06/35 -868 comfort | JA 04/50 -868 comfort |
| Rated torque [Nm] | 6 | 9 | 4 | 6 | 4 |
| Rated speed | Slow travel [rpm] | 26 | 6 | 26 | 6 | 35 | 6 | 35 | 6 | 50 | 6 |
| Rated voltage [V] | 1 ~ 230 | 1 ~ 230 | 1 ~ 230 | 1 ~ 230 | 1 ~ 230 |
| Rated frequency [Hz] | 50 | 50 | 50 | 50 | 50 |
| Noiseless soft brake | |||||
| Rated current [A] | 0.50 | 0.68 | 0.50 | 0.68 | 0.68 |
| Rated power consumption [W] | 115 | 156 | 115 | 156 | 156 |
| Protection class I | |||||
| Limit switch range (revolutions) | 100 | 100 | 100 | 100 | 100 |
| Protection class (IP) | 54 | 54 | 54 | 54 | 54 |
| Operating time (min S2) | 5 | 4 | 5 | 4 | 4 |
| Transmission frequency [MHz] | 869.525 | 869.525 | 869.525 | 869.525 | 869.525 |
| Transmission power [W] | ≤ 500 | ≤ 500 | ≤ 500 | ≤ 500 | ≤ 500 |
| Length “a” [mm] | 139 | 154 | 139 | 154 | 154 |
| Length “b” [mm] | 243 | 258 | 243 | 258 | 258 |
| Weight [kg] | 1.60 | 1.95 | 1.60 | 1.95 | 1.95 |
| Ambient operating temperature [°C] | -20 to +60 | -20 to +60 | -20 to +60 | -20 to +60 | -20 to +60 |
| Connecting cable [m] with plug STAS3 and clip | 0.5 | 0.5 | 0.5 | 0.5 | 0.5 |
| Item number | 35 222.0001 | 35 232.0001 | 35 226.0001 | 35 236.0001 | 35 246.0001 |
elero GmbH
Antriebstechnik
Maybachstr. 30
73278 Schlierbach
[email protected]
www.elero.com
We reserve the right to make technical changes

















