RolMotion M-868 Roller Blind Drive Instruction Manual
Operating and assembly instructions
Follow these instructions for safe and proper use. Observe all assembly instructions. Incorrect assembly can lead to serious injuries. Please keep this operating manual for future reference to ensure that it can be accessed throughout the entire service life of the product!
The German operating manual is the original version.
All documents in other languages are translations of the original version.
All rights reserved in the case of patent, utility model or design registrations.
General information on these instructions
The content structure is based on the life cycles of the electric motor drive (hereinafter referred to as „the product“).
The manufacturer reserves the right to make changes to the technical data in these operating instructions. In some cases, this technical data may differ from those of the respective product version; however, the functional information will not undergo significant changes or become invalid. The current version of the technical specifications may be requested from the manufacturer at any time.
No claims may be asserted against the manufacturer as a result of this provision. Deviations from textual or visual statements may occur depending on the product’s technical development, features and accessories. Deviating information for special versions will be provided by the manufacturer in the sales documentation. Other information shall remain unaffected by these provisions.
Standards and guidelines
During construction, the fundamental health and safety requirements were applied and provision was made for the appropriate legislation, standards, directives and guidelines.
The safety of the product is confirmed by the declaration of conformity (see EC Declaration of Conformity). All information relating to safety in these operating instructions refers to the laws and regulations that are currently valid in Germany. All information in these operating instructions must be complied with at all times and without limitation.
In addition to the safety notes in these operating instructions, the regulations on accident prevention, environmental protection and occupational health and safety applicable at the location of use must be observed and adhered to. The regulations and standards for safety assessment can be found in the EC Declaration of Conformity.
Intended use
The product is intended for use in facade constructions as a drive for electrically powered roller shutters and blinds.
The elero calculation program is central to defining the drive. www.elero.com/en/downloadsservice/eleroapps/drive-calculation-program-app/
Other applications must be agreed upon in advance with the manufacturer, elero GmbH Antriebstechnik (see „Address“).
The plant operator shall be solely responsible for any damages arising from the improper use of this product. The manufacturer cannot be held liable for personal or material damages caused by misuse or procedural errors, nor by improper operation or commissioning.
The product may only be operated by instructed and authorised specialist personnel while observing all safety notes.
The safe and error-free use and operational reliability of the product are only guaranteed when it is used properly according to the specifications contained in these operating and assembly instructions.
Only use radio receivers with equipment and units approved by the manufacturer. The operator has no protection whatsoever from interferences by other radio emitters and local terminals (e.g. also from radio systems), that are normally used on the same frequency range. Radio systems must not be operated in areas with an increased risk of interference (e.g. hospitals, airports). The radio control is only permitted for devices and units with which a functional interference in hand-held/wall transmitters or receivers poses no danger for persons, animals or materials or where this risk is covered by other safety appliances.
Use according to its intended purpose includes the observation and compliance of all safety instructions contained in these operating instructions as well as all valid trade Accident Insurance regulations and valid laws on environmental protection. Use according to its intended purpose also includes the compliance with all prescribed operating regulations in these operating and assembly instructions.
Foreseeable misuse
Any use that deviates from the intended use as stated by the manufacturer, elero GmbH Antriebstechnik (see „Address“) is deemed as foreseeable misuse.
Warranty and liability
The General Terms and Conditions of the manufacturer, elero GmbH Antriebstechnik, apply at all times (see „Address“). The conditions of sale and delivery are included in the sales documents and shall be presented to the plant operator upon delivery. Any liability claims for personal or material damages are excluded when they can be attributed to one or more of the following causes:
- Opening the product by the customer
- Improper use of the product
- Improper installation, commissioning or operation of the product
- Structural modifications to the product without the written consent of the manufacturer
- Operation of the product with improperly installed connections, defective safety devices or improperly installed safeguards
- Failure to observe the safety regulations and information presented in these operating instructions
- Failure to observe the specified technical data
Customer service provided by the manufacturer
In the event of a fault, the product may only be repaired by the manufacturer. The address for sending the product to Customer Service can be found in the Section
„Address“. If you did not purchase the product directly from elero, please contact the supplier of the product.
Safety
General safety instructions
General safety instructions for use of tubular drives can be found in the „Safety instructions“ leaflet supplied with each drive (leaflet article number 138200001). These operating and assembly instructions contain all the safety information that must be observed in order to avoid and prevent danger when working with the product in the individual life cycles.
When all specified safety instructions are complied with, safe operation of the device is guaranteed.
Layout of safety instructions
The safety instructions in this document are marked using hazard and safety symbols and are designed according to the SAFE principle. They contain information on the type and source of the danger, possible consequences and on avoiding danger.
The following table defines the representation and description of hazard levels with possible physical damage as used in these operating instructions.
| Symbol | Signal word | Meaning |
| DANGER | Warns about an accident that will occur if the instructions are not followed, which canlead to fatal, irreversible injuries or death. | |
| WARNING | Warns about an accident that may occur if the instructions are not followed, which can lead to serious, possibly fatal, irreversible injuries or death. | |
| CAUTION | Warns about an accident that can occur if the instructions are not followed, which canlead to slight, reversible injuries. |
Fig. 1 Notation for personal injuries
The table below describes the pictograms used in these operating instructions to illustrate the hazard situation in relation with the symbol for the hazard level.
| Symbol | Meaning |
| Danger caused by electrical voltage, electric shock:This symbol indicates dangers due to electric current. |
Fig. 2 Notation for specific danger
The table below defines the representation and description of situations used in these operating instructions for situations in which damage can occur to the product or indicates important facts, conditions, tips and information.
| Symbol | Signal word | Meaning |
| ATTENTION | This symbol warns against possible damage to property or equipment. | |
| IMPORTANT | This symbol indicates important facts and states as well as referring to further information in these operating and assembly instructions.It also refers to certain additional instructions, which provide additional information or help you to carry out a procedure more simply. | |
![]() | Symbol indicating successful grounding with protection class I ( Protective conductor system) |
Fig. 3 Notation for damage to property and additional information
The following example illustrates the basic structure of a safety note:
SIGNAL WORD
Type and source of danger
Explanation of type and source of danger
- Measures to avoid the danger
Product description
The RolMotion M-868 is a radio-controlled electromechanical tubular drive for roller shutters, interior roller blinds and insect screens. During operation, it executes radial movements.
Commissioning of the RolMotion M-868 with elero assembly cable or radio transmitter for setting various functions.
- Blind protection with free travel (torque limiting).
- Standstill detection (simple obstacle detection) of drive shaft.
- Relief function for the blind (blind protection).
- Cyclical reference runs compensate for changes in the winding behaviour of the roller blind slats.
- In addition to the usual travel profile (travel profile standard), the RolMotion M-868 drive also has a reduced-speed travel profile (travel profile motion).
- Slow travel when lowering the roller blind slats.
- Slow travel with timed and light-triggered release.
Product contents
Drive with safety instructions and operating instructions and any additional components and accessories according to the order confirmation or delivery note.
Accessories
Connection and assembly cable, adapter sets, motor bearing, ProLine control units, sensors, receivers.
Assembly
WARNING
Important safety instructions
Observe all assembly instructions. Incorrect assembly can
lead to serious injuries.
- Commissioning of the RolMotion M-868 with elero assembly cable for setting various functions.
- Before installation, all cables and components that are not required and all facilities that are not needed for operation with a power drive are to be disabled.
- The required components are: drive, connection and assembly cable, motor bearing, adapter sets, if necessary rigid shaft connectors, sensors, control devices, receivers.
- If components are not delivered with the drive, these can be identified via our catalogue „Drives and control units for intelligent building technology“ in the relevant valid version. Further details can be found on our website under „Contact – dealer search“ and „Contact – contact persons for specialist companies“.
- The rated torque and rated operating time must be suitable for the properties of the driven part (the blind).
- The coupling of the drive with the powered part is described in the section „Mechanical fastening“.
CAUTION
Risk of injuries due to hot surfaces.
The drive will heat up during operation, the drive casing can become hot. Skin burns are possible.
- Wear personal protection equipment (protective gloves). Triggered by a possible material fault, knocks or impact injuries may arise due to a gear fracture, burring fracture or a coupling defect.
- Suitable materials have been used for the engineering design and random sample testing by means of a double load test has been performed in accordance with DIN EN 60335-2-97.
Risk of injury due to knocks or impact triggered by motor bearings that are incorrectly mounted or engaged. Hazard due to insufficient stability or steadiness and accumulated energy (gravity).
- Selection of motor bearing by torque specifications.
- The drive must be protected with all the enclosed safety devices.
- Check for correct engagement on motor bearing and the correct screw tightening torques.
WARNING
Risk of injury due to electric current.
Risk of electric shock.
►Always have electrical work carried out by an authorised electrician.
Risk of injury due to electric current.
Possible danger due to parts that are faulty becoming energised.
►Electrical connection is described in the operating and assembly instructions, including cable routing.
CAUTION
Risk of injury due to malfunctions as a result of incorrect assembly.
Drive is overwound and may destroy parts of the application.
- For safe operation, the end positions must be set/taught in.
- Manufacturer training is available for specialist companies.
NOTICE
Power failures, breaking of machine parts and other malfunctions.
- For safe operation, assembly must be correct and the end position adjustments will have to be carried out upon commissioning.
Damage to RolMotion M-868 due to ingress of moisture
- On devices with protection class IP 44, the ends of all cables or plugs will need to be protected from ingress of moisture. This measure needs to be implemented immediately after removing the RolMotion M-868 from the original packaging.
- The drive must be installed in such a way that it cannot get wet.
Important
In its delivery condition (factory setting), the RolMotion M-868 will be in commissioning mode.
- The end positions will need to be set (see section 5.6).
Optimal use of the radio signal.
- Extend the antenna as far as possible. If reception is poor, adjust the antenna.
- Do not kink, shorten or extend the antenna.
- Do not position the two radio drives closer than the minimum distance of 15 cm
Mechanical fastening
Important preliminary consideration:
The working area around the installed drive is usually very small. For this reason, obtain an overview of how the electrical connection has been implemented prior to the mechanical installation (see section 5.2) and make the necessary changes beforehand.
NOTICE
Crushing or tension will damage the electrical cables.
- Install all electrical cabling so that it is not subject to any crushing or tensile load
- Observe the bending radii of cables (at minimum 50 mm).
- Route connecting cables in a downward loop to prevent water running into the drive.
Damage to the drive due to the effect of impact forces.
- Slide the drive into the shaft. Never knock the drive in or use force!
- Take care not to drop the drive!
Damage or destruction to the drive by drilling.
- Never drill the drive!
Important
Only fasten the RolMotion M-868 to the designated fastening elements.
Fixed installed control devices need to be attached so they are visible.
- The blind must be attached to the winding shaft.
- The profile tube must have sufficient clearance from the motor tube.
- Make sure there is sufficient axial play (1 – 2 mm) Installation in profile tubes
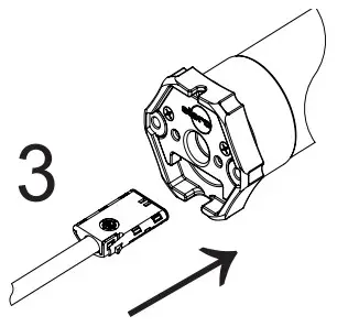
Ⓐ Push drive with relevant adapter and crown into the profile tube. Install the motor cable so it is protected to prevent damage from the driven part.
Ⓑ Secure the counterpart support to prevent axial movement, e.g. screw or rivet on the idler. Secure the drive axially in the support!
Ⓒ Attach the blind to the shaft.
Only operate the drive horizontally, as intended, with the connection cable leading out from the side and out of the blind winding area.
Electrical connection
WARNING
Faulty electrical connections constitute a fatal hazard.
Risk of electric shock.
- Prior to initial commissioning, check the PE wire is correctly connected.
NOTICE
Damage to the RolMotion M-868 due to incorrect electrical connection.
- Prior to initial commissioning, check the PE wire is correctly connected.
Ingress of moisture will damage or even destroy the
RolMotion M-868.
- For devices with protection class IP 44, the customerside connection of the cable ends or plugs (cable feedthrough) can also be implemented according to protection class IP 44.
Damage or destruction of the RolMotion M-868 for variants with 230 V ~ due to incorrect activation.
- Switches with an OFF presetting (dead-man’s switches) for drives are to be attached within visible range of the RolMotion M-868 but away from spontaneously moving parts and at a height of more than 1.5 m.
Connect only in de-energised state. To do this, switch the drive cable so it is de-energised.
- Press locking mechanism on the motor cable plug towards the cable using a suitable screwdriver.
- Pull out the plug.
- Insert the motor cable plug until the lock engages.
| Removing and inserting the motor cable plug | ||
| Delivery condition | Removing plug | Inserting plug |
![]() | ![]() | ![]() |
Fig. 4 Removing and inserting the motor cable plug
Connection example for RolMotion M-868 230 V / 50 Hz

Fig. 5 Connection diagram RolMotion M-868 230 V / 50 Hz and cable assignment when using Hirschmann plug connection STAS-3 (with jumper)
Commissioning
Important
The drive is in commissioning mode when delivered.
- The end positions must be adjusted using the elero assembly cable (see Fig. 6) or an elero wall or hand held transmitter (see Fig. 7).
- The assembly cable may only be connected to commission the drive and for adjustment operations
Connection for assembly cable

Fig. 6 Connection for assembly cable
- Switch on mains.
- You can now set the end positions with the elero assembly cable.
Radio connection (transmitter operation)

Fig. 7 Radio connection (transmitter operation)
- Connect cable wires „UP“ and „DOWN/CLOSE“ together to phase L (outer conductor).
- Switch on mains. The drive buzzes and travels upwards and downwards for a short time.
The drive is in radio mode.
Teaching or deleting the transmitter, fixing or deleting the blind positions: see instructions for the corresponding handheld transmitter.
Operation in non-radio mode
Important
If the drive is to be operated in non-radio mode, follow the instructions for the RolMotion M (article no. 138251001).
Setting the end positions
Important
To use travel profiles, the upper and lower end positions must first be set. First program the upper end position, then the lower end position.
As long as the direction of travel does not have the correct logical assignment, the upper end position actually corresponds to the lower end position.
The end positions are set alternatively
- using the elero assembly cable (correct connection according to Chapter 5.5.1) or
- using a programmed transmitter. (To program a transmitter, see Chapter 5.7.)
Changing/deleting the end positions
It is not possible to change or delete individual end positions. This is always done in pairs (upper and lower end position simultaneously).
Before you can change or delete the end positions, the power supply must first be interrupted.
After a brief disconnection from the power supply, the end positions can be deleted within 5 minutes.
| Changing/deleting the end positions | |
| 1 | Restore the power supply after the mains have beenswitched off. |
| 2 | Starting from a central blind position, use the assem- bly cable or a programmed transmitter to simultane- ously press both direction buttons [UP ▲]+[DOWN/ CLOSE ▼], and hold them down until the drive briefly moves up and down. |
| The end position settings have been deleted. The end positions may be readjusted. | |
Four variants of end position settings
Four different end position settings are possible. These can be clearly selected according to the technical requirements of the blind.
| End position settings (4 variants) | possible with | |
| A | Upper and lower end position freely adjustable | Suspension spring, tapes, belt |
| B | Fixed upper limit stop, lower end position freely adjustable | T-straps, tapes, belt, limit plugs, angle bracket |
| C | Fixed upper and lower limit stop | Anti push-up device, rigid shaft connectors, limit plugs, angle bracket |
| D | Upper end position freely adjustable, fixed lower limit stop | Anti push-up device, tapes, rigid shaft connectors |
Important
When programming an end position to the limit stop, the relief function for the blind is activated automatically. The blind always remains resting on the limit stop in an unstrained position.
If the blind is programmed with a fixed limit stop, reference runs are performed. Initially upon the first travel run, then cyclically later. During reference runs, the blind moves to the limit stop and then relieves itself of any strain.
The blind protection system is only adapted to the blind after a complete, uninterrupted upwards and downwards travel.
Variant A: Upper and lower end position freely adjustable
Variant A:
Upper and lower end position freely adjustable
- Starting from a central blind position, press the [UP ▲] button with the assembly cable or a programmed transmitter until the blind reaches the desired upper end position. The drive begins to travel, briefly stops and travels further (for as long as the [UP ▲] button remains pressed). You can make corrections using the [UP ▲] and [DOWN/CLOSE ▼] buttons.
- Press the [DOWN/CLOSE ▼] button until the drive stops automatically. The upper end position has been set.
- Press the [DOWN/CLOSE ▼] button again until the blind has reached the desired end position. The drive begins to travel, briefly stops and travels further (for as long as the [DOWN/CLOSE ▼] button remains pressed). You can make corrections using the [UP ▲] and [DOWN/CLOSE ▼] buttons.
- Press the [UP ▲] button until the drive stops automatically. By default, the lower end position has been set. Non-standard setting for placement of the blind slats at the lower end position: See chapter 5.6.
Adjustment of the variant A end position is complete.
Variant B: Fixed upper limit stop, lower end position freely adjustable
Variant B: Fixed upper limit stop, lower end position freely adjustable
- Starting from a central blind position, press the [UP ▲] button with the assembly cable or a programmed transmitter until the blind has reached the upper end position (travels to the upper limit stop). The drive begins to travel, briefly stops and travels further (for as long as the [UP▲] button remains pressed). The drive switches off automatically when the upper limit stop is reached.
- Press the [DOWN/CLOSE ▼] button until the drive stops automatically. The upper end position has been set.
- Press the [DOWN/CLOSE ▼] button again until the blind has reached the desired lower end position. The drive begins to travel, briefly stops and travels further (for as long as the button remains pressed). You can make corrections using the [UP ▲] and [DOWN/CLOSE ▼] buttons.
- Press the [UP ▲] button until the drive stops automatically. By default, the lower end position has been set. Non-standard setting for placement of the blind slats at the lower end position: See chapter 5.6.
Adjustment of the variant B end position is complete.
Variant C: Fixed upper and lower limit stop
Variant C: Fixed upper and lower limit stop
- Starting from a central blind position, press the [UP ▲] button with the assembly cable or a programmed transmitter until the blind has reached the upper end position (travels to the upper limit stop). The drive begins to travel, briefly stops and travels further (for as long as the [UP ▲] button remains pressed). The drive switches off automatically when the upper limit stop is reached.
- Press the [DOWN/CLOSE ▼] button until the drive stops automatically. The upper end position has been set.
- Press the [DOWN/CLOSE ▼] button again until the blind has reached the desired end position (travels to the lower limit stop). The drive begins to travel, briefly stops and travels further (for as long as the [DOWN/CLOSE ▼] button remains pressed). The drive switches off automatically when the lower limit stop is reached.
- Press the [UP ▲] button until the drive stops automatically. By default, the lower end position has been set. Non-standard setting for placement of the blind slats at the lower end position: See chapter 5.6.
Adjustment of the variant C end position is complete.
Variant D: Upper end position freely adjustable, fixed lower limit stop
Variant D: Upper end position freely adjustable, fixed lower limit stop
- Starting from a central blind position, press the [UP ▲] button with the assembly cable or a programmed transmitter until the blind reaches the desired upper end position. The drive begins to travel, briefly stops and travels further (for as long as the button remains pressed). You can make corrections using the [UP ▲] and [DOWN/CLOSE ▼] buttons.
- Press the [DOWN/CLOSE ▼] button until the drive stops automatically. The upper end position has been set.
- Press the [DOWN/CLOSE ▼] button again until the blind has reached the desired end position (travels to the lower limit stop). The drive begins to travel, briefly stops and travels further (for as long as the [DOWN/CLOSE ▼] button remains pressed). The drive switches off automatically when the lower limit stop is reached.
- Press the [UP ▲] button until the drive stops automatically. By default, the lower end position has been set. Non-standard setting for placement of the blind slats at the lower end position: See chapter 5.6.
Adjustment of the variant D end position is complete.
Placement of the roller blind slats
For slow lowering of the roller shutter bars, a standard travel path is set after setting the end positions.
It is possible to change this position when the end positions have been programmed:
- After the blind starts to rise from the lower end position, hold down the [UP▲] button until the drive starts to move further up after approx. 2 seconds. As soon as the lowest blind slat is raised from the lower limit stop, release the [UP▲] button. This is now the position from which slow downward travel commences.
Program the transmitter
Important
Precondition: The drive must be in radio operation mode.
►If the end positions have not been programmed, remove the blind from the winding shaft.
Programming the first transmitter
| Programming the (first) transmitter | ||
| Operating procedure | Result | |
| 1 | Switch the power off andon again | The drive is in learning mode for approximately5 minutes. |
| 2 | Press the programming button P on the transmitter to be programmed for approximately 1 second. | The status display lights up. The drive is now in learning mode (up/down travel) for approximately2 minutes. |
| 3 | Immediately (maximum1 second) after the start of upward travel, press the [UP ▲] button. | The status display lights briefly. The blind stops briefly, starts moving again and then moves downwards. |
| 4 | Immediately (maximum1 second) after the start of downward travel, press the [DOWN/CLOSE ▼] button. | The status display lights briefly. The drive will stop. |
| The (first) transmitter is now programmed. | ||
Programming additional transmitters
Up to 16 transmitters can be programmed.
| Programming additional transmitters | |
| Operating procedure | Result |
| On an already programmed transmitter, hold down | The status display lights up. |
| the buttons [UP ▲] + | The drive is in |
| [DOWN/CLOSE ▼] + [P] | learning mode for |
| (programming button) | approximately |
| simultaneously for | 5 minutes. |
| approximately 3 seconds. | |
| (alternative to the previous line)Switch the power off andon again | The drive is in learning mode for approximately5 minutes. |
| On the (additional) transmitter to be | The status displaylights briefly. The drive |
| programmed, press the | is in learning mode |
| programming button [P]. | (up/down travel) for |
| approximately | |
| 2 minutes. | |
| Programming additional transmitters | ||
| Operating procedure | Result | |
| 3 | On the (additional) transmitter to be program med, press the [UP ▲] button immediately (within 1 second) after the blind starts moving upwards. | The status display lights briefly. The blind stops briefly, starts moving again and then moves downwards. |
| 4 | On the (additional) transmitter to be program med, press the [DOWN/ CLOSE ▼] button immediately (within 1 second) after the blind starts moving downwards. | The status display lights briefly. The drive will stop. |
| The additional transmitter is programmed. | ||
Stop bidirectional wireless mode:
Hold down the [STOP ■] button for at least 6 seconds until the status display lights up (depends on transmitter).
Deleting the radio connection between ransmitters and receivers
Refer to the respective instructions for the transmitter.
Programming or deleting further blind positions
- Intermediate position: Blind at any position between upper and lower end position.
| Defining the interim position in the receiver | Approaching the intermediate position | Deleting the intermediate position |
| Prerequisite: The blind is in the upper end position.Press the [DOWN/ CLOSE ▼] button until the desired intermediate position is reached. Additionally press the [STOP ■] button.The blind will stop. The status LED lights up briefly.The intermediate position is now stored. | Prerequisite: The intermediate position is defined.• Double click the [DOWN/CLOSE ▼] button twice (in quick succession): Blind moves to the saved intermediate position.If no intermediate position has been defined, the blind moves to the lower end position. If an intermediate position is to be controlled for several receivers simultaneously, the receivers must be programmed on one channel (single channel). | • Hold down the buttons [DOWN/ CLOSE ▼]+ [STOP ■]simultaneously for approximately 3 seconds.The intermediate position is now deleted. The status LED lights up briefly. |
- Ventilation position:
Ventilation gaps for application of the roller blinds open
| Defining the ventilation position in the receiver | Approaching the ventilation position | Deleting the ventilation position |
Prerequisite: The blind is in the lower end position.
The blind will stop. The position of the ventilation is now saved. | Prerequisite: Position of the ventilation is defined.
If no ventilation position is defined, the blind moves to the upper end position. |
▲]+[STOP ■] buttons simultaneously for approximately 3 seconds.The position of the ventilation is now deleted. |
Travel profiles
The RolMotion M-868 drive has the two travel profiles default mode and whisper mode
| Default mode | Whisper mode |
| Travels at high speed except before the end positions. The roller blind slats are lowered slowly. | Travel the full path at a reduced speed |
Activation in down direction of travel:
| Activation in down direction of travel:
|
Activation in up direction of travel:
| Activation in up direction of travel:
|
Switching to travel profilewhisper mode:
| Switching to travel profiledefault mode:
|
| The drive responds to the timer functions of programmed controllers (TempoTel 2, AstroTec, MultiTec Touch, Centero Home). | |
The drive responds to commands fromprogrammed sensors:
|
The travel profile whisper mode is not available during the „Setting the end positions“ operatio
Troubleshooting
| Problem / Error | Possible cause | Remedial action |
|
|
|
|
|
|
new travel command and stops after a short travel |
|
|
|
|
|
|
|
|
|
|
is pressed on the elero assembly cable or on a programmed transmitter). |
|
|
|
Fig. 8 Troubleshooting the RolMotion M-868
Servicing
The RolMotion M-868 is maintenance-free.
Service/manufacturer’s address
If malfunctions occur or the device is damaged despite correct handling, contact your contractor.
elero GmbH
Drive technology
Maybachstr. 30
73278 Schlierbach,
Germany
Deutschland / Germany
Tel: +49 7021 9539-0
Fax: +49 7021 9539-212
[email protected]
www.elero.com
Please visit our website if you require a contact partner outside Germany.
Repairs
Please contact your specialist if you have any questions. Please always provide the following information:
- Item number and designation on the type plate
- Type of fault
- Accompanying conditions
- Your own theories regarding the cause of the problem
Disassembly and disposal
After unpacking, dispose of the packaging in accordance with the valid regulations.
Dispose of the product in accordance with the relevant regulations when you no longer need it. Disposal is partially subject to applicable legal regulations. Bring the product to be disposed of to authorised collection points only.
Environmental information
No superfluous packaging materials have been used.
The packaging can be easily separated into three material types: cardboard (box), polystyrene (padding) and polyethylene (bag, protective foam).
The device is made of materials that can be reused if dismantled by a specialist company. Please note the local regulations on disposal of packaging materials and old appliances.
On disassembly, additional dangers must be reckoned with, which do not occur during operation.
Before disassembling the drive, the system is to be mechanically secured. The drive must not be forcibly disconnected from the system.
WARNING
Risk of injury due to electric current.
Risk of electric shock
- Separate power supply cables physically and discharge any energy accumulators still charged. After switching off the device, wait at least 5 minutes so that the motor can cool down and the voltage can be discharged from the capacitors.
- During disassembly work above head height, use suitable, inspected and structurally stable climbing aids.
- Work on the electrics may only be performed by personnel described in the section „Safety notes on electrical installation“.
Removal for scrap
The international, national and regional laws and regulations prevailing at the time of scrapping the product must be observed.
Ensure that materials and components are recycled, dismantled and separated properly in addition to observing the environmental and health hazards relating to recycling and disposal.
CAUTION
Environmental damage in case of incorrect disposal
- Electrical scrap and electronic components must be handled as special waste and may only be disposed of by approved specialist companies.
- Groups of materials such as various types of plastics and metals must be separated before recycling/disposal.
Disposal of electrical and electronic components
The disposal and recycling of electrical and electronic components must be carried out in accordance with the relevant laws and national regulations.
Comments on EU Declaration of Conformity
elero GmbH hereby declares that the RolMotion M-868 tubular drive is in compliance with all applicable regulations of Machinery Directive 2006/42/EC and the Directive 2014/53/EU. The full text of the EU Declaration of Conformity is available at the following Internet address: www.elero.com/en/downloads-service/
Technical data and dimensions
The technical data specified is subject to tolerance factors (according to applicable standards) and refer to an ambient temperature of 20 °C.
RolMotion M-868
| Size / Type | M6-868 | M10-868 | M20-868 | M25-868 |
| Rated torque [Nm] | 6 | 10 | 20 | 25 |
| Rated speed default mode [1/min] | 14 | 14 | 14 | 14 |
| Rated speed whisper mode [1/min] | 5 | 5 | 5 | 5 |
| Rated voltage [V] | 1 ~ 230 | 1 ~ 230 | 1 ~ 230 | 1 ~ 230 |
| Rated frequency [Hz] | 50 | 50 | 50 | 50 |
| Noiseless soft brake | ■ | ■ | ■ | ■ |
| Rated current [A] | 0.4 | 0.5 | 0.8 | 1.1 |
| Rated power consumption [W] | 92 | 115 | 153 | 184 |
| Shaft diameter [mm] | 50 | 50 | 50 | 50 |
| Degree of protection (IP-Code) | 44 | 44 | 44 | 44 |
| Limit switch range (revolutions) | 70 | 70 | 70 | 70 |
| Operating time (min. S2) | 10 | 10 | 10 | 5 |
| Radio frequency [MHz] (band) | 868 | 868 | 868 | 868 |
| Transmission power [mW] | [dBm] | ≤ 500 | ≤ 10 | ≤ 500 | ≤ 10 | ≤ 500 | ≤ 10 | ≤ 500 | ≤ 10 |
| Length C [mm] | 466 | 466 | 527 | 556 |
| Length D [mm] | 449 | 449 | 510 | 539 |
| Length E [mm](elero, round head, star head) | 14 | 12 | 19 | 14 | 12 | 19 | 14 | 12 | 19 | 14 | 12 | 19 |
| Weight [kg] | 1.7 | 1.7 | 2.1 | 2.5 |
| Ambient operating temperature [°C] | -20 to 60 | -20 to 60 | -20 to 60 | -20 to 60 |
Protection class ![]() | ■ | ■ | ■ | ■ |
| Conformity , | -, – | -, – | -, – | -, – |
| Plug-in connecting cable [m] | 2,0 | 2,0 | 2,0 | 2,0 |
| Article no. (elero, RH round head, SH star head) | 44 302.000148 302.000149 302.0001 | 44 222.000148 222.000149 222.0001 | 44 232.000148 232.000149 232.0001 | 44 242.000148 242.000149 242.0001 |
Technical data and dimensions





















