ESTES 9702 Partizon Pro Series II Vander-Burn Clone Flying Model Rocket Kit

Product Information
The PartizonTM 9702 is an advanced level rocket kit designed for users aged 18 and above. It comes with various supplies and materials including scissors, fine sandpaper, carpenter’s glue, modeling knife, masking tape, primer (white), and paints in white,red, and purple.
The kit includes the following parts:
- A – 1 Motor Mount Tube
- B – 1 Green Spacer Ring
- C – Motor Retainer Set
- D – E – Slotted Body Tube
- F – G – H – I – Body Tube
- J – 2 Launch Lugs
Product Usage Instructions
Assembly of Body
- Push C over L to enlarge diameter.
- Tack glue B to A. Remove C.
- Remove C.
- Apply glue to all joints.
- Apply glue fillets to all F.
- Apply glue inside I. Let dry.
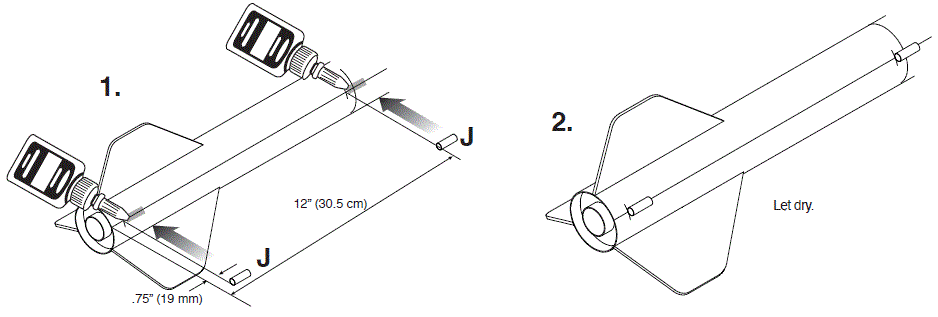
Launch Lug Assembly
- Attach E to the body tube.
- Insert J into E.
Sanding and Painting
- Sand for fit.
- Optional: Paint the rocket using the provided paints (white and purple).
Installation of Motor
- Insert the motor into the motor mount tube.
- Tighten the motor cap.
Pre-Launch Check
Before launching the rocket, perform a pre-launch check to ensure its safety. Inspect the body, nose cone, fins, motor mount,recovery system, and launch lug(s).
MODEL ROCKET INSTRUCTIONS
KEEP FOR FUTURE REFERENCE
IMPORTANT: Please record date found on decal and keep for future reference.
Assembly Tip: Read all instructions. Make sure you have all parts and supplies. Test fit all parts before applying glue. Sand as necessary for precision assembly. Product color and shape may vary.
SUPPLIES

Part Description

| Part | Qty | Description | Part Number |
| A | 1 | Motor Mount Tube | 031360 |
| B | 3 | Plywood Centering Rings | 066475 |
| C | 1 | Green Spacer Ring | 031361 |
| D – E | 1 | Motor Retainer Set | 072412 |
| F | 3 | Plywood Fins | 066474 |
| G | 1 | Slotted Body Tube | 085865 |
| H | 2 | Tube Coupler | 030189 |
| I | 2 | Body Tube | 031390 |
| J | 2 | Launch Lugs | 038181 |
| K | 1 | Optional Motor Block | 031362 |
| L | l | Shock Cord | 038378 |
| M | 1 | Nylon Parachute | 035814 |
| N | 1 | Plastic Nose Cone | 072413 |
| 1 | Shock Cord Mount (not shown) | 084446 | |
| 1 | Waterslide Decal (not shown) | 066476 |
ASSEMBLE MOTOR MOUNT

MOTOR MOUNT INSTALLATION

ASSEMBLE BODY

LAUNCH LUG ASSEMBLY

MOTOR RETENTION

OPTIONAL

K can be glued in place if motor block is required.
INSTALL SHOCK CORD

ROCKET FINISHING
Spray rocket with white primer, let dry & sand. Repeat until rocket is smooth, then paint. Apply decals after paint is dry.
OPTIONAL: Clear coat entire rocket when paint dries.

Note: All pin stripes are optional.
PREPARE RECOVERY SYSTEM

PREPARE FLIGHT RECOVERY
NOTE: Recovery wadding and parachute must slide easily into body tube. If too tight, redo.

NOTE: Only Estes Recovery Wadding Recommended.
INSTALL MOTOR

PREPARE MOTOR

Recommended Motors:
29mm Composite:
F26-6FJ, F50-6T, G40-7W, G80-7T Estes Pro-Series II™ Engines: F15-4
NOTE
When using Estes 29mm Engines, you must wrap the end of the engine with masking tape to create a lip or install the NOTE provided engine block (K). For more information, go to www.estesrockets.com
WARNING: FLAMMABLE
To avoid serious injury, read instructions & NAR Safety Code included with engines. PREPARE YOUR ENGINE ONLY WHEN YOU ARE OUTSIDE AT THE LAUNCH SITE PREPARING TO LAUNCH! If vou do not use your prepared engine, remove the igniter before storing your engine.
PRECAUTIONS
PRE-LAUNCH CHECK For safety, never launch a damaged rocket. Check the rocket’s body, nose cone and fins. Also, check the motor mount, recovery system and launch lug(s). Repair any damage before launching the rocket.
FLYING YOUR ROCKET Choose a large field (1000 ft. [305 m] square) free of dry weeds and brown grass. The larger the launch area, the better your chance of recovering your rocket. Football fields and playgrounds are great. Launch only with little or no wind and good visibility. Always follow the National Association of Rocketry (NAR) SAFETY CODE. MISFIRES TAKE THE KEY OUT OF THE CONTROLLER. WAIT ONE MINUTE BEFORE GOING NEAR THE ROCKET! Disconnect the igniter clips and remove the motor. Take the plug and igniter out of the motor. If the igniter has burned, it worked but did not ignite the motor because it was not touching the propellant inside the motor. Put a new igniter all the way inside the motor without bending it. Push the plug in place. Repeat the steps under Countdown and Launch.
© 2023 Estes Industries, LLC • All Rights Reserved Estes Industries, LLC • 1295 H Street, Penrose, CO 81240-9698 • Made in Guangdong, China

















