ESTES 1225 Alpha Rocket Instruction Manual
KEEP FOR FUTURE REFERENCE
IMPORTANT: Please record date found on decal and keep for future reference.
READ ALL INSTRUCTIONS. Make sure you have all parts and supplies. Test fit all parts before applying glue. Sand as necessary for precision assembly. Product color and shape may vary. /
SUPPLIES
- SCISSORS

- PENCIL

- RULER

- FINE SANDPAPER

- CARPENTER’S GLUE

- HOBBY KNIFE

- MASKING TAPE

- PRIMER (WHITE)

- PAINT (WHITE)

- PAINT (RED)

- PAINT (BLUE)

- A 030408
Engine mount tube
- B 035021
Engine hook
- C 030165-2
Adapter ring
- D 035801
Parachute
- E 030360
Body tube
- F 032210
Laser cut fins
- G 071028
Nose cone
- H 038367
Shock cord
- I 038175
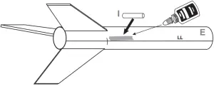
Launch lug
037508A
Self-stick decal (not shown)
TUBE MARKING GUIDE & SHOCK CORD MOUNT

Make a copy if you want to keep instructions.
PREPARE FINS
- Sand both sides

- ROUND LEADING EDGES

-

ASSEMBLE ENGINE MOUNT
MARK TUBE

NOTE: Cut from above.- CLEAR TAPE

- REAR

- Remove guide. Use door frame to extend all lines.

-

ATTACH FINS
- Apply thin layer of glue. Let dry 1 minute. Apply second layer.


- Repeat for all fins.

- Check alignment. Let dry.

ATTACH LAUNCH LUG
-

-

- Let dry
INSTALL ENGINE MOUNT


- Let dry
y
NOTE: Fins removed for clarity.
INSTALL SHOCK CORD

NOTE: Cut from page 2.

- Hold until set

- Hold until set. Let dry.

ROCKET FINISHING

Spray rocket with white primer, let dry & sand. Repeat until rocket is smooth, then paint. Apply decals after paint is dry.
NOTE: Please refer to packaging for suggested paint scheme and/or decal placement.
PREPARE RECOVERY SYSTEM
-

NOTE: Do not cut off eyelet. -

-



-

PREPARE FLIGHT RECOVERY
-

NOTE: Only Estes Recovery Wadding recommended. -

-

-

- Wrap lines loosely.

NOTE: Recovery wadding and parachute must slide easily into body tube. If too tight, redo.
PREPARE ENGINE
- Use 1 each.

- ENGINE

TIP MUST TOUCH PROPELLANT!
-

-

-

-

WARNING: FLAMMABLE
To avoid serious injury, read instructions & NAR Safety Code included with engines. PREPARE YOUR ENGINE ONLY WHEN YOU ARE OUTSIDE AT THE LAUNCH SITE PREPARING TO LAUNCH. If you do not use your prepared engine, remove the starter before storing your engine.
FULLY EXTEND YOUR LAUNCH CONTROLLER WIRE BEFORE LAUNCHING.

ESTES LAUNCH SUPPLIES NEEDED (Sold Separately)
- Launch Pad
- Launch Controller
- Recovery Wadding
- Starters (with engines)
- Plugs (with engines)
- Estes Engines: 1/2A6-2, A8-3 (first launch), A8-5, B4-4, B6-4, B6-6, C6-5, C6-7
NOTE: Key always out until final countdown!
PRECAUTIONS
NAR SAFETY CODE






NO DRY GRASS OR WEEDS
PRE-LAUNCH CHECK For safety, never launch a damaged rocket. Check the rocket’s body, nose cone and fins. Also, check the engine mount, recovery system and launch lug(s). Repair any damage before launching the rocket.
FLYING YOUR ROCKET Choose a large field (500 ft [152 m] square) free of dry weeds and brown grass. The larger the launch area, the better your chance of recovering your rocket. Football fields and playgrounds are great. Launch only with little or no wind and good visibility. Always follow the National Association of Rocketry (NAR) SAFETY CODE. MISFIRES TAKE THE KEY OUT OF THE CONTROLLER. WAIT ONE MINUTE BEFORE GOING NEAR THE ROCKET! Disconnect the starter clips and remove the engine. Take the plug and starter out of the engine. If the starter has burned, it worked but did not ignite the engine because it was not touching the propellant inside the engine. Put a new starter all the way inside the engine without bending it. Push the plug in place. Repeat the steps under Countdown and Launch.



































y






































