Top Class Professional Soccer Table for Football
Instructions
WARNING Choking Hazard–Toy contains small balls and.’ or small parts Not for children under 3 years.
IMPORTANT!
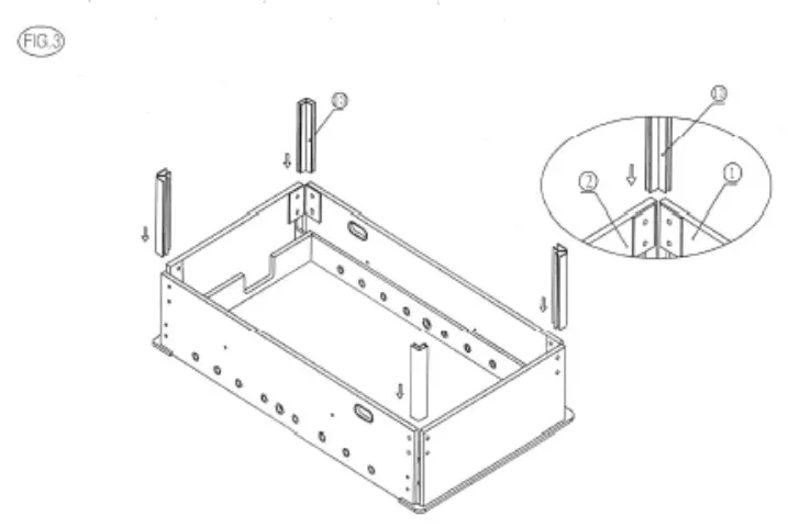
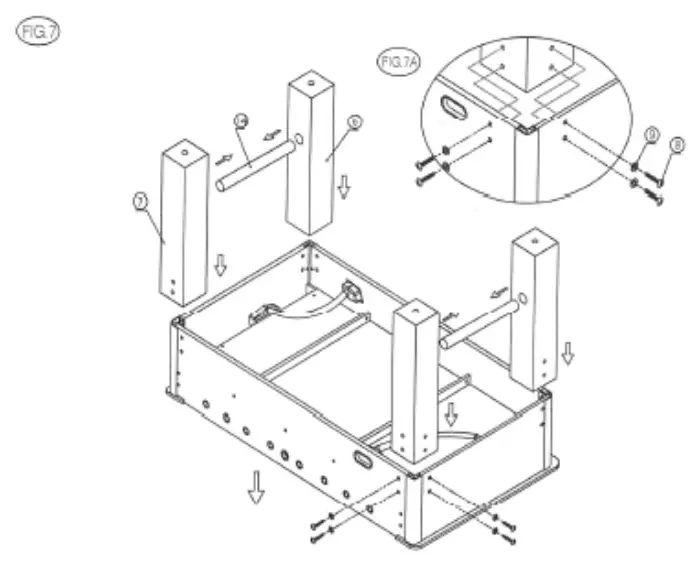
Please keep your instructions. Before attempting assembly please read through this instruction book to familiarize yourself with all the parts and assembly steps. We recommend Mot two adults assemble the football table. Please refer to the parts list below and be sure that all parts have been included.
PARTS LIST

![]() | ![]() |
![]() | ![]() |
![]() | ![]() |
![]() | ![]() |
![]() ![]() | ![]() |
![]() | ![]() |
![]() | ![]() |
CAUTION: Two straw awls am rocanmommo b rip ire race as net,
- Gran Uw tab; en aka grnaid.
- Tun the tine air.
- Ftse tan at tit fort a tit same turn on to warns.































