NORDIC Games 809-041 Portable Table football Soccer Game
IMPORTANT!
PLEASE READ THESE INSTRUCT/ONS CAREFULLY AND KEEP FOR FUTURE REFERENCE PLEASE REFER TO THE PARTS LIST BELOW AND BE SURE
ALL PARTS HAVE BEEN INCLUDED.
Components

Assmbly instructions
Warnings and personal safety Warning
- Not suitable for children under 6 years old.
- Small parts. Choking hazard!
- The product must be assembled by an adult ONLY.
- To be used under the direct supervision of an adult.
- Keep out of the reach of the young children under 3 years.
Important - Please Keep Your Instructions. Before attempting assembly, please read through this instruction book to familiarize yourself with all the parts and assembly steps.
- We recommend that two adults assemble this game. Please refer to the Parts List below and be sure that all parts have been included.
Parts list
See image 1 – components
| 1 | Side Apron | 10 | Washer Head Screw | 19 | 3 Player Rod |
| 2 | End Apron | 11 | Scorer | 20 | 5 Player Rod |
| 3 | Soccer Playfield | 12 | Allen wrench | 21 | Player (Blue) |
| 4 | Leg | 13 | Nut | 22 | Player (Black) |
| 5 | Leg | 14 | Wrench | 23 | Stop Ring |
| 6 | End leg Brace | 15 | Wing bolt | 24 | Rubber Bumper |
| 7 | Support Brace | 16 | Round Head Screw | 25 | Hand Grip |
| 8 | Bolt | 17 | 2 Player Rod | 26 | End Cap |
| 9 | Washer | 18 | 2 Player Rod | 27 | Soccer Ball |
Assembly instructions
We recommend that two adults work together to assemble this game.
- Open the carton of your new football table close to the place where you are actually going to use the table.
- Remove all the contents from inside the carton and verify that you have all listed parts as shown on the Parts List. We suggest that you use the bottom carton as a clean flat working area to protect the game. Carefully cut or tear the four carton corners so that the bottom is now your work area.
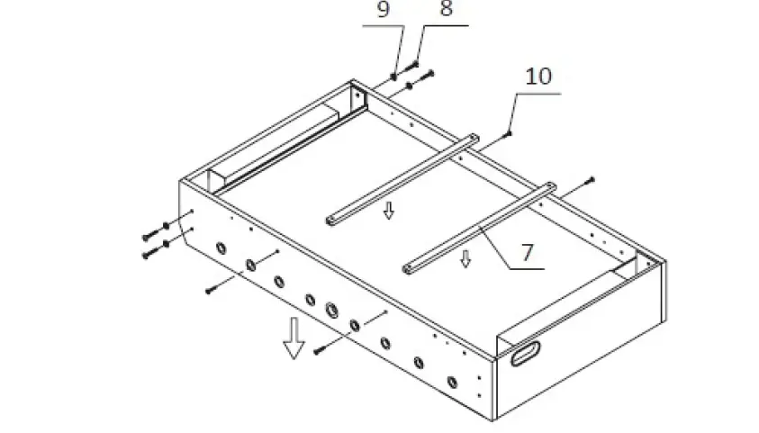
- Attach one end apron (#2) between side aprons (#1). Secure with two of leg bolts (#24) and two of washers (#11) per side apron, screw them through side aprons into end apron.
NOTE: Leave connections loose – Do not tighten screws securely at this time. - Locate playfield (#3) and slide the playfield with graphics facing down. If the field does not slide smoothly, check to make sure that you have not over tightened any screw or the playfield is not caught by the slot.

- Repeat the step to attach the other end apron (#2) to the side aprons (#1). Centre the playfield between the two end aprons, and make sure that the playfield is in the grooves of the side aprons and end aprons.
NOTE: Be sure that two side aprons and end aprons are square. Now go back and tighten all the connections. - Place the support brace (#7) on the playfield (#3). Attach it using four of washer head screws (#12).

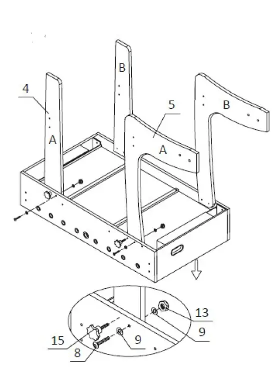
- Attach the (#4) and (#5) legs to the cabinet using one of bolts (#8), two of washers (#9), one of nut (#13), one of Wing bolt (#15) per leg.

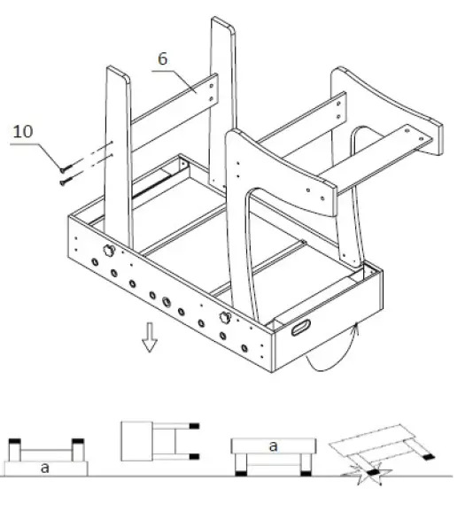
- Attach the three end leg braces (#6) to the legs (#4 and #5) using washer head screw (#10).

A Tabe l Cabinet - Lift the table assembly from the floor with two strong adults, turn it over, and set table on its legs in the location where you will play. Go back and make sure that all connections are tight.
- Attach the player rods (#17 – #20) into the side aprons. Attach rubber bumper (#24) to the player rod, followed by the players (#21 and #22) and another rubber bumper (#24). For the two goalie player rods, an additional stop ring (#23) will be needed to be added between the goalie.

- Attach stop rings (#23) and players (#21 and #22) to the player rods using round head screws (#16).
- Attach the two Scorers (#28) to the end aprons using two of flat head screws (#14) per Scorer.

- Put the hand grips (#25) and the end caps (#26) on the player rods in order.
NOTE: To make the handles easier to attach, spray a little window cleaner on the rod ends prior to installation and tap on gently with a hammer. - Loosen the wing bolts (#15) on both sides, fold the table. Then insert the(#14) locking pins into the holes per side.
WARNING: keep distance from the football table rod while fold up!

The game assembly is complete. you are now ready to play!
Manufactured by
Huizhou STX Import and Export Co., Ltd
Tangbu Village, Dayawan District W.,
Huizhou city, Guangdong,
China



























