Games 809-000 Basketball Pro
User Manual 
Basketball Pro
809-000 Basketball Pro
Imported by
NSH NORDIC A/S Virkefeltet4
8740Braedstrup Denmark
Made in PRC
Art. no. 809-000
EAN 5705858717739
WARNING!
PLEASE READ THESE INSTRUCT/ONS CAREFULLY AND KEEP FOR FUTURE REFERENCE
Warning. Not suitable for children under three years. Small Parts. Long Net. Strangulation Hazard. Failure to follow these safety instructions may result in serious injury or property damage and will void the warranty.
A responsible adult must supervise and ensure thai all players know and follow these rules for sale operation of the produet. Pass these instructions onto any future owners of this produet.
To ensure safety, do not attempt to assemble this produet without foliowing the instructions carefully. Check the entire box and inside all packing material for parts and/or additional instruction material. Before beginning assembly, read the instructions and identify parts using the hardware identifier and parts list in this manual.
Proper and complete assembly, use, and supervision are essential for proper operation and to reduce the risk of accident or injury. A high probability of serious injury exists if this produet is not installed, maintained, and operated properly.
Children should be supervised at all times to ensure they do not climb, mount, sit, lean upon, adjust, move or misuse the stand in any way. Failure to follow this warning poses a risk of serious injury or property damage.
Do not use this produet for commercial purposes. This produet is designed for outdoor, domestic use only. lf using a lodder during assembly, use extreme caution. Pay attention to all instructions and guidance provided with the lodder. Check the base for leakage before each use. Slow leaks could cause the produet to tip over unexpectedly. Check all parts for wear or damage before each use. Do not use if any parts appear broken or damaged. Do not use any other fixings or attachments not provided with the set. These may not offer the same strength or stability and con lead to accident or injury occurring.
Seat the pole sections properly and ensure all parts are securely tightened. Failure to do so could allow the pole sections to separate during play and/or during transport of the produet.
Climate, corrosion or misuse could result in produet failure.
lf technical assistance is required, contact customer service.
Most injuries are caused by misuse and/or not foliowing instructions. Use caution when using this unit. Do not hang on the rim or any part of the produet including backboard, support braces or net.
During play, especially when performing dunk type activities, keep player’s face away from the backboard, rim and net. Serious injury could occur if teeth/face come in contact with backboard, rim or net.
Do not slide, climb, shake or play on base and/or pole.
Alter assembly of the base is complete, fill produet completely with water or sand. Never leave produet in an upright position without filling base with weight, as produet may tip over causing injuries.
When adjusting height or moving produet, keep hands and fingers away from moving parts.
Do not allow children to move or adjust produet.
During play, do not wear jewellery [rings, watches, necklaces, etc.). Objects may entangle in net.
Only mount the produet on a dry, flat, even surface. The surface beneath the base must be smooth and free of gravel or other sharp objects. Punctures cause leakage and could cause produet to tip over.
Keep organic material away from pole base. Grass, litter, etc. could cause corrosion and/or deterioration.
Check pole produet for signs of corrosion [rust, pitting, chipping) and repaint with exterior enamel point. lf rust has penetrated through the steel anywhere, replace the pole immediately.
Do not use produet during windy and/or severe weather conditions; proudest may tip over. Place proudest in the storage position and/or in an area protected from the wind and free from personal property and/or overhead wires.
When moving produet, use caution to keep mechanism from shilling.
Do not allow water in tank to freeze. Empty the tank completely before storage.
While moving produet, do not allow anyone to stand or sit on base or have added ballasting on base.
Do not leave produet unsupervised or play on produet when the produet is moving.
Use caution when moving product across uneven surfaces. System may tip over.
Never hang or swing from the produet.
When positioning the produet, ensure sufficient space for foreseeable use. Do not mount under any live electrical
wires, utilities or drains.
Do not use this produet for anything other than its intended purpose. Misuse con result in serious injury or property
damage.
Two people are needed for assembly. Failure to follow this warning could lead to serious injury or damage to property.
Components

Step 1
Align upper support poles (5A) into the two the hoop (9). slots on the base (11 ). Then align the lower support poles (5B) into the two slots on the underside of the base (11).
Thread bolts (E) through the holes on both support poles and through the base (11) using the allen key (13) and spanner (H).
Step 2
Stand the bottom pole (4) between the two support poles making sure to align the holes either side. Thread the bolt (C) through the centre pole (3) ensuring the holes are the holes on the upper support poles (5A) and through the bottom pole (4) securing using the allen key (13) and spanner (H).
Now align both feet (12) either side of the lower support poles (5B) aligning the holes with the holes on the bottom pole (4). Thread the bolt (G) through all to the other side securing with the allen key (11) and spanner (H).
Step 3
Thread each axle (10) through each wheel (7). Using a rubber mallet, hammer the wheels (7) and axles (10) into the designated slots on the underside of the base (11).
Step 4
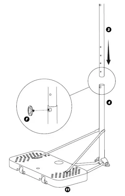
Take the centre pole (3) and slot into the bottom pole (4) ensuring the holes are aligned. Secure the two together with the tension screw (F).
Step 5
Fold and shape the backboard plate (1) into the shape shown in the diagram. Align the holes with the holes at the base of the back of the backboard (6). Thread bolts (B) through all four holes of the hoop (8), backboard (6) and then through the backboard plate ( l ).
Secure bolts (B) using the allen key (13) and spanner (H). Secure the two extended arms of the backboard plate (l) into the backboard (6) with Bolts (A) using the allen key (12).
Step 6
Take the top pole (2) and slot between the two vertical plates of the backboard pate (1) aligning the holes both sides.
Using bolts (D) thread through both holes securing the other side using the allen key (13) and spanner (H).
Step 7
To attached the net (8), hook the top to the net over the loops on the underside of the hoop (9).
Step 8
Take the top pole (2) with the backboard (6) and hoop attached and slot into the top of the centre pole (3) ensuring the holes are aligned. Secure the two together using the second tension screw (F).
Step 9
Carefully stand the structure upright getting someone to hold it steady to prevent the structure from falling. Fill the base (11) with either water or sand to give the structure stability.
Step 10
The height can be adjusted by loosening one tension screw (F) at a time adjusting the height and then tightening again through the higher or lower holes. Cation: Only an adult should adjust the height.
Art. no. 809-000
Imported by NSH NORDIC A/S
Virkefeltet 4 Art.8n7o4.08B0r5a-e5d2s5trup
EANDe5n7m05a8rk58708331
Manufactured by Zhejiang Kanglaibao Sporting Goods INC.
Factory address: No.1, Industrial 6th-Road, Industrial area
Lian Cheng County ,Longyan city, Fujian Province, China![]()















