ACON Air Basketball Hoop

IMPORTANT INFORMATION
Important information. Read carefully prior to assembling the basketball hoop set. Keep for future reference.
All rights reserved 2027. ACON Finland OY LTD.
All artworks and illustrations are owned by ACON Finland OY LTD. Copying or reusing them are prohibited by law.
WARNINGS!
- It is the responsibility of the owner to become familiar with the safety rules and to convey these rules to all users.
- DO NOT attempt or allow somersaults. Landingon the head or neck can cause serious injury or death, even when landing in the middle of the mat.
- DO NOT attempt to jump over the enclosure.
- DO NOT allow more than one person inside the trampoline enclosure. Use by more than one person at the same time can result in serious injury.
- This includes “one on-one” type games and any other games or activities where more than one person is on the trampoline at the same time.
- DO NOT hang from, kick, cut or climb on any part of the basketball set or enclosure system.
- DO NOT install or use the basketball hoop in strong wind conditions and secure the trampoline.
- DO NOT install or use the basketball hoop when trampoline mat is wet.
- DO NOT install the basketball set on a pole that is near or over a missing or damaged frame pad.
- DO NOT use alcohol or drugs when using the basketball set or trampoline.
- DO NOT step directly on the safety pad.
- DO NOT hang on the hoop. Hanging on the hoop can damage the basketball hoop, enclosure pole and trampoline on which the basketball set is installed. Damage resulting from hanging on the hoop is NOT covered by warranty.
- DO NOT attach anything to the basketball set or safety enclosure that is not a manufacturerapproved accessory or part of the enclosure system.
- NOT for children under 6 years old.
- ONLY for domestic use.
- ONLY for outdoor use.
- ONLY one user. Collision hazard.
- Read and follow all warnings and familiarize yourself with your trampoline and enclosure manuals prior to installing any accessories.
- Read and follow all rules specified on the warning labels that came with your trampoline, safety enclosure, and accessories. If labels become lost or unreadable, please contact us for free replacements.
- Aeon Basketball Hoop set should be used only as described in this manual.
- The basketball set must only be mounted on an Aeon enclosure system. Do not install it on any other device, structure or in any manner not described in this manual.
- Remove all jewelry, watches, and hair clips before using the basketball hoop.
- Wear clothing free of hooks, loops, drawstrings or anything that could get caught in the basketball set or enclosure system.
- When not in use, store the basketball set in a dry location.
- Use the basketball hoop and trampoline only with mature, knowledgeable supervision.
- Use the basketball hoop only with the ball provided.
- Chocking hazard! Small parts. Keep away from children and pets.
ASSEMBLY INSTRUCTIONS
Preparation
Read all the provided manuals thoroughly and compare the content of your product shipment to the parts list(s) to ensure that all parts are present. Assemble the basketball hoop set by completing all of the steps in accordance with the assembly instructions. Use gloves to protect your hands from injury during assembly. Pay careful attention to hand position when connecting tubes (pinch point).
- OVERHEAD CLEARANCE: Adequate overhead clearance is essential. A minimum of 24 feet (7,3 m) from ground level is recommended. Provide clearance for wires, tree limbs, and other possible hazards.
- LATERAL CLEARANCE: Lateral clearance is essential. Place the basketball set away from walls, structures, fences, and other play areas. Maintain a clear space on all sides of the trampoline and trampoline enclosure.
- LEVEL SURFACE: Place the trampoline and trampoline enclosure on a level surface before installing and using the basketball set.
- LIGHTING: Use the basketball set in a well-lit area.
- SECURITY: Secure the trampoline and trampoline enclosure against unauthorized and unsupervised use.
UNDERNEATH CLEARANCE
Remove any obstructions from beneath the trampoline and trampoline enclosure.
- Note: The trampoline enclosure is only to be used as an enclosure for a trampoline and the trampoline must be of the appropriate size as specified by the enclosure model.
- Note: The owner and supervisors of the trampoline are responsible to make all users aware of the practices specified in the trampoline user manual. Do not install the basketball set on a pole that is near or over a missing or damaged frame pad.
- Note: You may need to re-tighten the connection between the enclosure pole and the backboard attachment after first use.
CARE & MAINTENANCE
Basketball hoop inspection
Be sure to inspect and perform maintenance on the main parts (frame, fasteners, backboard, padding) at the beginning of each season and at regular intervals. Note that sunlight, rain, snow and extreme temperature reduce the strength of these parts over time. If the checks are not done, the basketball set could become dangerous. If you find any of the following issues, or anything else that you feel could cause harm to any user, the basketball set should be disassembled and use should be discontinued until the issues have been resolved. Make sure to replace defective or missing parts. Keep this manual for future reference.
Check the following before each use:
- All joints, nuts, and bolts for tightness. Tighten if necessary.
- All spring loaded (pit pin} joints are still intact and cannot become dislodged during play.
- All coverings and sharp edges and replace when required.
- Make sure that the hook-and-loop fasteners are closed correctly during use of the basketball hoop set and trampoline
Please pay attention to:
- Bent, broken, or missing frame parts.
- Protrusions of any type (especially sharp ones).
Flexible hoop rim
Aeon Basketball hoop is equipped with flexible safety hoop rim. The hoop rim can become loose over time or if subjected to excessive force. It can be fixed by pushing it back to its original position and adjusting the tightness of the flexibility connection (instructed in assembly step 4).
WINDY CONDITIONS
In severe wind conditions, the trampoline can be blown about. If you expect windy weather conditions, the basketball hoop set and trampoline should be moved to a sheltered area or disassembled.
WINTER AND SNOW
In certain countries during winter period, the snow load and the very low temperatures can damage the basketball hoop set and trampoline. It is recommended to disassemble the basketball set and store indoors.
STORAGE
It is recommended to store the parts indoors during the off-season for longer durability. Soft parts such as padding should be stored in room temperature and kept away from moisture. They must be thoroughly dried before storage to avoid mold.
CLEANING
The frame parts and the backboard can be cleaned by wiping them with a mild detergent. Ensure that all detergent residue is cleaned from each part. The basketball hoop set can dry naturally in the sun.
DISASSEMBLY
To disassemble the basketball hoop set, follow the assembly instructions in reverse order. Use gloves to protect your hands.
WARRANTY POLICY
At ACON, we strive to inspire people of all ages to exercise, play sports, and enjoy outdoor activities. We believe that our high-quality products and great customer service form a great springboard for it.
The products we sell are warranted against manufacturing defects in materials and workmanship under normal residential use and usage conditions by the original end user/customer. The warranty period starts from the shipping date, and detailed information about the length of warranty periods for specific products is provided on the product information pages on Aeon websites.
While the warranty covers manufacturing defects in materials and workmanship, it does not cover damages caused by:
- Wind, lightning, flooding, natural disasters, or any other weather-related events;
- Accidental or purposeful burns, cuts, punctures, snags or other vandalism;
- Abuse, misuse, and improper or abnormal usage;
- Failure to follow directions, improper installation, improper maintenance, installation or use of incompatible accessories or parts, alteration or attachment to equipment other than ACON’s products that are intended for use with the product;
- Commercial or rental use;
- Any other cause not arising from defects in material or workmanship.
Normal wear & tear and weathering is to be expected, and as such cosmetic issues such as fading and UV deterioration, surface rust and scratches, and other issues such as normal stretching of materials over time are not manufacturing defects in materials.
In the case of a warranty claim, we will repair or replace damaged part(s) or component(s) which suffered from manufacturing defect. At our request, all damaged or broken parts must be returned to us by customer prior to replacement or repair – with proof of purchase.
ACON IS NOT RESPONSIBLE OR LIABLE FOR INDIRECT, SPECIAL OR CONSEQUENTIAL DAMAGES ARISING OUT OF OR IN CONNECTION WITH THE USE OR PERFORMANCE OF THE PRODUCT OR OTHER DAMAGES WITH RESPECT TO ANY ECONOMIC LOSS, LOSS OF PROPERTY, LOSS OF REVENUE OR PROFITS, LOSS OF ENJOYMENT OR USE, COST OF REMOVAL, INSTALLATION OR OTHER CONSEQUENTIAL DAMAGES, AS ALLOWED IN ACCORDANCE WITH STATE LAWS.
Customer satisfaction is very important to us. Please contact us with any questions you may have regarding the warranty!
This page is intentionally left blank
PARTS LISTS
This is a parts list for your Aeon Air Basketball Hoop. If any of the parts are missing, please contact ACON customer support. Note: This basketball hoop is designed to fit two types of enclosures, so you will have extra parts after completing the steps
BASKETBALL HOOP
TOOLS & OTHER
INSTALLATION STEPS
- Insert support sleeves (#2) into the holes in the backboard (#1). Then slide the rim holder (#3) onto the backboard


- Ensure that the 4 holes on the rim holder and the backboard are concentric. Insert the 4 bolts (#4) through the holes. Then, align the backboard attachment (#5) with the bolts as seen below. Twist locknuts (#6) onto the bolts and tighten with wrench.


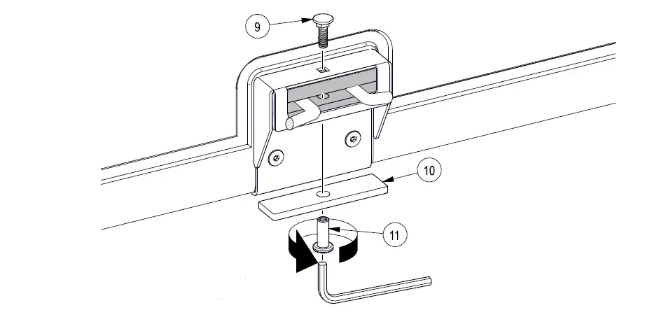
- Install hoop rim and elastic rubber blocks l. Insert elastic rubber blocks (#7) into the rim holder. Leave a gap between the blocks. 2. Insert the end of the rim (#8) between the elastic rubber blocks.

- Make sure that the hoop rim is pushed all the way to the end of the slot. Secure the hoop rim by tightening it between the rubber blocks with square neck bolt (#9). bracket (#10) and sleeve nut (#11). Test the flexibility of the hoop rim and adjust the tightness of connection if needed.

Hoop and net not displayed for clarity
- Choose your enclosure model and continue the installation as instructed below


- Basketball hoop installation for Aeon STANDARD Enclosure. Detach the net from the enclosure pole on which you wish to install the hoop. Remove the upper pole. Slide the upper pole out of the pole foam, then take apart the pole foam, PVC sleeve, and cap. Save the cap in case you wish to take down the basketball hoop and reinstall the enclosure without the hoop.


- Re-assemble the upper enclosure pole. l. Insert the washer (#12) into the replacement cap (#15). Make sure that the washer is pushed all the way into the end of the replacement cap. 2. Insert the end of the pole foam into the replacement cap (#15). Then slide the assembled set into the PVC sleeve. 3. Slide the upper enclosure pole through the pole foam up to the washer.


- Attach the backboard to the enclosure pole.
- Make sure that the wedge nut is loose.
- Insert the backboard attachment into the enclosure pole.
- Make sure that the enclosure pole is pushed all the way up to the washer and the backboard is aligned correctly. Rotate the backboard if necessary. Tighten the wedge nut.

- Install the enclosure pole on which the basketball hoop is attached onto the lower enclosure pole, then re-attach the net. You can still adjust the orientation of the backboard if needed by loosening the wedge nut and rotating the backboard. Remember to retighten. Your Basketball Hoop is now installed. Have fun!

- Basketball hoop installation for Aeon PREMIUM Enclosure. Unscrew the bolts from the top connector of the pole on which you wish to install the hoop. Slide both of the rims out from the top connector with caution. Then Then remove the upper enclosure pole and remove the top connector from the pole. Save the top connector in case you wish to take down the basketball hoop and reinstall the enclosure without the hoop.
CAUTION! Enclosure top rims are under tension in assembled enclosure. Handle with caution!
- Attach the backboard to the enclosure pole.
- Make sure that the wedge nut is loose.
- Insert the backboard attachment into the enclosure pole. 3. Make sure that the backboard is aligned correctly and rotate it if necessary. Tighten the wedge nut

- Install the enclosure pole on which the basketball hoop is attached onto the lower enclosure pole. You can still adjust the orientation of the backboard if needed by loosening the wedge nut and rotating the backboard. Remember to re-tighten. Secure the enclosure top rims with U-bolt (#74) and cap nuts (#73). Add protective caps (#76). Your Basketball Hoop is now installed. Have fun!

CONTACT US
Email: [email protected]
acon24.com
Email: [email protected]
Tel: +1 (866) 297 5234
us.acon24.com
Email: [email protected]
Tel: +46 (08) 12013113
www.acon24.se
Email: [email protected]
Tel: +358 (0)9 42720823
acon.fi




























