W540XY57638 Portable Basketball Hoop Basketball System
Instruction Manual
W540XY57638 Portable Basketball Hoop Basketball System
WARNING:
IMPROPER INSTALLATION OR SWINGING ON THE RING MAY CAUSE SERIOUS INJURY OR DEATH
Notice to assemblers:
All the basketball systems, including those used for displays, must be assembled and ballasted according to instructions. Failure to follow instructions could result in serious injury.
Please read all warnings and cautions before assembly. It is recommended to supervise children as they play with this product. This product is to be assembled by 2 adults only!
We appreciate your purchasing one of our many fine products. We are assure that you will be very satisfied with your selection.
SAFETY INSTRUCTIONS
Owner must ensure that all players know and follow these rules for safe operation of the system.
To ensure safety, do not attempt to assemble this system without following the instructions carefully. Check entire box and inside all packing material for parts and/or additional instruction material. Before beginning assembly, read the instructions and identify parts using the hardware identifier and parts list in this document. Proper and complete assembly. use, and supervision are essential for proper operation and to reduce the risk of accident or injury. A high probability of serious injury exists if this system is not installed, maintained, and operated properly.
- If using a ladder during assembly. use extreme caution.
- Two (2) capable adults are recommended for this operation.
- Check base regularly for leakage. Slow leaks could cause system to tip over unexpectedly.
- Seat the pole sections properly (if applicable). Failure to do so could allow the pole sections to separate during play and/or transport of the system.
- Climate, corrosion, or misuse could result in system failure.
- Minimum operational height is around 7’7″(2.3M)from ground to the bottom of backboard
- This equipment is intended for home recreational use only and NOT exercise competitive play.
- Read and understand the warning label affixed to pole.
- The life of your basketball pole depends on many conditions. The climate, placement of the pole, location of the pole, exposure to corrosives such as pesticides, herbicides, or salts are all important.
- Adult supervision is recommended when adjusting height.
WARNING
Read and understand warnings listed below before using this product.
Failure to follow these warning may result in serious injury and/or property damage.
Owner must ensure that all players know and follow these rules for safe operation of the system.
- DO NOT HANG on the rim or any part of the system including backboard, support braces or net.
- During play, especially when performing dunk type activities, keep player’s face away from the backboard, rim and net. Serious injury could occur if teeth/face come in contact with backboard, rim or net.
- Do not slide, climb, shake or play on base and/or pole.
- After assembly is complete, fill system completely with water or sand. Never leave system in an upright position without filling base with weight, as system may tip over causing injuries.
- When adjusting height or moving system, keep hands and fingers away from moving parts.
- Do not allow children to move or adjust system.
- During play, do not wear jewelry (rings, watches, necklaces, etc.). Objects may entangle in net.
- Surface beneath the base must be smooth and free of gravel or other sharp objects. Punctures cause leakage and could cause system to tip over.
- Keep organic material away from pole base. Grass, littermate. could cause corrosion and/or deterioration.
- Check pole system for signs of corrosion (rust, pitting, chipping) and repaint with exterior enamel paint. If rust has penetrated through the steel anywhere. replace pole immediately.
- Check system before each use for proper ballast, loose hardware, excessive wear and signs of corrosion and repair before use.
- Check system before each use for instability.
- Do not use system during windy and/or severe weather conditions: system may tip over. Place system in the storage position and/or in an area protected from the wind and free from personal property and/or overhead wires.
- Never play on damaged equipment.
- When moving system, use caution to keep mechanism from shifting.
- Keep pole top covered with cap at all times.
- Do not allow water in tank to freeze. During sub-freezing weather add 2 gallons of non-toxic antifreeze, sand or empty tank completely and store. (Do not use salt.)
- While moving system, do not allow anyone to stand or sit on base or have added ballasting on base.
- Do not leave system unsupervised or play on system when wheels are engaged for moving.
- Use Caution when moving system across uneven surfaces. System may tip over.
- Use extreme caution if placing system on sloped surface. System may tip over more easily.
- See instruction manual for proper installation and maintenance.
HEIGHT ADJUSTMENT
As shown in the figure Pinch the lifting handle bar in (HH),make the rim up and down.
Product moving
- Adjust the product in lowest level before moving
- Avoid friction with the ground while moving
- Move to the right place then rise the product slowly

SPARE PARTS

STEP 1
Insert shaft (V2) into bottom pole(Y) as below left picture. Then insert the bottom pole(Y) into base.
Insert shaft(V3) into bottom pole (Y) as below right picture. Then fix the shaft(V3) into base groove. 

- Fix the bottom end of pole brace (U1),(U2,(U3),(U4) on the base by bolt set(J1,J2,J3) as left picture.
Please pay attention to the directions of the four pole brace - Insert the middle pole(X) into bottom pole(Y),Fix the middle pole(X),bottom pole(Y) and top end of four pole braces together by 1pc bolt set (G1G2,G3) and 1pc bolt set (E1,E2,E3) as shown.
- Fix the pole bracket (Q) on the middle pole (X) by 2pcs of bolt set (E1, E2, E3) and one pcs square washer L1 as above picture . Please note the pole bracket(Q) must be backward.
NOTE: The 2 wells (M) are installed on the back of base(Kk) by shaft (V1)
Fix the rim(AA), backboard(DD) and backboard bracket(CC) by bolt(F1,F2,F3,F4) and bolt(I1,12,13). Please note the 2pcs small springs (L) are fixed in front of the two up holes of the rim(AA) by bolt (F1,F2,F3,F4)
As shown in the below figure, pull the backboard bracket(CC) in both side
Fix the top end of backboard bracket(CC) behind the backboard(DD) by bolt(K1) 
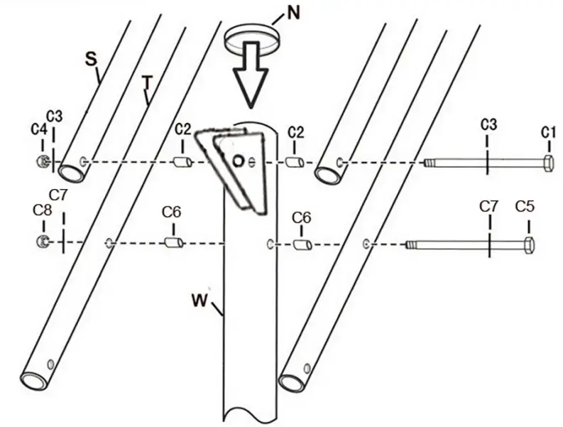
As shown in the figure, connect the backboard brace(S) and(T) on backboard bracket(CC) by bolt(B1,B2,B3,B4,B5).Please note that sleeve(B3) must be installed inside the backboard bracket(CC)
Install backboard brace (S) (T) by bolt set(C1,C2,C3,C4) and(C5,C6,C7,C8) as shown, tighten all the nuts.
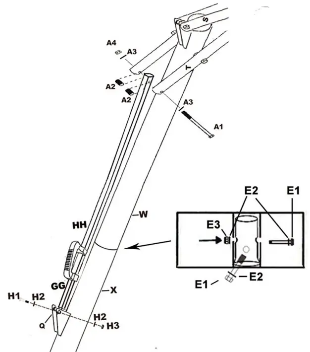
Install the pole (W),(X) together by 2pc of bolt set(E1,E2,E3) Then install the adjustment machoism(HH)&(GG) by bolt set(A1,A2,A3,A4) &(H1,H2,H3) as shown in below. Tighten all nuts
Fix the bolt (D) on the two shorter backboard brace (S) for the next installation of hanging big springs(R)
As shown in below picture, fix one end of big rings(R)on the hole of backboard bracket Millen hang the other end of big springs(R) on the bolt(D)
Note
For easier installation, Please make sure the backboard is at highest position before hanging the spring 
For safety reason, sand instead of water is recommended to fill up the base during the sub-freezing weather. Please note that sand will not be poured out once filled in the base
COOL INDUCTIVE LED FOR BASEKETBALL RING
- Brief Introduction:
This led product is the auxiliary device of basketball frame. It presents different cool lighting effects according to different scoring methods, adding more interesting and fun sports atmosphere for pitchers. - Product function:
Normal state: In the non-inductive state, there are two states: low brightness white light and no light, controlled by plug-in power supply. Plug in the power supply, and the light is always in ice blue color. If the light is off after 3S, it will be off when it is not normally sensed; Plug in the power supply, and the light is always bright ice blue. If the light is low bright white after 3S, it will be low bright white when it is not normally sensed.
Box goal: basketball vibration ball frame into the net, 12 cool lighting effects in turn, each mode lights last 3S; Through the heart goal: always in ice blue color for 3S.
Note: the effective induction time of two goals should not be less than 2S. - Product Parameter:
Work voltage: DC4.5V (3PCS AA dry batteries) Work current: The maximum current is S00mA when the induction lamp is on for 3S. - Product installment:
Product general assembly diagram.

- surround the LED light belt around the basketball metal frame with the light bead facing out, Try to keep the light strip on the lower edge of the basketball hoop to reduce the probability of basketball impact , then lock it with the tie belt at a proper position, and cut off the redundant tie belt.

- Two side 3M adhesive tape with one side posted with induction control box.

- Place the other side flat on the bottom of the basketball hoop and the backboard, in the middle of the position, and try to keep the sensor and the hoop as far away as possible to prevent misjudgment caused by brushing the frame.

- Install 3 AA batteries into the battery box, and stick the back of the battery box with strong 3M tape

- Stick the battery box to the basketball frame post with 3M tape.

- Press the switch, the LED can work normally.
Tips: If you do not use this product, please turn off the battery box switch to prevent self-power consumption.![]()











