SIMBA MARACANA Soccer Table Instructions
WARNING:Choking Hazard–Toy contains small balls and/ or small parts.Not for children under 3 years.
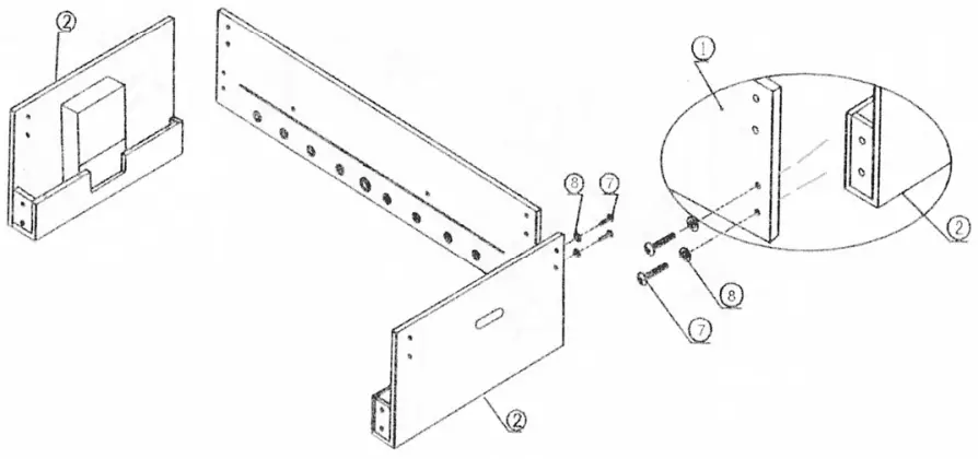
IMPORTANT! Please keep your instructions. Before attempting assembly, please read through this instruction book to familiarize yourself with all the parts and assembly steps. We recommend that two adults assemble the football table. Please refer to the parts list below and be sure that all parts have been included.
Part List
| ![]() 2 GOAL END BOARD 2EA | ![]() 3 3.5X14MM FLAT HEAD SCREW 6 EA | ![]() SOCCER PLAYFIELO 1EA | ![]() 5 SUPPORT BRACES 2EA |
|
7 | 8![]() 18X6.5MM WASHER 24EA | ![]() 3.5X25MM FLAT HEAO SCREW 4 EA | ![]() 40 3.5 X 40MM WASHER tłEAD SCREW 4 EA | ![]() 1 1 3.5 X 28MM WASHER HEAD SCREW 8 EA |
|
| ![]() HAND GRIP 8EA | ![]() 1&3 PLAYER ROD 4EA | ![]() 2 PLAYER ROD 2EA | ![]() 17 5 PLAYER ROD 2EA |
|
| ![]() PLAYER (BŁUE) 11EA | ![]() 21 4X23MM ROUND HEAO SCREW 26EA | ![]() 22 NUT 26EA | ![]() 23 SOCCER BALL 2EA |
|
| ![]() 26 BALL ENTRY CUP 2EA | ![]() 27 SGOFtER 2EA |
Assembly Instruction





CAUTION: Two strong adults are recommended to flip the table as shown. 1.Grab the table on the ground. 2.Turn the table over. 3.Place it on all four feet at the same limo on the ground.
Installation instruction











































