
![]()
Football Table

INSTRUCTION MANUAL
Keep instructions for later use 
NOTICE
WARNING
CHOKING HAZARD-Small parts. Not suitable for children under 36 months.
WARNING
THE PRODUCT IS TO BE ASSEMBLED BY AN ADULT.
WARNING
Potential hazard description, e.g. In unassembled state contains potentially hazardous sharp points, so please keep out of baby’s reach.
Only for domestic use.
Retain for future reference.
PARTS

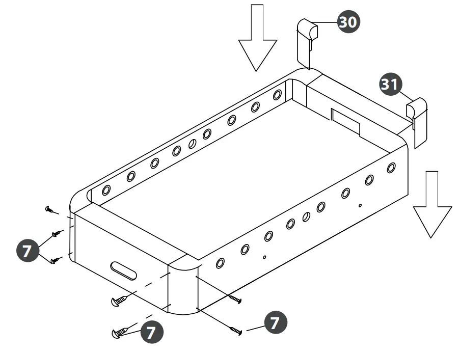
ASSEMBLY
![]() | ![]() |
![]() | ![]() |
![]() | ![]() |

GUARANTEE
Congratulations on your purchase of the Cougar Offside. You have bought a product you will enjoy for many years. Cougar provides a 2-year guarantee on this product when properly used. If the product does not reach you in good condition or if there are other problems, please contact your dealer or point of sale where you purchased the product.
WARNING!
Manufacturer and seller expressly disclaim any and all liability for personal injury, property damage or loss, either direct, indirect or incidental, resulting from the incorrect attachment, improper use, inadequate maintenance, or neglect of this product.

A Pragma Brand
Cougar is one of our brands
with fun table games of great quality
that provides hours of fun!
Pragma / Cougar
Kruisboog 40
3905 TG Veenendaal
Netherlands
T: +31 (0)318 – 57 88 00
[email protected]
www.pragma-trading.com
Article number
























