Football Table
SCORPION KICK

![]()
Instruction Manual
NOTICE
WARNING
CHOKING HAZARD-Small parts. Not suitable for children under 36 months.
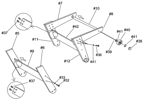
PARTS
ASSEMBLY








MAINTENANCE
TABLE MAINTENANCE
TABLE SURFACE
Keep your table covered. If there is dust on the playfield or the aprons, use a vacuum or wipe with a clean, soft cloth to remove it. Do not sit at the table and do not use the table outside.
RODS
Occasionally wipe the rods with a clean, soft cloth. Never lift the table by the rods. Do not spin or press the rods too aggressively, as this may cause damage. We recommend the use of lubricant to wipe the Player Rods and Bearings from the outside of the game so as not to drip onto the playfield.
LEGS
Check that the leg bolts are tight. When moving the table, lift the table off of its legs and place it down squarely on the legs, do not drag the table.
BOLTS
Please make sure that all the screws and bolts are tightened before using.
GUARANTEE
Congratulations on your purchase of the Cougar Scorpion Kick. You have bought a product you will enjoy for many years. Cougar provides a 2-year guarantee on this product when properly used. If the product does not reach you in good condition or if there are other problems, please contact your dealer or point of sale where you purchased the product.
WARNING!
Manufacturer and seller expressly disclaim any and all liability for personal injury, property damage, or loss, either direct, indirect, or incidental, resulting from the incorrect attachment, improper use, inadequate maintenance, or neglect of this product.
![]()

A Pragma Brand
Cougar is one of our brands with fun table games of great quality that provide hours of fun!
Pragma / Cougar
Kruisboog 40
3905 TG Veenendaal
Netherlands
T: +31 (0)318 – 57 88 00
[email protected]
www.pragma-trading.com



























