steinel XLED PRO 240 S Motion Sensor Spotlight
About this document
- Please read carefully and keep in a safe place.
- Under copyright. Reproduction either in whole or in part only with our consent.
- Subject to change in the interest of technical progress.
- All product dimensions in mm
Symbols
- Hazard warning!
- Reference to other information in the document.
Note:
Diagrams without captions apply to all versions.
General safety precautions
- Disconnect the power supply before attempting any work on the unit.
- Installing the LED floodlight involves work on the mains voltage supply; installation must therefore be carried out professionally in accordance with the applicable national wiring regulations and electrical operating conditions
(DE-VDE 0100, AT-ÖVE/ÖNORM E 8001-1, CH-SEV 1000).
- The LED floodlight must be positioned so that it is not expected that anybody can stare into the light for any prolonged period from a distance of less than 0.3 m.
- The floodlight enclosure heats up when the light is on. Only adjust the angle of the LED panel once it has cooled down.
- Do not install the LED floodlight on (normally) flammable surfaces.
XLED PRO 240 S / XLED PRO 240
Proper use
- LED floodlight suitable for wall mounting outdoors.
- Fully swivelling LED panel.
- Can be used on its own or interconnected with other floodlights.
Non-intended use
- The LED floodlight cannot be dimmed

XLED PRO 240
- Wired interconnection.
- Operation via control dial.
XLED PRO 240 S
- The sensor-switched LED floodlight contains an infrared motion detector. Movement triggers lights, alarms and many other devices. With the fully swivelling panel, the LED floodlight can be used at home to provide perfect illumination for lighting up property, or commercially for lighting up business premises. In conjunction with the opal cover, this extremely efficient technology provides wide-area lighting. Models
A corner wall mount is available as an accessory:
- Graphite: 4007841053086
- White: 4007841055615
- Black: 4007841055875
XLED PRO 240 S adjustment range 
The adjustment range for XLED PRO 240 

XLED PRO 240 S product dimensions 
XLED PRO 240 product dimensions 
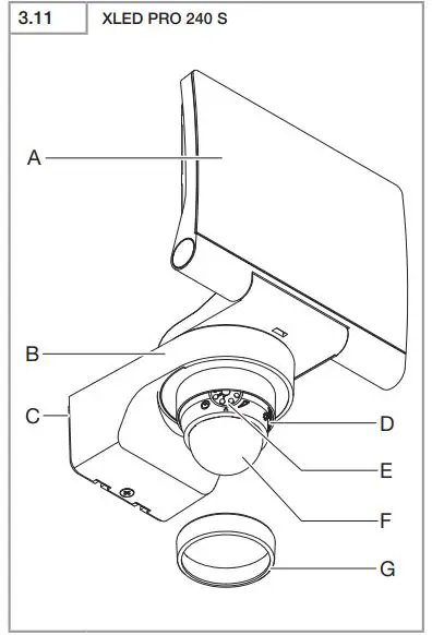
XLED PRO 240 S product components

- A LED panel
- B Enclosure
- C Wall mount
- D Twilight setting
- E Time setting
- F Sensor unit
- G Ring cover
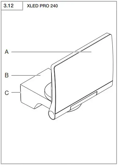
XLED PRO 240 product components 
- A LED panel
- B Enclosure
- C Wall mount
Luminous intensity distribution

Electrical installation
- Switch OFF power supply.

Connecting the mains power supply lead
- The supply lead is a 2 or 3-core cable:
- L = phase conductor (usually black, brown or grey)
- L’ or = phase conductor (usually black, brown or grey), in master/master or master/slave mode only. Mains supply lead is used as connection lead for switching output.
- N = neutral conductor (usually blue)
- PE = protective-earth conductor (green/ yellow)
Note:
The protective-earth conductor need not be connected for this product.
- Wiring diagram, master/slave

- Wiring diagram, master/master

- Wiring diagrams, slave

Important:
Incorrectly wired connections will produce a short circuit later on in the LED floodlight or your fuse box. In this case, you must identify the individual conductors once again and reconnect them. The light source of this LED floodlight cannot be replaced. If the light source needs to be replaced (e.g. at the end of its service life), the complete LED floodlight must be replaced.
Installation
- Check all components for damage.
- Do not use the product if the LED floodlight is damaged.



- Select an appropriate mounting location, taking the reach and motion detection into consideration
- Align the LED floodlight. (Fig. 5.4)

- The most reliable way to detect movement is given by mounting the LED floodlight to point across the direction in which people walk and by making sure no obstacles (e.g. trees, walls etc.) interrupt the line of sensor vision.
Mounting procedure
- Switch OFF power supply.
- Undo retaining screw.

- Detach enclosure (B) from wall mount (C).

- Detach plug-in terminal from wall mount.

- Mark drill holes.
- Wall mounting with wall mount

- Wall mounting with wall mount
- Drill holes and fit ground plugs.

- Fit sealing plug.

- Power supply lead, concealed

- Power supply lead, surface-mounted, with spacers

- Connect conductors.
- XLED PRO 240

- An additional external load can be connected to N and L’/.
- XLED PRO 240 Slave

- Connect plug-in terminal.

- Fit enclosure onto wall mount.

- Screw in locking screw.
- Switch ON power supply.

- Make settings. ➜ “6. Function”
Function
Factory settings (XLED PRO 240 S)
- Time setting (E): 8 seconds
- Twilight setting (F): 2000 lux, (daytime mode)
- Remove ring cover from sensor unit.

- Twilight setting

- The LED floodlight’s chosen response threshold can be infinitely varied from approx. 2 to 2000 lux.
- Control dial set to = daylight operation (independent of ambient brightness)
- Control dial set to = night-time operation (approx. 2 lux)
- Time setting
- The time you want the LED floodlight to stay on for (main light) is infinitely adjustable from approx. 8 seconds to a maximum of 15 minutes. Any movement detected before this time elapses will restart the timer.
- Control dial set to + = approx. 15 minutes
- Control dial set to – = approx. 8 seconds
- The control dial must be turned to when adjusting the detection zone and performing the functional test in daylight.
Note:
When setting the detection zone, we recommend selecting the shortest time.
Note:
After the LED floodlight switches OFF, it takes approx. 1 second before it is able to start detecting movement again. The LED floodlight will only switch ON in response to movement once this period has elapsed.
- Fit ring cover on sensor unit.

Other information:
Floodlight adjustment range

Shrouds

The film shroud can be used for masking out any number of lens segments to limit reach as required. Inadvertent triggering is ruled out or the sensor can be targeted to watch over danger spots (Fig. 6.6).


Setting functions
Setting via control dial
Note:The settings last selected on the control will be used.
Operation/maintenance
The LED floodlight is not suitable for burglar alarm systems as it is not tamperproof in the manner prescribed for such systems. Weather conditions may affect the way the LED floodlight works. Strong gusts of wind, snow, rain and hail may cause the light to come ON when it is not wanted because the sensor is unable to distinguish between sudden changes in temperature and sources of heat. The detector lens may be cleaned with a damp cloth if it gets dirty (do not use cleaning agents). Important note: the control gear cannot be replaced
Disposal
Electrical and electronic equipment, accessories and packaging must be recycled in an environmentally compatible manner. Do not dispose of electrical and electronic equipment as domestic waste.
EU countries only: Under the current European
Directive on Waste Electrical and Electronic Equipment and its implementation in national law, electrical and electronic equipment no longer suitable for use must be collected separately and recycled in an environmentally compatible manner.
Manufacturer’s Warranty
As purchaser, you are entitled to your statutory rights against the vendor. If these rights exist in your country, they are neither curtailed nor restricted by our Warranty Declaration. We guarantee that your STEINEL Professional sensor product will remain in perfect condition and proper working order for a period of 5 years. We guarantee that this product is free from material-, manufacturing and design flaws. In addition, we guarantee that all electronic components and cables function in the proper manner and that all materials used and their surfaces are without defects.
Making Claims
If you wish to make a claim, please send your product complete and carriage paid with the original receipt of purchase, which must show the date of purchase and product designation, either to your retailer or contact us at STEINEL (UK) Limited, 25 Manasty Road, Axis Park, Orton Southgate, Peterborough, PE2 6UP, for a returns number. For this reason, we recommend that you keep your receipt of purchase in a safe place until the warranty period expires. STEINEL shall assume no liability forthe costs or risks involved in returning a product. For information on making claims under the terms of the warranty, please go to www.steinel-professional.de/garantie If you have a warranty claim or would like to ask any question regarding your product, you are welcome to call us at any time on our Service Hotline
Technical specifications
Troubleshooting
References
STEINEL | Steinel Grupul Steinel
Daljinsko Upravljanje d.o.o.
F.Fonseca - High-tech Solutions since 1978
Avalehele
Hem - En ljusare framtid med ansvarsfull belysning - KHS
Roliba - En moderne B2B Handelsvirksomhed med stort udvalg
SAOS Teknoloji STEINEL Türkiye Distribütörü | SAOS Teknoloji
Herstellergarantie für Unternehmer | STEINEL
Steinel купить на steinel-russland.ru
【steinel 】施特朗中国官方网站
STEINEL Technik
Steinel Group | STEINEL
International | STEINEL
STEINEL | Steinel Group
Ташев-Галвинг ООД: магазин за машини, инструменти, строителни материали, крепежи и градинска техника
Van Spijk | Online B2B inkoopplatform - VanSpijk.nl
Veleprodaja EP – Senzorji, Reflektorji, Razsvetljava, Svetila in Orodja
Energieffektive løsninger - Vilan.no















































