Komshine KFI-35 Optical Fiber Identifier

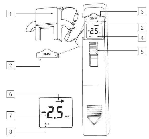
Appearance features

- Sunshade cover
- Fixture: select the corresponding fixture according to the fiber type
- Fiber trough
- Display
- Button: used to clamp the fiber tightly
- Direction indicator: indicates the direction of the signal
- Power: unit dBm
- Frequency
Install holders

- There are three types of fixtures, namely 2MM, 3MM, 250,900. According to the type of fiber to be tested, select the corresponding fixture.
- Push the button down to the maximum, place the clamp on the top of the display, and push in the clamp from the right side.
Fiber signal recognition
- Put the fiber to be tested into the groove of the fixture, push the button to lock the fixture, and install the sunshade cover.

- If there is a signal in the optical fiber, the left and right direction lights will show the signal direction, and the signal strength light shows its strength.
- If there is no signal in the optical fiber, the signal strength indicator will display LO, and the direction indicator light may flicker left and right. When the fiber is not clamped, the direction light may also flash left and right.
- When the signal frequency is 2KHz, 1KHz, 270Hz, the corresponding indicator light is on, accompanied by a buzzer (when the signal is too weak, it will not be correctly identified).
Product description
The fiber identifier is an essential tool for fiber maintenance. It is used for non-destructive fiber identification. It can be detected at any position of single-mode and multi-mode fiber. During maintenance, installation, wiring and recovery, it is often necessary to find and separate a specific optical fiber without interruption by injecting 1310nm or 1550nm signal with modulation tone (270Hz, 1KHz, 2KHz) into the optical fiber at one end, and use the identifier on the line to recognize it and it also can indicate the direction of the signal.
Product features
- Digital display relative power.
- Online testing without interrupting business.
- Recognize 270Hz, 1KHz, 2KHz modulation signal.
- Key-through operation, simple and convenient.
- Comes with a sunshade cover to provide the most accurate test results.
- A variety of adapters, with a variety of adapter heads to adapt to a variety of pigtails, mechanical damping design to ensure that the fiber is not damaged.
Product parameters
- Identify wavelength range: 800nm- 1700nm
- Probe type: InGaAs
- Adapter type: φ0.25mm (bare fiber), φ0.9, φ2.0, φ3.0mm (pigtail)
- Signal power detection range: -40 ~+10 dBm
- Modulation frequency: CW/270Hz,1kHz,2kHz
- Signal frequency indication: 270Hz,1kHz,2kHz
- Frequency detection range (average value): φ0.9mm pigtail: -30-0 (270Hz);φ2.0, φ3.0mm pigtail: -25-0dBm (270Hz, 1kHz, 2kHz); φ0.25mm bare fiber: -20-0dBm(2KHz)
- Insertion loss (typical value): 0.8dB(1310nm);2.5dB(1550nm)
- Alkaline battery: 9v
- Product size/weight: 196*30mm,5*27mm/200g
- Storage temperature: -10~70℃
- Operating temperature: 0~50℃
- Signal direction indication: LED indicator left and right direction
Use environment
- Operating environment altitude: areas below 2000m above sea level
Tips
Please read all instructions and warnings before using this product. Irregular use will cause damage to the product or personal safety.
- Equipment should be kept free of dirt and other contaminants
- Do not store this product in high temperature, strong light and strong magnetic fields, and do not place it in other harsh environments such as fire sources.
- Personal and property damage caused by improper use of consumers in violation of the product manual.The harm will bear all consequences by itself, and the company will not bear any legal responsibility.
- The user should carefully place the optical fiber in the provided optical fiber slot. Incorrectly pressing the optical fiber into the head assembly or misalignment of the optical fiber with the fiber groove may cause the optical assembly to deform
- To avoid serious eye injury, never directly look at the optical output of fiber optic network equipment, test equipment, jumpers or test jumpers
- Avoid strong physical effects, including knocking, throwing, trampling, squeezing, etc.
- Non-professionals are strictly prohibited from disassembling this product.
Standard packages
Packing carton, host, certificate, instruction manual.
Contact us
- KOMSHINE TECHNOLOGIES LIMITED
- TEL: +86 25 66047688
- Mail: [email protected]
- Add: 2F Bldg. D Qinheng Tech. Pk. Nanjing,
- JS, 210001, China
- Web:

















