Barrette 44054836 Standard 8 Inch Ornamental T-Hinge Instruction Manual
WARNING:
- Improper installation of this product can result in personal injury. Always wear safety goggles when cutting, drilling and assembling the product.
- Incorrect installation may cause harm to the gate or individual.
NOTICE:
- DO NOT attempt to assemble the kit if parts are missing or damaged.
- DO NOT return the product to the store, for assistance or replacement parts call: 1-877-265-2220.
Component list:
| QTY | Description |
| 2 | 8″ Standard T-Hinges |
| 10 | 5⁄16″ Lag Screws |

To obtain and review a copy of the warranty please visit: barretteoutdoorliving.com. You may also contact us at 1-877-265-2220 or email [email protected]
Determine Gate Opening
Gate opening is determined by width of gate plus clearance for hinge plus clearance for latch/drop rod on a fence (Fig. 1). See latch specifications for clearance details.
- a. The Standard 8″ Ornamental T-Hinges support gates up to 60 lbs and up to 72″ wide.

Mount Hinges on Gate
For best results, work on flat, stable surface when mounting hinges to gate.
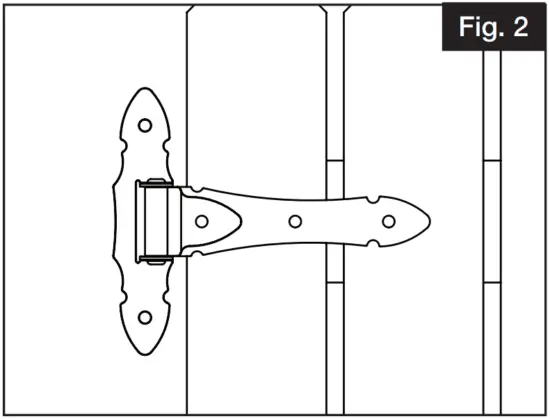
- a. Align the hinge with the crossing support rail on the back of the gate so the screws will engage the rail (Fig. 2).

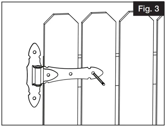
- b. Mark screw locations on gate (Fig. 3).

- c. Drill 7/32″ pilot hole in gate (Fig. 4).

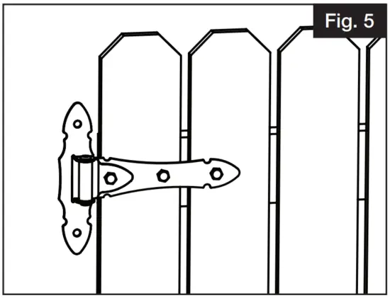
- d. Fasten screws provided (Fig. 5).

Mount Gate to Post
- a. Position gate at desired height on post. Horizontal rails on gate should be even with horizontal rails on fence (Fig. 6).

- b. Let barrel of hinge hang off post and centered in between gate and post.

- c. Mark screw locations on post (Fig. 7).

- d. Drill 7/32″ pilot holes on post (Fig. 8).

- e. Fasten screws provided to post (Fig. 9).

NOTE: Standard 8″ Ornamental T-Hinges are NOT self-closing. If self-closing hinges are needed, a separate purchase of a Boerboel Gate Spring is required.
Barrette Outdoor Living
545 Tilton Rd, Egg Harbor City, NJ. 08215
barretteoutdoorliving.com • (877) 265-2220



























