RM23-502 2U Dual 5.25-Inch Drive Bay ATX Rackmount Industrial Server
User Manual

Warranty Information
This product has a limited 1-year warranty in North America and Australia.
For information on warranty periods in other regions, please contact your reseller or SilverStone authorized distributor.
Warranty terms & conditions
- Product component defects or damages resulting from defective production is covered under warranty.
Defects or damages with the following conditions will be fixed or replaced under SilverStone Technology’s jurisdiction.t
a) Usage in accordance with instructions provided in this manual, with no misuse, overuse, or other inappropriate actions.
b) Damage not caused by natural disaster (thunder, fire, earthquake, flood, salt, wind, insect, animals, etc…)
c) Product is not disassembled, modified, or fixed. Components are not disassembled or replaced.
d) Warranty marks/stickers are not removed or broken.
Loss or damages resulting from conditions other than the ones listed above are not covered under warranty. - Under warranty, SilverStone Technology’s maximum liability is limited to the current market value for the product (depreciated value, excluding shipping, handling, and other fees). SilverStone Technology is not responsible for other damages or losses associated with the use of the product.
- Under warranty, SilverStone Technology is obligated to repair or replace its defective products. Under no circumstances will SilverStone Technology be liable for damages in connection with the sale, purchase, or use including but not limited to loss of data, loss of business, loss of profits, loss of use of the product, or incidental or consequential damage whether or not foreseeable and whether or not based on breach of warranty, contract or negligence, even if SilverStone Technology has been advised of the possibility of such damages.
- The warranty covers only the original purchaser through authorized SilverStone distributors and resellers and is not transferable to a second-hand purchaser.
- You must provide a sales receipt or invoice with a clear indication of the purchase date to determine warranty eligibility.
- If a problem develops during the warranty period, please contact your retailer/reseller/SilverStone authorized distributors or SilverStone http://www.silverstonetek.com.
Please note that: (i) You must provide proof of original purchase of the product by a dated itemized receipt; (ii) You shall bear the cost of shipping (or otherwise transporting) the product to SilverStone authorized distributors. SilverStone authorized distributors will bear the cost of shipping (or otherwise transporting) the product back to you after completing the warranty service; (iii) Before you send the product, you must be issued a Return Merchandise Authorization (“RMA”) number from SilverStone. Updated warranty information will be posted on SilverStone’s official website.
Please visit http://www.silverstonetek.com for the latest updates.
Additional info & contacts
For North America ([email protected])
SilverStone Technology in North America may repair or replace the defective product with a refurbished product that is not new but has been functionally tested.
A replacement product will be warranted for the remainder of the warranty period or thirty days, whichever is longer. All products should be sent back to the place of purchase if it is within 30 days of purchase, after 30 days, customers need to initiate the RMA procedure with SilverStone Technology in the USA by first downloading the “USA RMA form for end-users” form from the below link and follow its instructions. http://silverstonetek.com/contactus.php
For Australia only ([email protected])
Our goods come with guarantees that cannot be excluded under the Australian Consumer Law.
You are entitled to a replacement or refund for a major failure and for compensation for any other reasonably foreseeable loss or damage.
You are also entitled to have the goods repaired or replaced if the goods fail to be of acceptable quality and the failure does not amount to a major failure.
Please refer to the above “Warranty terms & conditions” for further warranty details. SilverStone Technology Co., Ltd. 12F No. 168 Jiankang Rd., Zhonghe Dist., New Taipei City 235 Taiwan R.O.C. + 886-2-8228-1238 (standard international call charges apply)
For Europe ([email protected])
For China ([email protected])
For all other regions ([email protected])

| 1. TOP Cover | 6. 2bays-5.25” Drive Cage |
| 2. BOTTOM Chassis | 7. 3bays-3.5” Drive Cage |
| 3. Optional Power Supply | 8. 2bays-3.5”+1bays 2.5” Drive Cage |
| 4. Optional 8cm Fans | 9. FRONT PANEL IO AND INDICATORS |
| 5. Optional 6cm Fans | 10. RACK HANDLES |

| 1. POWER ON SWITCH | 5. HDD ACTIVITY (GREEN) |
| 2. SYSTEM RESET SWITCH | 6. LAN1 LED (GREEN) |
| 3. USB 3.1 Gen1 x 2 ports | 7. LAN2 LED (GREEN) |
| 4. POWER ON LED (BLUE) |
Remove screws from both sides, then remove the top cover

Remove hard drive cage screws, then remove the hard drive cage in the direction of the arrow

Install hard drives into the hard drive cage, then secure with screws

After installing the hard drives, secure the hard drive cage with hard drive cage screws

Install 60 x 25mm fan at the rear

Install 80 x 25mm fans onto the fan bracket in the middle

The fan bracket can be adjusted 20mm left and right once the screws are looseneded

Install motherboard

Remove PSU bracket screws then remove the PSU bracket

Secure PSU to the PSU bracket with screws Netzteil mit Schrauben an

Secure the PSU and the PSU bracket with the PSU bracket screws

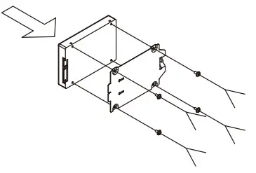
Loosen the screws, then remove the hard drive cage in the direction of the arrow

Install hard drives into the hard drive cage, then secure with screws

After installing the hard drives, secure the hard drive cage with hard drive cage screws

Loosen the screws, then remove the 2.5” drive bracket

Place the 2.5” drive onto the bracket, then secure with screws

Secure the 2.5” drive bracket back with screws

Loosen the screws, then remove the 5.25” drive cage

Loosen the screws, then remove the panel

Place the 5.25” drive into the drive cage, then secure it with screws

Secure the 5.25” drive cage back with screws

Place the top cover back, then secure with screws

SilverStone Technology Co., Ltd.
www.silverstonetek.com
[email protected]
















