Hukoro 6-Light Vintage Kitchen Island Linear Pendant Chandelier Instruction Manual
ASSEMBLY INSTRUCTIONS
CAUTION
- Inspect the wire insulation for any cuts, abrasions, or exposed copper that may have resulted during shipping. If there is a defect in the wire, do not attempt installation.
- Before starting installation of this fixture or removal of a previous fixture, disconnect the power by turning off the circuit breaker or by
removing the fuse at the fuse box.
If you need further assistance, please contact us by Email: [email protected]
TOOLS REQUIRED
- Ladder

- Safety glasses

- Electrical tape

- Phillips screwdriver

- Flat blade screwdriver

- Pliers

- Wire strippers

HARDWARE INCLUDED
- Fixture

- Stems

- Iron Rack A

- Fixture Finial

- Iron Rack B

- Ball Nuts

- Chain

- Ceiling Plate

- Ground Wire

- Lanyards

- Mounting Unit

- Wood Screws

- Wall Anchors

- Mounting Scres

- Wire Nuts

*PARTS SHOWN MAY DIFFER SLIGHTLY PER LIGHT FIXTURE
EXPLODED PARTS
INSTALLATION
STEP 1
- Attach the stems onto fixture.
- Attach the iron rack A onto stems using fixture finial.

STEP 2
Attach the iron rack A onto iron rack B using ball nuts
ASSEMBLY INSTRUCTIONS INSTALLATION
STEP 3
Unscrew the ball nuts and green grounding screw from the mounting unit.
STEP 4
Attach the mounting unit to the junction box (not included) using the mounting screws. Secure mounting unit to ceiling with wood screws and wall anchors.
STEP 5
- Choose the length of the chain you need (Open the chain using a phillips screwdriver (not included) and pliers (not included). )
- Open the quick link. Then attach it to the fixture finial. Close the quick link.

STEP 6
- Weave the fixture wire and the fixture ground wire through the chain and ceiling plate.
- Open the quick link. Then attach it to the ceiling plate. Close the quick link.

STEP 7
- Attach the lanyards on to the mounting unit.
- Make the electrical connection from the junction box (not included) to the fixture. Connect the ground wire to the mounting unit using the preinstalled green ground screw. Next, connect the positive, negative and ground wires with the supplied wire nuts. Secure with electrical tape.


STEP 8
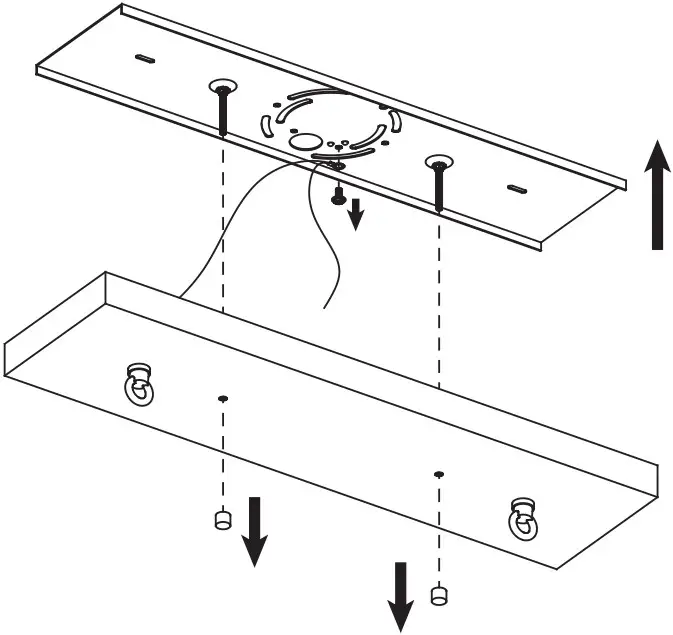
Attach the ceiling plate to the mounting unit through screw holes as shown, and secure it with ball nuts.
STEP 9
Install bulbs (not included).







































