Item Number: Z-R8JRJ3UJ-4764
WARNING (To reduce the risk of fire, electric shock, or personal injury):
- We suggest installation by a licensed electrician.
- Please read the instruction carefully and save it as you may need it at a later time.
- Before you start, NEVER attempt any work without shutting off the electricity until the work is done.
» Go to the main fuse, or circuit breaker, box in your home.
Place the main power switch in the “OFF” position.
» Place the wall switch in the “OFF” position. - Mounting surface should be clean, dry, flat, strong enough and 1/4” larger than the canopy on all sides. Any gaps between the mounting surface and canopy exceeding 3/16” should be corrected as required.
- Make sure that the ceiling or wall can stand the weight of the lamp before installation.
- Make sure the voltage you are using is 120V. The maximum wattage is 40W per bulb.
- Keep the lamp away from acidic and alkaline substances in case of damaging the surface of the lamp.
- When replacing bulbs, you should turn off or unplug the lamp and you must wait until it is cool as bulbs get hot quickly.
- The safety instructions appearing in this manual are not meant to cover all possible conditions that may occur. It must be understood that common sense, caution and care must be used with any electrical products
IMAGE FOR FINISHED PRODUCT:

TOOLS REQUIRED (NOT INCLUDED):
Before starting assembly and installation please prepare the needed tools as below picture


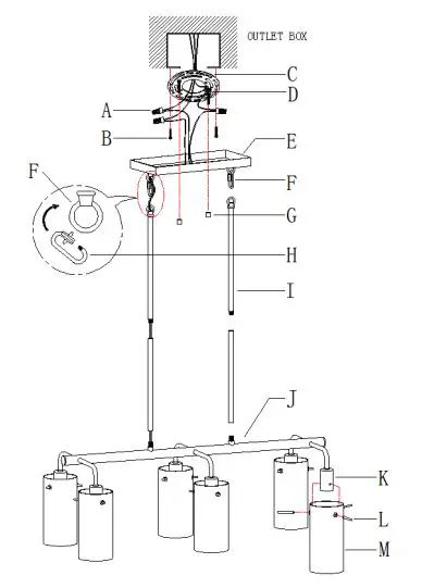
PARTS TYPE & QTY INCLUDING:
(C) Round mounting plate (1)
(D) Green ground screw (1)
(E) Canopy (1)
(F) Loop (4)
(G) Knob nut (2)
(H) Quick link (2)
(I) Stem
(J) Fixture body (1)
(K) Socket (6)
(L) Screw (18)
(M) Glass shade (6)
ACCESSORIES & QTY ENCLOSED:
(A) Plastic wire connector (3)
(B) Mounting screw (2)
(L) Screw (1) Spare parts
ASSEMBLY & INSTALLATION INSTRUCTIONS:
- Carefully remove the fixture from the carton and check that all parts and accessories are included as shown in the above illustration.
- Make pre-installation

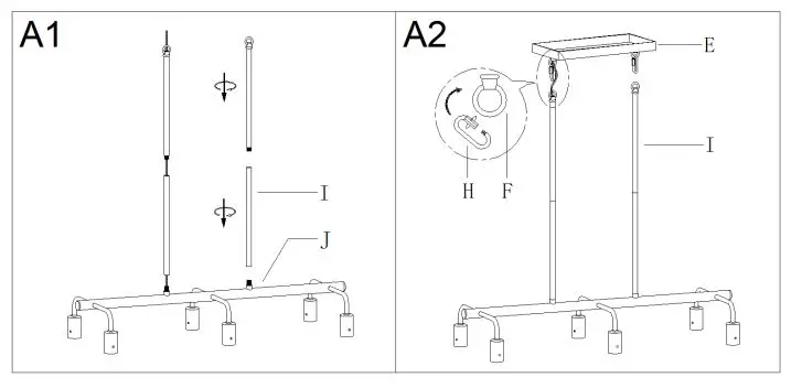
Step A1 »
Choose the needed stems (I), and pass fixture wires through the chosen stems (I), then screw stems (I) together onto the top of fixture body (J).
Step A2 »
Attach quick links (H) to loops (F) on canopy (E) and the top of stems (I).
Carefully pass the fixture wires through loops (F) and canopy (E). Gently pull the wires to ensure the wires are not stressed.
3. Turn off power
Before you start the installation, NEVER attempt any work without shutting off the electricity until the work is done.
- » Go to the main fuse, or circuit breaker, box in your home.
Place the main power switch in the “OFF” position. - » Place the wall switch in the “OFF” position.
4. Make installation

Step B1 »
Unscrew knob nuts (G) from mounting plate (C).
Step B2 »
Attach mounting plate (C) to the outlet box with mounting screws (B).
Step B3 »
If needed, shorten the fixture wires length. At this point, the remaining wire length measured above mounting plate (C) is at least 6″.
Step B4 »
Make wire connections
Connect wires as below wires connection shown. PLEASE NOTE THAT GROUND WIRE IS BARE COPPER WIRE, NEVER CONNECT OTHER WIRES TO GROUND WIRES.
Connect ground wires according to the below chart

Connect wires according to the below chart

| Twist wires together with plastic wire connectors until tightly joined, and wrap each connector with approved electrical tape. Be sure that no wire strands are exposed and then carefully tuck all wires into the outlet box. |
Step B5 »
Raise canopy (E) to the ceiling and secure canopy (E) in place by tightening knob nuts (G) onto preassembled screws on mounting plate (C).
| NOTE: canopy (E) should be snug against the ceiling with knob nuts (G). If not, remove canopy (E), adjust the threaded length of preassembled mounting screws on mounting plate assembly (C): • First, unscrew the preassembled hex nuts. • Then, screw the preassembled mounting screws in or out of mounting plate (C). • When the secure length is achieved, tighten the preassembled hex nuts and back to Step B5. |
Step B6 »
1)Remove screws (L) from sockets (K).
2) Install bulbs (not included) (Please do not exceed the maximum wattage recommended on the socket.)
3) Carefully place glass shades (M) on sockets (K), and secure them with screws (L).
6. Check everything is already installed properly, then you could turn on the light. Enjoy!
ORDERING PARTS
Keep this sheet for future reference in case you need to order replacement parts. All parts for this fixture can be ordered from the place of purchase. Be sure to use exact wording from illustration when ordering parts.
CLEANING
To clean, wipe the fixture with a soft cloth. Clean glass with a mild cleaner (such as mild and nonabrasive soap). Do not use abrasive materials such as scouring pads or powders, steel wool or abrasive paper.

















