
Full Motion Wall Mount for 32″ – 75″ TVs
KAWLM65TLTA
Quick Start Guide
Caution
This product contains small items which can be a choking hazard if swallowed. Keep these items away from young children.
- Make sure these instructions are read and completely understood before attempting installation. If you are unsure of any part of the installation, please contact a professional installer for assistance.
- The wall or mounting surface must be capable of supporting the combined weight of the mount and the display, otherwise, the structure must be reinforced.
- Safety gear and proper tools must be used. A minimum of two people are required for this installation. Failure to use safety gear may result in property damage, injury or death.
- Please ensure children do not play with the mount or the mounted television at any time.
- Please check the mount every two months to ensure that bolts and screws are tight and that the wall behind the mount appears to be in good condition.
This product was designed to be installed on solid concrete walls. Before installing, make sure the wall will support the combined load of the equipment and hardware.
Never exceed the maximum load capacity of 45kg, or it may result in product failure or personal injury.
Note: this product is intended for indoor use only. Use of this product outdoors could lead to product failure or personal injury.

Item Checklist
What’s In the box


Tools required

Mounting
Step 1-A

Step 1-B

Step 2

Step 3 Attaching brackets to Screen

Note: If the TV hole pattern is larger than the TV plate, you are required to use the extension plates to install.

Step 4 Hanging the TV onto the wall plate

- Tighten the screw into the holes of the bottom bracket.
- Tighten or loosen the screw nuts on the head of the wall plate to adjust the timing function.
- Tighten or loosen the M6 screw nuts on the head of the wall plate to kepp level.
Step 5


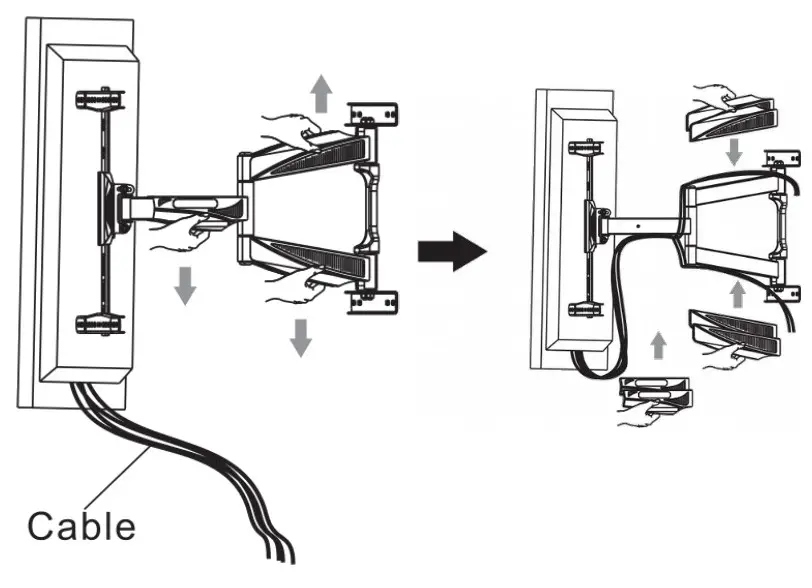
Cable management clip
Cable routing access points
Product Diagram


If you require any additional Information regarding the mount or require assistance in regards to a warranty claim, please contact the Kogan customer support team.














