legrand 4 120 82, 4 120 83 Single Phase Meter

- The instructions for installation and use must be strictly observed in order to avoid the risk of electric shock or fire.
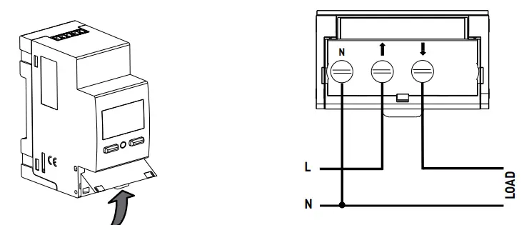
Wiring diagrams


Input/Output

- Positions for lead plating

LEGRAND – Pro and Consumer Service – BP 30076 – 87002 LIMOGES CEDEX FRANCE – www.legrand.com
RS485 wiring diagram

- Prescribed use of Cable Belden 9842, Belden 3106A (or equivalent) for a maximum length of 1000 m or Category 6 cable (FTP or UTP) for a maximum length of 50 m;
- Resistance not furnished with the article 4 120 82 – 4 120 83

- Resistance not furnished with the article 4 120 82 – 4 120 83
Modbus Address
- Complete documentation is available at www.e-catalogue.legrandgroup.com Type “4 120 82 – 4 120 83” in the search field.

Nous LEGRAND FRANCE
declares under our sole responsibility that the product:
marque/trade mark: LEGRAND 4120 82 4120 83
manufactured by: BP 30076 87002 LIMOGES CEDEX FRANCE is in conformity with the relevant Union harmonisation legislation 2014/35/EU of 26-02-2014 (Low Voltage) and 2014/30/EU of 26/02/2014 (Electromagnetic Compatibility) and 2014/32/UE du 26-02-2014 (Mesuring Instrument) and 2011/65/EU of 08/06/2011 modified by 2015/863 of 31/03/2015 (ROHS 2) on condition that it is used in the manner intended and/or in accordance with the current installation standards and/or with the manufacturer’s recommendations.
These provisions are ensured by conformity to the following standards :
EN 50470-1:2006; EN 50470-3:2006;
The product matches the product described in the EU type-examination cetificate N° 0120/SGSO453 issued by the Notified Body 0598
This declaration state that the fulfillment of the essential requirements set out in annexe I and in the relevant instrument-specific annexes has been demonstrated
Marcello RE
Development director of Energy Distribution SBU
- Phone:+ 33 (0)5 55 06 87 87
- Fax:+ 33 (0)5 55 06 88 88





















